|
电液比例压力阀的典型结构及工作原理 |
|||
|
名称 |
典型结构、工作原理及特点 |
||
|
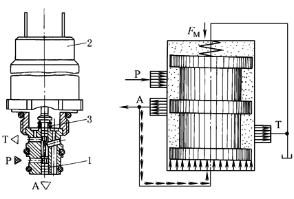
1. 直 动 式 比 例 压 力 阀 |
典型结构:由比例电磁铁和直动式压力阀组成,直动式压力阀结构与普通压力阀的先导阀相似,但其调压弹簧换成为传力弹簧,手动调节螺钉部位换装上比例电磁铁。锥阀芯与阀座间的弹簧主要是防止阀芯的撞击。图示阀体为方向阀式阀体 工作原理及特点:当比例电磁铁输入控制电流时,衔铁推杆输出的推力通过传力弹簧作用在锥阀上,与作用在锥阀上的液压力相平衡,决定了锥阀与阀座之间的开口量。由于开口量变化很微小,因而传力弹簧变形量的变化也很小,若忽略液动力的影响,则可认为在平衡条件下,这种直接控制式比例压力阀所控制的压力,是与比例电磁铁的输出电磁力成正比,因而与输入比例电磁铁的控制电流近似成正比。这是比例压力阀最常用的基本结构,运行可靠 注:1.传力弹簧与比例电磁铁的这种组合,属于表比例电磁铁的基本工作原理和典型结构中表2所列行程控制型比例电磁铁 2.本表序号6所示REXROTH先导比例溢流阀的先导阀,其电磁铁输出推杆与阀芯之间没有传力弹簧,电磁铁属力控制型 |
||
|
2. 电 反 馈 型 直 控 式 比 例 压 力 阀 |
1—壳体;2—比例电磁铁;3—位移传感器;4—阀座; 5—阀芯;6—压力弹簧;7—弹簧座;8—放气螺钉
典型结构:图b带干式位移传感器,阀体为方向阀式阀体,图c带湿式位移传感器。图d为线性比例压力阀,电磁铁将阀座推向锥阀芯,位于锥阀芯背面的弹簧压缩量,决定了作用在锥阀芯上的力,即溢流阀的开启压力。放大器调节电磁铁的电流(电磁铁的力),以使锥阀弹簧被压缩至一个所需的距离。位移传感器构成了弹簧压缩量的闭环控制。由于设置了位移传感器,使得输入电信号与调节压力之间有一个线性关系。图示阀体为方向阀式阀体 工作原理及特点:图b、c为传统电反馈压力阀的结构。给定设定值电压,电控器输出相应控制电流,比例电磁铁推杆将输出与设定值成比例的位移。电磁铁衔铁的位置即弹簧座的位置,由电感式位移传感器检测反馈至电控器,利用反馈电压与设定值电压比较的误差信号,去控制衔铁的位移,即在阀内形成衔铁位置闭环控制。这种带衔铁位置闭环控制的电磁铁组合,属于表比例电磁铁的基本工作原理和典型结构中表2所示位置调节型比例电磁铁。与输入信号成正比的是衔铁位移而与所受反力无关,力的大小在最大吸力之内由负载需要决定。对重复精度、滞环等有较高要求时,采用这种带电反馈的比例压力阀 图d阀具有线性好、滞环小、压力上升及下降时间短以及抗磨损能力强等特点 |
||
|
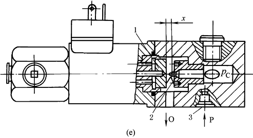
3. 力 马 达 控 制 喷 嘴 挡 板 阀 的 直 控 式 比 例 压 力 阀 |
1—挡板;2—喷嘴;3—节流器 典型结构:力马达采用类似比例电磁铁的结构,挡板直接与力马达衔铁推杆固接,压力油进入喷嘴腔室前经过固定节流器 工作原理及特点:力马达在输入控制电流后通过推杆使挡板产生位移,改变输入力马达电流信号的大小,可以改变挡板和喷嘴之司的距离x,因而能控制喷嘴处的压力pC。这种喷嘴-挡板阀结构与喷嘴-挡板式伺服阀相比,结构简单,加工容易,对污染不太敏感,作为比例阀来说,它的压力-流量特性比较容易控制,线性较好,工作比较可靠,是提高比例阀控制精度和响应速度的一种结构型式 力马达作为比例阀的电-机械转换器,不太常用 |
||
|
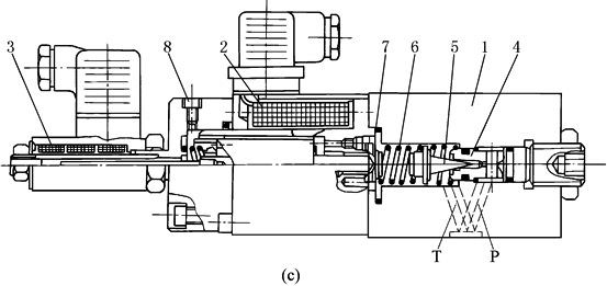
4. 带 手 调 安 全 阀 的 先 导 式 比 例 溢 流 阀 |
1—先导阀体;2—外泄油口;3—比例电磁铁;4—安全阀;5—主阀组件;6—主阀体;7—固定液阻 典型结构:先导控制式比例溢流阀的主阀,采用了带锥度的锥阀结构,并配置了手调限压安全阀。使用上其先导控制回油必须单独无压引回油箱 工作原理及特点:除先导级采用比例压力阀之外,工作原理与一般的先导式溢流阀基本相同。为系统压力间接检测型(与输入控制信号比较的不是希望控制的系统压力,而是经先导液桥的前固定液阻之后的液桥输出压力)。依靠液压半桥的输出对主阀进行控制,从而保持系统压力与输入信号成比例,同时使系统多余流量通过主阀口流回油箱。这种阀的启闭特性一般较系统压力直接检测型差 由于配置了手调安全阀,当电气或液压系统发生意外故障,如过大的电流输入比例电磁铁,液压系统出现尖峰压力时,这种比例溢流阀能保证液压系统的安全。手调安全阀的设定压力一般比比例溢流阀调定的最大工作压力高10%左右 |
||
|
5. 采 用 方 向 阀 阀 体 的 先 导 式 比 例 溢 流 阀 |
典型结构:(1)采用方向阀式阀体;(2)先导阀与主阀在同一轴线上 图示结构中示出了电磁铁上的放气螺钉 工作原理同系统压力间接检测型,由于采用方向阀阀体的结构模式,结构紧凑,适用于中小流量(120L/min以下 |
||
|
6. 电 反 馈 型 先 导 式 比 例 溢 流 阀 |
典型结构:(1)主阀为插装阀结构;(2)先导阀与主阀在同一轴线上,主阀检修方便 工作原理同系统压力间接检测型 |
||
|
7. 力 马 达 喷 嘴 挡 板 先 导 式 比 例 溢 流 阀 |
1—主阀;2—力矩马达;3—挡板;4—喷嘴;5—节流器;6—先导阀 工作原理及特点:将力马达喷嘴挡板直控式比例压力阀作为先导阀,与定值控制溢流阀叠加在一起而成;所保留的手调定值控制先导压力阀,用来调定系统的最高压力当安全阀用,与力马达喷嘴挡板比例控制先导压力阀并联,并都通过主阀阀芯内部回油。当主阀输出压力低于手动调定的最高压力时,可以通过调节先导式比例压力阀的输入控制电流,按比例连续地调节输出压力。当输入控制电流为零时,该阀将起卸荷阀的作用 |
||
|
8. 传 统 先 导 式 两 通 比 例 减 压 阀 |
|
先导阀为直接控制式比例压力阀,主阀为定值减压阀。结构上的重要特点与传统减压阀一样,先导控制油引自主阀的出口 原理上与传统的手调先导减压阀相似。当二次压力侧的输出压力低于比例先导压力阀的调定压力时,主阀下移,阀口开至最大,不起减压作用。当二次压力上升至给定压力时,先导液桥工作,主阀上移,起到定值减压作用。只要进口压力高于允许的最低值,调节输入控制电流,就可按比例连续地调节输出的二次压力 |
|
|
9. 新 型 先 导 式 二 通 比 例 单 向 减 压 阀 |
1—先导阀;2—比例电磁铁;3—主阀;4—主阀芯;5—单向阀;6,7—先导油孔道; 8—先导阀芯;9—先导流量稳定器;10—先导阀座;11—弹簧;12—弹簧腔;13—压力表接口;14—最高压力溢流阀 典型结构:(1)先导油引自主阀的进口;(2)配置先导流量稳定器;(3)削除反向瞬间压力峰值,保护系统安全;(4)带单向阀,允许反向自由流通 工作原理及特点:先导流量稳定器在结构原理上是一个按B型液压半桥工作的定流量阀,主阀进口压力无论如何变化(只要高于允许的最低值),先导流量都能保持不变,从而使主阀的出口压力只与输入信号成比例,不受进口压力变化的影响 在减压阀出口所连接的负载突然停止运动等的情况下,常常会在出口段管路引起瞬时的超高压力,严重时将使系统破坏而酿成事故。这种阀消除反向瞬间压力峰值的机理是:在负载即将停止运动时,先给比例减压阀一个接近于零的低输入信号,停止运动时,主阀芯在下部高压和上部低压作用下快速上移,受压液体产生的瞬时高压油进入主阀弹簧腔而卸向先导阀回油口(配用的单向阀5在瞬间高压时来不及打开) |
||
|
10. 主 阀 口 常 闭 的 先 导 式 两 通 比 例 单 向 减 压 阀 |
1—先导阀;2—比例电磁铁;3—主阀;4—主阀芯;5—单向阀;6,8,11,12,14,15,16—孔道; 7—主阀芯端面;9—先导流量稳定器;10—弹簧腔;13—先导阀座;17—弹簧; 18—堵头;19—控制棱边;20—先导阀芯;21—安全阀;22—精细控制口 典型结构:(1)先导油引自主阀的进口;(2)配置先导流量稳定器;(3)消除反向瞬间压力峰值,保护系统安全;(4)带单向阀,允许反向自由流通;(5)B口无压力油时顺向主阀口常闭,有效抑制启动阶跃效应 工作原理及特点:前4项与序号9减压阀结构相似,最后一项是为了防止油源启动时产生启动冲击。当B口无压力油时,弹簧17使主阀芯组件处于A与B通道之间关闭位置(图示左位)。当B口引来压力油时,压力油通过通道8和先导流量稳定器9,作用在主阀组件的弹簧腔一侧,使主阀组件克服弹簧17的作用力向右移动,从而打开主阀口 |
||
|
11. 直 动 式 三 通 比 例 减 压 阀 |
(m)三通插装式比例减压阀 1—阀芯;2—比例电磁铁;3—回弹弹簧 典型结构:配有P(压力油口)、A(负载油口)、T(通油箱油口)三个工作油口。结构上A→T与P→A之间可以是正遮盖也可以是负遮盖。图示为螺纹插装式结构 工作原理及特点:三通减压阀正向流通(P→A)时为减压阀功能,反向流通(A→T)时为溢流阀功能。三通减压阀的输出压力作用在反馈面积上,与输入作用力进行比较后,可通过自动启闭P→A或A→T口,维持输出压力稳定不变,其特性优于二通减压阀 |
||
|
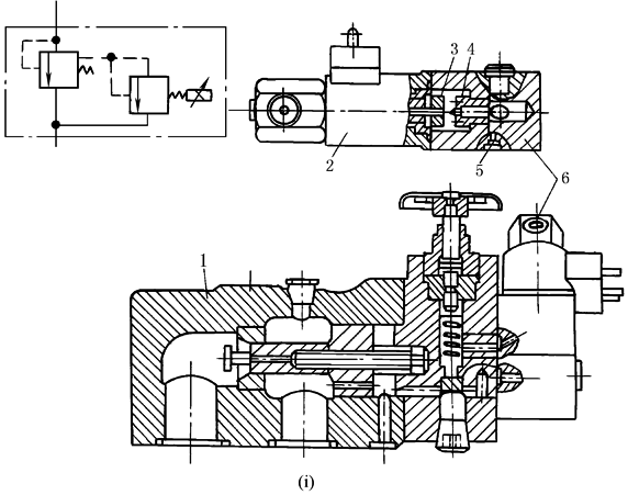
12. 先 导 式 三 通 比 例 减 压 阀 |
(1)主阀采用方向阀体结构模式;(2)先导油引自主阀进口;(3)配置先导流量稳定器;(4)带有手动应急推杆主阀为三通结构,先导控制油引自主阀进口,设置先导流量稳定器,原理与二通减压阀相似 |
||
|
13. 电 反 馈 型 先 导 式 三 通 比 例 减 压 阀 |
(1)主阀采用方向阀体结构模式;(2)先导油引自主阀进口;(3)配置先导流量稳定器;(4)配置位置调节型比例电磁铁 采用电反馈型压力阀为先导阀,滞环、响应时间等稳态和动态特性都优于不带电反馈的三通减压阀 |
||
|
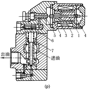
14. 力 马 达 喷 嘴 挡 板 先 导 控 制 式 比 例 减 压 阀 |
1—衔铁;2—线圈;3—推杆(挡板);4—铍青铜片; 5—喷嘴;6—精过滤器;7—主阀 |
力马达喷嘴挡板阀作先导控制阀而定值减压阀作主阀。力马达的衔铁悬挂于左右两片铍青铜弹簧中间,与导套不接触,避免了衔铁-推杆-挡板组件运动时的摩擦力,减小滞环 工作时输入控制电流,则衔铁或挡板产生一个与之成比例的位移,从而改变了喷嘴挡板的可变液阻,控制了喷嘴前腔的压力,进而控制了比例减压阀输出的二次压力 |
|
















