|
比例电磁铁的基本工作原理和典型结构 |
||||||||
|
表1 |
||||||||
|
类型 |
基本结构、工作原理与特性 |
|||||||
|
力 控 制 型 比 例 电 磁 铁 |
基 本 形 式 : 单 向 直 动 式 |
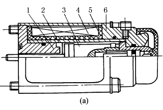
1—轭铁;2—导向套锥端;3—衔铁;4—线圈;5—导向套;6—壳体
(b)耐高压直流比例电磁铁的结构和特性 Ⅰ—吸合区;Ⅱ—工作行程区;Ⅲ—空行程区 1—导套;2—限位片;3—推杆;4—工作气隙;5—非工作气隙;6—衔铁;7—轴承环;8—隔磁环 |
||||||
|
Φ1、Φ2的磁路示意图 行程力特性 (c)比例电磁铁磁路内的气隙磁导和行程力特性
(d)不带位移反馈比例电磁铁位移-力特性 基本结构:图a为单向直动式比例电磁铁,由软磁材料的衔铁、导向套、轭铁、外壳以及励磁线圈和输出推杆等组成。导向套的前后两段之间用非导磁材料焊成整体,形成筒状结构的导向套具有足够的强度,可承受充满其中的油液静压力达35MPa。导套内孔径精加工,与衔铁上用非导磁材料制成的低摩擦支承环,形成轴向移动的低摩擦副。导套前段端部经优化设计成锥形。导套与壳体之间为同心螺线管式控制线圈。导套中的衔铁处于静压平衡状态,衔铁前端装有输出推杆,衔铁后端由弹簧和调节螺钉组成调零机构。衔铁前端与轭铁之间形成工作气隙,衔铁与导套之间的径向间隙为非工作气隙。动铁前后通油孔用于改善动态特性 工作原理及特性(图c):比例电磁铁的输入端为控制线圈,输出端为推杆。当控制线圈输入励磁控制电流后,形成的磁路经由轭铁、导磁壳体、导套、非工作的径向气隙、衔铁,然后分成两路,一路的磁通Φ1由衔铁经工作气隙到轭铁底面,另一路的磁通Φ2由衔铁经气隙、导套锥端到轭铁。磁场的特性是要使磁阻减小,Φ1与Φ2都有减小工作气隙即减小磁阻的作用。Φ1的作用是形成底面力FM1,Φ2的作用是形成锥面力FM2,FM1与FM2的合力FM即为比例电磁铁推杆上的输出力(指力控制型)。输出力FM与输入控制电流I在比例电磁铁的工作行程中是近似成比例的,无级调节其输入控制电流,就可实现其输出力的无级调整。这就是比例电磁铁的电磁作用工作原理。电磁铁分3个区段:用小隔磁环来消除第1区段;第2区段为水平吸力区;第3区段为辅助工作区 |
||||||||
|
双 向 |
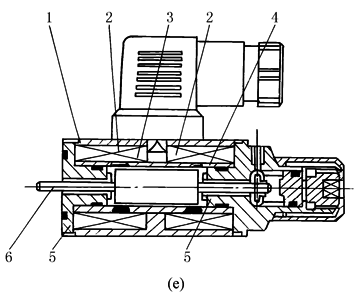
1—壳体;2—线圈(左右);3—导向套; 4—隔磁环;5—轭铁;6—推杆 |
|
||||||
|
基本结构:图e为双向极化式比例电磁铁的结构示意图,采用对称配置两个平底动铁式结构,在壳体中对称安排了两对线圈。由于在其磁路中的初始磁通,避开了磁化曲线起始段的非线性影响,使输出电磁力、输入控制电流特性无零位死区、线性好、滞环小;由于采用平底、锥形盆口、动铁式结构,具有良好的水平吸力特性,其动态响应较快,工作频宽几乎为单向直动式比例电磁铁的一倍,可达100Hz以上。也可作为动铁式力马达控制伺服阀,其稳态特性和动态特性均优于单向直动式比例电磁铁 工作原理及特性(图f):两对线圈中一对为励磁线圈,相互串联,极性相同,由恒流电源供给恒定的励磁电流,形成磁路的初始磁通Φ1、Φ2和Φ3。由于结构及线圈绕组的参数对称相同,左右两端电磁吸力大小相等、方向相反,衔铁处于平衡状态,输出力为零。另一对为控制线圈,极性相反,串联或并联,当输入控制电流时,则产生极性相反、数值相同的控制磁通Φc和Φ'c,它们与初始磁通叠加,使左右两端工作气隙的总磁通分别发生变化,衔铁两端的电磁吸力不等,形成了与控制电流方向和大小相对应的输出力 |
||||||||
|
位 置 调 节 型 比 例 电 磁 铁 |
图i为位置调节型比例电磁铁,配有电感式位移传感器,用以检测阀芯的实际位置,它将与阀芯行程成比例的电压信号反馈至比例放大器,构成位置闭环控制,改善了滞环和非线性,提高了抗干扰能力并抑制了作用在阀芯上液动力的影响。图j为电压-位移特性,呈简单的比例关系。此外,采用衔铁位置反馈控制,对提高比例电磁铁的动态性能也有一定效果 |
|||||||
|
旋 转 电 磁 铁 |
(l)单向旋转电磁铁 (m)双向旋转电磁铁结构原理 1—线圈;2—转子;3—定子
(n)双向旋转电磁铁(端部形状) |
|||||||
|
一般为有限角位移旋转电磁铁,分单向与双向两种。单向电磁铁(图l)的特点是转子、定子分别由三片导磁钢片叠合而成,定子通过销钉与壳体相连;转子通过半月形孔与输出轴相连。机壳、定子、转子和转轴构成磁路。其功能原理是当有电流通过线圈时,转子便向定子对中方向旋转。由于对定、转子齿进行了特殊设计,当转子齿快要与定子齿对中时,仍能保持一定的力矩。但这种电磁铁只能单向旋转,转角-力矩特性曲线的水平段较短 双向旋转电磁铁(图m)的定子、转子左右对称布置,定、转子齿进行了特殊设计,当转子齿快要与定子齿重合时,能保持一定的力矩。当转子转动时,其工作气隙处于变长度和变面积两种情况并存状态。这种旋转电磁铁的转角范围较大(±5°或更大些),转角-力矩曲线水平段较长,并且定子、转子之间的初始位置可以方便地进行调节。这种双向旋转电磁铁能实现双向连续比例控制 |
||||||||
|
表2 基本类型电磁铁的结构、特性、适用情况对照 |
||||||||
|
类型 |
结构 |
输入输出特性 |
使用 |
|||||
|
力控制型 |
力控制型+负载弹簧 |
结构完全相同,只是使用上的区别 |
电流-输出力 |
与输入电流成正比的是输出力,在工作区内与衔铁位移无关,即具有水平吸力特性 |
行程较短,用于先导级 |
|||
|
行程控制型 |
电流-力-位移 |
与输入电流成正比的是负载弹簧转化的输出位移 |
输出行程较大,多用于直控阀 |
|||||
|
位置调节型 |
力控制型+位移传感器 |
增加了衔铁位置小闭环 |
电流-衔铁位置 |
与输入电流成正比的是衔铁位移而与所受反力无关,具体力的大小在最大吸力之内根据负载需要定 |
有衔铁位置反馈闭环,用于控制精度要求较高的直控阀 |
|||











