|
磁性过滤器 |
||||||||||
|
网式磁性过滤器 |
||||||||||
|
|
型号意义:
|
|||||||||
|
CWU-10×100B型过滤器用于精密车床中润滑液的过滤,产品外壳为有机玻璃,为滤除因加工而产生的超细铁屑粉末,滤芯中装有永久磁铁。CWU-A25×60型过滤器用于精密机床中主轴箱等润滑油的过滤,滤芯中装有永久磁铁,滤材为不锈钢丝网,便于清洗。技术参数见下表1 |
||||||||||
|
表1 |
||||||||||
|
型 号 |
压力 /MPa |
流量 /L·min-1 |
过滤精度 /μm |
温度 /℃ |
型 号 |
压力 /MPa |
流量 /L·min-1 |
过滤精度 /μm |
温度 /℃ |
生产厂 |
|
CWU-A25×60 |
1.6 |
25 |
60 |
50±5 |
CWU-10×100B |
0.5 |
10 |
100 |
50±5 |
黎明液压机电厂、无锡液压件厂、远东液压配件厂 |
|
磁性-烧结过滤器 |
|||||||||||||
|
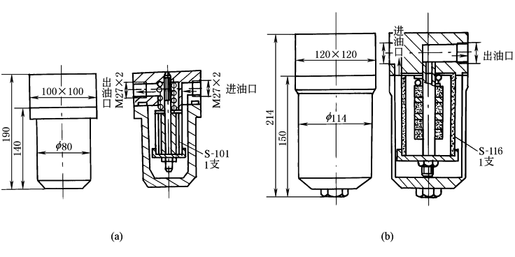
C·SU型磁性-烧结过滤器用烧结青铜滤芯及磁环作为过滤元件与钢壳体组合而成。滤芯是用颗粒粉末经高温烧结而成,利用颗粒间的孔隙过滤油液中的杂质。磁环是用锶铁氧化粉末经高温烧结而成,磁性可达0.08~0.15T。因而,吸附铁屑尤为有效。技术参数见下表2 |
|||||||||||||
|
型号意义:
|
|||||||||||||
|
表2 |
|||||||||||||
|
型 号 |
流量/L·min-1 |
过滤精度/μm |
接口 尺寸 |
安装 磁芯 数量 /支 |
安装 磁环 块数 |
额定 压力 |
压力 损失 |
||||||
|
/MPa |
|||||||||||||
|
C·SU1B-F80×67 |
C·SU1B-F50×36 |
C·SU1B-F40×24 |
80 |
50 |
40 |
67 |
36 |
24 |
M27×2 |
1 |
6 |
20 |
≤0.2 |
|
C·SU1B-F30×16 |
C·SU1B-F20×14 |
C·SU1B-F15×10 |
30 |
20 |
15 |
16 |
14 |
10 |
|||||
|
C·SU1B-F10×8 |
C·SU1B-F5×6 |
|
10 |
5 |
|
8 |
6 |
|
|||||
|
C·SU2B-F100×67 |
C·SU2B-F90×36 |
C·SU2B-F80×24 |
100 |
90 |
80 |
67 |
36 |
24 |
M27×2 |
1 |
6 |
20 |
≤0.2 |
|
C·SU2B-F70×16 |
C·SU2B-F60×14 |
C·SU2B-F50×10 |
70 |
60 |
50 |
16 |
14 |
10 |
|||||
|
C·SU2B-F40×8 |
C·SU2B-F30×6 |
|
40 |
30 |
|
8 |
6 |
|
|||||




