|
重锤式蓄能器设计计算 |
||
|
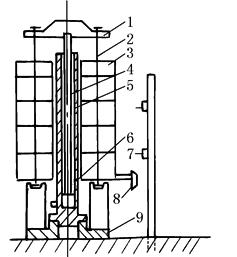
重锤式蓄能器按结构可以分为,缸体作成活动的和柱塞作成活动的两类,后者采用较多。其主要结构如右图所示。为了防止柱塞被顶出液压缸,在柱塞上钻有小孔6,即当柱塞升到一定高度时,缸中液体通过小孔6排出。为使柱塞及圆筒上下滑动时有正确的方向,在圆筒底部安有一组导向滑轮(4个),使其沿着缸上的导轨上下滑动。在底座上装有木制垫桩,当蓄能器下降到最低位置时起缓冲作用,同时圆筒支持在木桩上。圆筒内的重物一般由板坯制造,其密度一般不小于4.5~5.5t/m3 |
1—横梁;2—拉杆;3—重物;4—柱塞;5—液压缸; 6—小孔;7—极限开关;8—碰块;9—底座 |
|
|
项目 |
计 算 公 式 |
说 明 |
|
运 动 方 程 式 |
当柱塞下降时
当柱塞上升时
|
G0 —— 蓄能器运动部分的重量,N p —— 蓄能器中液体的压力,Pa F —— 蓄能器的柱塞面积,m2 K —— 经验系数,当液体用乳化液时K=6~8,用油时K=3.5~4(其中大值用于小直径柱塞) D —— 蓄能器柱塞直径,mm β —— 摩擦因数,一般取β=0.05~0.15 VW —— 蓄能器有效工作容积,L 1.1×10-7 —— 与密封处的摩擦损失系数有关的系数 r —— 缸内半径,mm 计算R的式中,p在设计中一般是按试验压力进行设计,主要考虑到由于冲击而引起的压力升高 [σ] —— 许用应力,N/mm2;对锻钢,一般取110~120N/mm2 p —— 拉杆承受的总拉力,N n —— 拉杆数量 a —— 每根拉杆的截面积,按螺纹的最小内径计算,mm2 |
|
主 要 参 数 计 算 |
(1)柱塞行程S
(2)蓄能器重物重量G1
式中 G2为除重物以外,所有运动部件的总重 (3)钢制缸筒的外半径R
(4)每根拉杆的应力σp
拉杆材料一般为40、35钢,考虑到液压冲击,其许用压力取 [σ]=50N/mm2 |
|

