|
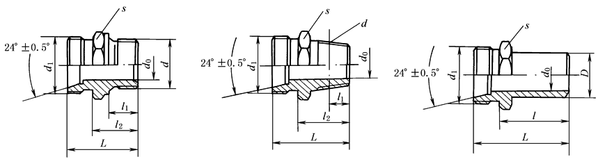
锥密封软管总成 锥接头(摘自JB/T 6144.1~6144.5—2007) |
|||||||||||||||
|
锥密封软管总成适用于油、水介质,与其配套使用的公制细牙螺纹、圆柱管螺纹(G)、锥管螺纹(R)、60°圆锥管螺纹(NPT)和焊接锥接头的结构及尺寸见下表
标记示例 1) 公称通径为DN6,连接螺纹d1=M18×1.5的锥密封软管总成旋入端为公制细牙螺纹的锥接头: 锥接头 6-M18×1.5 JB/T 6144.1—2007 2) 公称通径为DN6,连接螺纹d1=M18×1.5的锥密封软管总成旋入端为G1/8圆柱管螺纹的锥接头: 锥接头 6-M18×1.5(G1/8) JB/T 6144.2—2007 3) 公称通径为DN6,连接螺纹d1=M18×1.5的锥密封软管总成锥旋入端为R1/8 管螺纹的锥接头: 锥接头 6-M18×1.5(R1/8) JB/T 6144.3—2007 4) 公称通径为DN6,连接螺纹d1=M18×1.5的锥密封软管总成旋入端NPT1/860°圆锥管螺纹的锥接头: 锥接头 6-M18×1.5(NPT1/8) JB/T 6144.4—2007 5) 公称通径为DN6,连接螺纹d1=M18×1.5的锥密封软管总成焊接锥接头: 锥接头 6-M18×1.5 JB/T 6144.5—2007 mm |
|||||||||||||||
|
公称 通径 DN |
d |
d1 |
d0 |
D |
s |
l |
l1 |
||||||||
|
JB/T 6144.1 |
JB/T 6144.2 |
JB/T 6144.3 |
JB/T 6144.4 |
JB/T 6144.1 ~6144.2 |
JB/T 6144.3 |
JB/T 6144.4 |
|||||||||
|
4 |
M10×1 |
G1/8 |
R1/8 |
NPT1/8 |
M16×1.5 |
2.5 |
7 |
18 |
28 |
12 |
4 |
4.102 |
|||
|
6 |
M10×1 |
G1/8 |
R1/8 |
NPT1/8 |
M18×1.5 |
3.5 |
8 |
18 |
28 |
12 |
4 |
4.102 |
|||
|
8 |
M10×1 |
G1/8 |
R1/8 |
NPT1/8 |
M20×1.5 |
5 |
10 |
21 |
30 |
12 |
4 |
4.102 |
|||
|
10 |
M14×1.5 |
G¼ |
R¼ |
NPT¼ |
M22×1.5 |
7 |
12 |
24 |
33 |
14 |
6 |
5.786 |
|||
|
10 |
M18×1.5 |
G3/8 |
R3/8 |
NPT3/8 |
M24×1.5 |
8 |
14 |
27 |
36 |
14 |
6.4 |
6.096 |
|||
|
15 |
M22×1.5 |
G½ |
R½ |
NPT½ |
M30×2 |
10 |
16 |
30 |
42 |
16 |
8.2 |
8.128 |
|||
|
20 |
M27×2 |
G¾ |
R¾ |
NPT¾ |
M33×2 |
13 |
20 |
36 |
48 |
18 |
9.5 |
8.611 |
|||
|
20 |
M27×2 |
G¾ |
R¾ |
NPT¾ |
M36×2 |
17 |
25 |
41 |
52 |
18 |
9.5 |
8.611 |
|||
|
25 |
M33×2 |
G1 |
R1 |
NPT1 |
M42×2 |
19 |
30 |
46 |
54 |
20 |
10.4 |
10.160 |
|||
|
32 |
M42×2 |
G1¼ |
R1¼ |
NPT1¼ |
M52×2 |
24 |
36 |
55 |
56 |
22 |
12.7 |
10.668 |
|||
|
40 |
M48×2 |
G1½ |
R1½ |
NPT1½ |
M56×2 |
30 |
42 |
60 |
58 |
24 |
12.7 |
10.668 |
|||
|
50 |
M60×2 |
G2 |
R2 |
NPT2 |
M64×2 |
40 |
53 |
75 |
64 |
26 |
15.9 |
11.074 |
|||
|
公称 通径 DN |
l2 |
L |
质量/kg |
||||||
|
JB/T 6144.1 ~6144.2 |
JB/T 6144.3 |
JB/T 6144.4 |
JB/T 6144.1 ~6144.2 |
JB/T 6144.3 |
JB/T 6144.4 |
JB/T 6144.5 |
JB/T 6144.1~ 6144.4 |
JB/T 6144.5 |
|
|
4 |
20 |
17 |
17 |
32 |
29 |
29 |
40 |
0.03 |
0.03 |
|
6 |
20 |
17 |
17 |
32 |
29 |
29 |
40 |
0.04 |
0.04 |
|
8 |
20 |
18 |
18 |
32 |
30 |
30 |
42 |
0.06 |
0.05 |
|
10 |
22 |
22 |
22 |
34 |
34 |
34 |
45 |
0.08 |
0.06 |
|
10 |
24 |
24 |
24 |
38 |
38 |
38 |
49 |
0.10 |
0.07 |
|
15 |
28 |
27 |
27 |
44 |
43 |
43 |
58 |
0.14 |
0.10 |
|
20 |
32 |
28 |
28 |
50 |
46 |
46 |
65 |
0.32 |
0.22 |
|
20 |
34 |
38 |
38 |
52 |
56 |
56 |
70 |
0.56 |
0.45 |
|
25 |
38 |
39 |
39 |
58 |
59 |
59 |
74 |
0.71 |
0.60 |
|
32 |
42 |
44 |
44 |
64 |
66 |
66 |
78 |
0.78 |
0.78 |
|
40 |
46 |
46 |
46 |
68 |
68 |
68 |
80 |
0.96 |
0.92 |
|
50 |
52 |
53 |
49 |
76 |
77 |
73 |
88 |
1.14 |
1.25 |
|
注:旋入机体端为公制细牙螺纹和圆柱管螺纹(G)者推荐采用组合垫圈(JB/T 982)。 |
|||||||||

