|
结构及工作原理 |
|
|
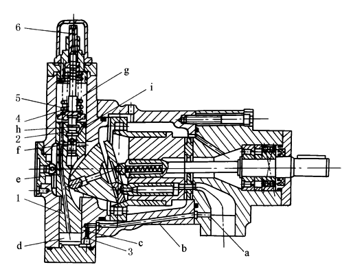
※CY14-1B型轴向柱塞泵由主体部分和变量机构两大部分组成。四种变量操纵型式的轴向柱塞泵的主体部分是相同的,仅变量机构不同 ① 伺服变量采用泵本身输出的高压油控制变量机构,可以用手动或机械等方式操纵伺服机构,以达到变量的目的。其倾斜盘可以倾斜±γ。泵的输出油流可换向 ② 压力补偿变量采用双弹簧控制泵的流量和压力特性,使两者近似地按恒功率关系变化 ③ 手动变量采用手轮调节泵的流量,泵的输出油流不可换向 ④ 定量倾斜盘固定,没有变量机构 这里着重介绍压力补偿变量泵的工作原理,如下图1所示。从泵打出的高压油由通道a、b、c,再经单向阀3进入变量机构的下腔d,并由此经通道e分别进入通道f、h。当弹簧4、5的向下推力大于由通道f进入控制差动活塞2下端的压力油所产生的向上推力时,h通道打开,则高压油经h通道进入上腔g,推动变量差动活塞1向下运动,使得γ增大,泵的输出流量增加。当泵的压力升高,使得控制差动活塞2下端的向上推力大于弹簧4、5的向下推力时,则控制差动活塞向上运动,h通道关闭,使g腔的油经通道i 卸压,变量差动活塞1向上运动,倾斜角γ减小,泵的输出流量减小
图1 YCY14-1B型压力补偿变量轴向柱塞泵工作原理
图2的阴影线部分是压力补偿泵的特性调节范围。 |
|
|
图2 YCY14-1B型压力补偿变量泵特性调节范围 |
图3 配油盘安装图 |
|
油泵推荐采用粘度为3~6°E的液压油或透平油,正常工作油温为20~60℃。为了保持油液清洁,在油箱里的吸、排油管的隔挡之间须装100~200目的滤油网。最好在液压系统中装有磁性滤油器或其他滤油器 油泵具有自吸能力,可以安装在油箱上面,吸油高度小于500mm。但禁止在吸油管道上安装滤油器。为防止吸真空,也可以采用压力补油。本泵也适合于安装在油箱里面 泵和电动机之间用弹性联轴器相连接,两轴应力求同心;严禁用皮带轮或齿轮直接装在泵的传动轴上;泵和电动机的公共基础或底座应具有足够的刚度 如果需要改变油泵出厂时的旋转方向或作油马达使用时,须特别注意泵中配油盘的安装,如图3所示 ① 泵若按箭头1'或2'的方向旋转(面对泵伸出的轴端看,以下同),则定位销必须插在对应的销孔1或2内 ② 如果把泵作为油马达使用时,则定位销永远插在销孔3'内 泵在启动前必须通过回油口向泵体内灌满洁净的工作油液 本系列轴向柱塞泵是一种靠倾斜盘变量的高压泵。采用配油盘配油、缸体旋转、滑靴和变量之间、配油盘和缸体之间采用了液压静力平衡结构,具有结构简单、体积小、重量轻、效率高、自吸能力强等特点。适用于机床、锻压、冶金、工程机械、矿山机械和船舶等液压传动系统中。本系列轴向柱塞泵技术特性见表技术参数 型号意义:
|
|




