|
端梁的结构设计 |
|
当机架有两个纵梁时,需要用横梁或端梁将两个纵梁连在一起,构成一个完整的框架,以限制其变形,降低其应力或为总成提供悬置点。例如双梁桥式起重机的桥架由两根主梁和位于跨度两边的各一根端梁组成。图1为几种汽车的横梁断面和连接形式,可供参考。其中最后一个图无扭转刚度较大的箱形纵梁与管形横梁相焊接的形式。选定横梁时应注意其特点:直的或弯度不大的槽形断面梁,沿腹板方向弯曲刚度较大,且较易冲压成型。直的或大弯度帽形断面梁可用矩形坯料直接压制,连接宽度较大。当空间受到限制时,采用厚板可得到较大的弯曲刚度。封闭断面梁、X形梁、K形梁的扭转刚度很大,对限制车架扭转变形作用较好
图1 汽车横梁断面和连接形式 纵横梁连接(节点)处,一般应力较高,应注意横梁连接方式的选择。当横梁同纵梁翼缘连接时,可以提高纵梁的扭转刚度,但当车架扭转时纵梁应力往往较大。一般车架两端的横梁多用这种连接方式。横梁同纵梁腹板相连时则相反。腹板翼缘综合连接则兼有两者的特征。后两种连接方式适应性强 横梁与纵梁连接时多用铆接。螺栓连接装配不便,且较易松动。采用电弧焊接或点焊时,可以减少纵横梁的孔数。采用塞焊,则较易实现装配自动化 起重机的端梁截面则常为箱形。其高度h0根据主梁的高度h选取,常为h0=(0.4~0.6)h,其宽度b0=(0.5~0.8)h0,见图2。端梁常用压弯成型的钢板焊成的箱形梁或型钢焊成的组合断面梁。与汽车机架不同,为便于运输和存放,常将主梁与端梁的连接做成螺栓连接,也可做成焊接结构,见图3。梁与梁的T形连接形式见图4
图2 起重机端梁箱形截面
图3 电动单梁起重机主梁与端梁的连接形式 (a),(b)焊接;(c)~(f)螺栓连接
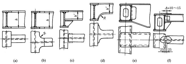
图4 梁与梁的T形连接 |




