|
GG系列钢丝绳隔振器安装方式 |
|||
|
示意图 |
说明 |
示意图 |
说明 |
|
1.垂向压缩支承
|
基础支承 常用安装方式,中心较高,常用于高宽比很小的情况下。当高宽比较大时,或者当干扰幅值较大时,容易产生倾覆力矩,建议采用稳定用隔振器附加支承(见示意图2) |
6.侧向悬挂
|
侧悬挂支承 可实现隔振系统较低的峰值响应频率。应注意安装的力学对称性 |
|
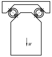
2.垂向压缩支承
|
基础支承 一般在设备侧顶部增装稳定用隔振器。稳定性好。当高宽比大于1时常用此安装方式 |
7.壁挂式支承
|
常用壁挂式安装方式尽量少采用 |
|
3.45°压缩支承
|
45°基础支承 其优点是系统在图示平面内于水平、垂直两方向上具有基本相同的动态特性。系统兼顾优良的隔振、缓(抗)冲性能,稳定性好。旋转机械常用安装形式 |
8.壁挂式支承
|
常用壁挂式安装方式 |
|
4.壁挂式支承
|
常用壁挂式安装方式 |
9.顶悬吊
|
吊装 隔振元件呈拉伸变形状态,稳定性较好,但承载能力不大。尽量不要单独采用这种形式 |
|
5.侧向悬挂
|
侧悬挂支承 可实现隔振系统较低的峰值响应频率。应注意安装的力学对称性 |
10.顶悬吊
|
45°吊装 隔振元件呈拉伸变形状态,稳定性较好,有一定承载能力。尽量少单独采用这种形式 |









