|
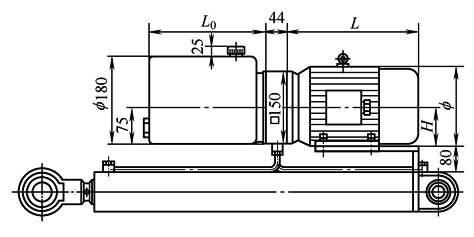
电机技术参数 |
||||||||||||
|
mm |
||||||||||||
|
电机功率/kW |
0.55 |
0.75 |
1.1 |
1.5 |
2.0 |
2.2 |
3.0 |
4.0 |
5.5 |
7.5 |
11 |
15 |
|
f |
175 |
175 |
195 |
195 |
195 |
215 |
215 |
240 |
275 |
275 |
335 |
335 |
|
H |
80 |
80 |
90 |
90 |
90 |
100 |
100 |
112 |
132 |
132 |
160 |
160 |
|
L |
275 |
275 |
280 |
305 |
320 |
370 |
370 |
380 |
475 |
515 |
605 |
650 |
|
注:L0=0.00005d2S,式中:L0为油箱长度,mm;d为活塞杆直径,mm;S为行程,mm。L0最小值为220,每个档次+100,依次分别为220,320,420,520……。 |
||||||||||||

