|
概述 |
|
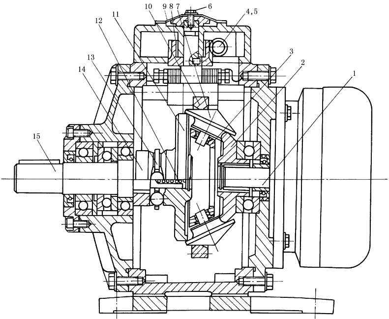
如下图所示,一组沿主动锥轮2圆周均布的行星锥轮7置于保持架3(相当于转臂)中。自动加压装置13、14使行星锥轮7分别与主动锥轮2、从动锥轮11压紧,行星锥轮7的锥体与不转动的外环10压紧。输入轴1上的主动锥轮2旋转时,行星锥轮7自转并沿外环10的内圈公转,驱动从动锥轮11转动,最后经自动加压装置13、14将动力传至输出轴15。通过调速机构改变外环10的轴向位置,以改变行星锥轮7的工作半径,达到调速的目的
图 环锥行星无级变速器 1—输入轴;2—主动锥轮;3—保持架;4,5,6,8—调速机构;7—行星锥轮;9—转速显示盘; 10—外环;11—从动锥轮;12—预压弹簧;13,14—加压装置;15—输出轴 变速器在主、从动侧采用了凸、凹和凸、平接触的结构,增大了当量曲率半径,提高了承载能力。这种型式的变速器具有变速范围广、恒功率、传动平稳、噪声低、过载保护性强的特点,常用于食品、印染、塑料、皮革印刷等行业以及各种自动生产流水线上 |

