|
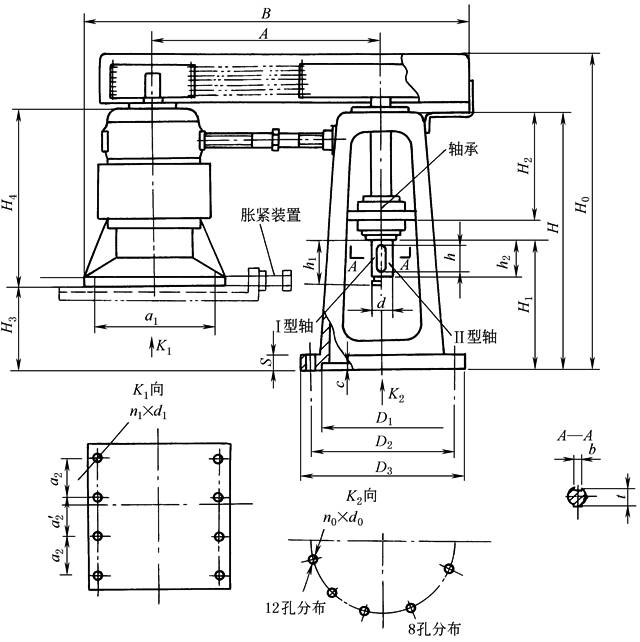
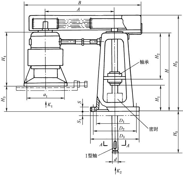
外形、安装尺寸 |
|||||||||||||||||||||||
|
a型(用于釜外连接搅拌轴)
b型(用于釜内连接搅拌轴) 标记示例
|
|||||||||||||||||||||||
|
YP型减速器外形尺寸 mm |
|||||||||||||||||||||||
|
减速机 型号 |
外形及安装尺寸 |
a型尺寸 |
b型尺寸 |
||||||||||||||||||||
|
B |
H2 |
H4 |
D1(H9) |
D2 |
D3 |
n0×d0 |
S |
c |
a1 |
a2 |
a'2 |
n1×d1 |
H0 |
H |
H1 |
H3 |
H0 |
H |
H1 |
H3 |
H5 |
S1 |
|
|
YPV7-65 |
2815/2402 2402/2250 |
640 |
1199 |
730 |
830 |
900 |
8×f 27 |
40 |
6 |
900 |
300 |
300 |
8×f 27 |
1836 |
1530 |
709 |
320 |
1550 |
1150 |
320 |
0 |
700 |
35 |
|
YPV7-75 |
2815/2402 2402/2250 |
640 |
1199 |
840 |
940 |
1010 |
8×f 30 |
50 |
8 |
900 |
300 |
300 |
8×f 27 |
1866 |
1530 |
709 |
320 |
1550 |
1150 |
320 |
0 |
700 |
40 |
|
YPV8-95 |
3098/2576 2576/2570 |
750 |
1199 |
840 |
940 |
1010 |
8×f 30 |
50 |
8 |
900 |
300 |
300 |
8×f 27 |
2075 |
1680 |
798 |
524 |
1580 |
1182 |
300 |
26 |
800 |
40 |
|
YPV8-115 YPV8-130 |
3422/2570 2570/2571 3422/2570 2570/2571 |
870 |
1299 |
970 |
1080 |
1150 |
2×f 30 |
50 |
8 |
900 |
300 |
300 |
8×f 27 |
2306 |
1950 |
860 |
690 |
1650 |
1288 |
300 |
28 |
800 |
45 |
|
YPV10-130 YPV10-155 YPV10-200 |
3472/2620 2620/2571 3472/2724 2724/2810 3823/3805 3805/3896 |
1300 |
1360 |
1200 |
1330 |
1410 |
12×f 30 |
50 |
10 |
1000 |
340 |
320 |
8×f 27 |
2920 |
2500 |
990 |
1280 |
2170 |
1750 |
240 |
530 |
800 |
50 |
|
YPV11-250 YPV11-280 |
4006/3522 3522/3842 4006/3540 3540/3510 |
1300 |
1740 |
1300 |
1500 |
1600 |
12×f 34 |
60 |
10 |
1310 |
400 |
400 |
8×f 28 |
2940 |
2500 |
1020 |
850 |
2200 |
1750 |
240 |
100 |
800 |
60 |
|
YPV12-320 YPV12-380 |
4006/3582 3582/3650 4006/3582 3582/3650 |
1300 |
1725 |
1300 |
1500 |
1600 |
12×f 34 |
60 |
10 |
1310 |
400 |
400 |
8×f 28 |
2940 |
2500 |
1020 |
850 |
2200 |
1750 |
240 |
100 |
800 |
60 |
|
注:1.减速器选用高强力V带或窄V带,承载能力比普通带高50%以上。 2.YP型减速器主要用于医药、生物工程发酵罐上的搅拌装置。 3.减速器采用YJL型立式三相异步电机,一般为380V、50Hz,特殊要求需另行说明。 4.中心距A、输出轴直径d及键槽尺寸见表承载能力。 5.a型减速器输出轴轴头有Ⅰ、Ⅱ型结构,b型减速器一般只有Ⅰ型轴头。Ⅰ型轴头配用JQ型联轴器(表JQ型夹壳联轴器),但b型减速器的联轴器材料需满足工艺介质要求。Ⅱ型轴头配SF型联轴器(表SF型三分式联轴器)。 |



