|
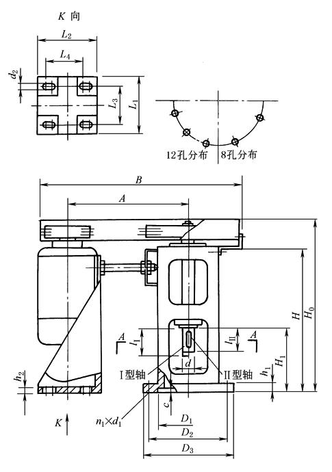
外形、安装尺寸 |
||||||||||||||||||||||
|
标记示例:
注:①见表承载能力 mm |
||||||||||||||||||||||
|
机型 号 |
轴出轴 直径d |
中心 距 A |
传动 比 i |
外形及安装尺寸 |
||||||||||||||||||
|
B |
D1 |
D2 |
D3 |
n1×d1 |
L1 |
L2 |
L3 |
L4 |
d2 |
c |
h1 |
h2 |
lⅠ |
lⅡ |
降低型/标准型/增高型 |
|||||||
|
H0 |
H |
H1 |
质量 /kg |
|||||||||||||||||||
|
FPV5 |
65h6 |
749 |
5.4 |
1380 |
325 H8 |
400 |
435 |
8× f 18 |
500 |
460 |
370 |
250 |
27 |
6 |
22 |
24 |
130 |
95 |
1080/ 1180/ 1280 |
850/ 950/ 1050 |
350/ 450/ 550 |
850/ 900/ 950 |
|
740 |
5 |
|||||||||||||||||||||
|
728 |
4.5 |
|||||||||||||||||||||
|
556 |
4 |
1100 |
||||||||||||||||||||
|
540 |
3.7 |
|||||||||||||||||||||
|
516 |
3 |
|||||||||||||||||||||
|
488 |
2.5 |
|||||||||||||||||||||
|
FPV6 |
80h6 |
1015 |
5.4 |
1850 |
430 H8 |
510 |
555 |
12× f 23 |
580 |
610 |
500 |
500 |
33 |
8 |
35 |
35 |
150 |
120 |
1284/ 1384/ 1484 |
1000/ 1100/ 1200 |
375/ 475/ 575 |
1220/ 1300/ 1390 |
|
1005 |
5 |
|||||||||||||||||||||
|
918 |
4.5 |
1670 |
||||||||||||||||||||
|
766 |
4 |
1530 |
||||||||||||||||||||
|
760 |
3.7 |
|||||||||||||||||||||
|
710 |
3 |
|||||||||||||||||||||
|
660 |
2.5 |
1500 |
||||||||||||||||||||
|
FPV7 |
95h6 |
1352 |
5.4 |
2400 |
560 H8 |
650 |
700 |
12× f 27 |
800 |
800 |
520 |
520 |
33 |
11 |
40 |
36 |
170 |
165 |
1680/ 1780/ 1880 |
1300/ 1400/ 1500 |
500/ 600/ 700 |
2060/ 2260/ 2500 |
|
1336 |
5 |
|||||||||||||||||||||
|
1062 |
4.5 |
2020 |
||||||||||||||||||||
|
965 |
4 |
1840 |
||||||||||||||||||||
|
950 |
3.7 |
|||||||||||||||||||||
|
900 |
3 |
|||||||||||||||||||||
|
865 |
2.5 |
1825 |
||||||||||||||||||||
|
注:1.高强力V带或窄V带承载能力比普通带高50%以上。 2.输出轴可正、反两方向旋转。 3.机座高度有降低型、标准型和增高型三种,根据密封和联轴器高度进行选择。 |
||||||||||||||||||||||


