|
常用减速器的分类、型式及其应用范围 |
|||||
|
类别 |
级数 |
传动简图 |
推荐传动比范围 |
特 点 及 应 用 |
|
|
圆 柱 齿 轮 减 速 器 |
单
级 |
|
调质齿轮i≤7.1 淬硬齿轮i≤6.3 (较好i≤5.6) |
轮齿可制成直齿、斜齿和人字齿。传动轴线平行。结构简单,精度容易保证。应用较广。直齿一般用在圆周速度υ≤8m/s、轻载荷场合;斜齿、人字齿用在圆周速度υ=25~50m/s、重载荷场合,也用于重载低速 |
|
|
两
级 |
展 开 式 |
|
调质齿轮i=7.1~50 淬硬齿轮i=7.1~31.5 (较好i=6.3~20) |
是两级减速器中最简单的一种。齿轮相对于轴承位置不对称,当轴产生弯曲变形时,载荷在齿宽上分布不均匀,因此,轴应设计得具有较大的刚度,并尽量使高速级齿轮远离输入端。高速级可制成斜齿,低速级可制成直齿。相对于分流式讲,用于载荷较平稳的场合 |
|
|
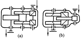
分 流 式 |
|
i=7.1~50 |
与展开式相比,齿轮与轴承对称布置,因此载荷沿齿宽分布均匀,轴承受载也平均分配,中间轴危险截面上的转矩相当于轴所传递转矩之半 图a高速级采用人字齿,低速级可制成人字齿或直齿。结构较复杂,用于变载荷场合 图b高速级采用人字齿,低速级采用两对斜齿,但转矩较大的低速级其载荷分布不如图a的均匀,因此不宜在变载荷下工作。使用不多 |
||
|
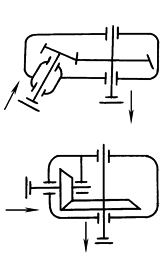
同 轴 式 |
|
调质齿轮i=7.1~50 淬硬齿轮i=7.1~31.5 |
箱体长度较小,当速比分配适当时,两对齿轮浸入油中深度大致相同。减速器轴向尺寸和重量较大,高速级齿轮的承载能力难于充分利用。中间轴承润滑困难。中间轴较长,刚性差,载荷沿齿宽分布不均匀。由于两伸出轴在同一轴线上,在很多场合能使设备布置更为方便 |
||
|
同 轴 分 流 式 |
|
i=7.1~50 |
啮合轮齿仅传递全部载荷的一半,输入和输出轴只受转矩。中间轴只受全部载荷的一半,故与传递同样功率的其他减速器相比,轴径尺寸可缩小 |
||
|
三 级 |
展 开 式 |
|
调质齿轮i=28~315 淬硬齿轮i=28~180 (较好i=22.5~100) |
同两级展开式 |
|
|
分 流 式 |
|
i=28~315 |
同两级分流式 |
||
|
圆 锥 、 圆 锥 ∣ 圆 柱 齿 轮 减 速 器 |
单 级 |
|
直齿轮 i≤5 曲线齿轮、斜齿轮 i≤8 (淬硬齿轮 i≤5较好) |
轮齿可制成直齿、斜齿、螺旋齿。两轴线垂直相交或成一定角度相交。制造安装较复杂,成本高,所以仅在设备布置上必要时才应用 |
|
|
两 级 |
|
直齿轮 i=6.3~31.5 曲线齿轮、斜齿轮 i=8~40 (淬硬齿轮 i=5~16较好) |
圆锥-圆柱齿轮减速器特点同单级圆锥齿轮减速器。圆锥齿轮应在高速级,使齿轮尺寸不宜太大,否则加工困难。圆柱齿轮可制成直齿或斜齿 |
||
|
三 级 |
|
i=35.5~160 (淬硬齿轮 i=18~90较好) |
同两级圆锥-圆柱齿轮减速器 |
||
|
蜗 杆 、 齿 轮 ∣ 蜗 杆 减 速 器 |
单 级 |
蜗 杆 下 置 式 |
|
i=8~80传递功率较大时i≤30 |
蜗杆在蜗轮下边,啮合处冷却和润滑都较好,蜗杆轴承润滑也方便,但当蜗杆圆周速度太大时,搅油损耗较大。一般用于蜗杆圆周速度υ<5m/s |
|
蜗 杆 上 置 式 |
|
蜗杆在蜗轮上边,装卸方便,蜗杆圆周速度可高些,而且金属屑等杂物掉入啮合处机会少。当蜗杆圆周速度υ>4~5m/s时,最好采用此型式 |
|||
|
蜗 杆 侧 置 式 |
|
蜗杆在旁边,且蜗轮轴是垂直的,一般用于水平旋转机构的传动(如旋转起重机) |
|||
|
两 级 |
蜗 杆 - 蜗 杆 |
|
i=43~3600 |
传动比大,结构紧凑,但效率较低。为使高速级和低速级传动浸入油中深度大致相等,应使高速级中心距aⅠ约为低速级中心距aⅡ的1/2左右 |
|
|
齿 轮 - 蜗 杆 |
|
i=15~480 |
有齿轮传动在高速级和蜗轮传动在高速级两种型式。前者结构紧凑,后者效率较高 |
||
|
行 星 齿 轮 减 速 器 |
单级 |
|
i=2~12 |
传动效率可以很高,单级达96%~99%;传动比范围广;传动功率从12W至50000kW;承载能力大;工作平稳;体积和重量比普通齿轮、蜗杆减速器小得多。结构较复杂,制造精度较高,广泛用于要求结构紧凑的动力传动中 |
|
|
两级 |
|
i=25~2500 |
|||
|
三级 |
|
i=100~1000 |
|||
|
摆 线 针 轮 减 速 器 |
单级 |
|
i=11~87 |
传动比大;传动效率较高;结构紧凑,相对体积小,重量轻;通用于中、小功率,适用性广,运转平稳,噪声低。结构复杂,制造精度较高,广泛用于动力传动中 |
|
|
两级 |
|
i=121~7569 |
|||
|
谐 波 齿 轮 减 速 器 |
单级 |
|
i=50~500 刚轮固定 |
传动比大,范围宽;在相同条件下可比一般齿轮减速器的元件少一半,体积和重量可减少20%~50%;承载能力大;运动精度高;可采用调整波发生器达到无侧隙啮合;运转平稳,噪声低;可通过密封壁传递运动;传动效率高且传动比大时,效率并不显著下降。主要零件柔轮的制造工艺较复杂。主要用于小功率、大传动比或仪表及控制系统中 |
|
|
|
i=50~500 柔轮固定 |
||||
|
三 环 减 速 器 |
单级 或组 合多 级 |
|
单级i=11~99 两级imax=9801 |
结构紧凑、体积小、重量轻;传动比大;效率高,单级为92%~98%;噪声低,过载能力强;承载能力高,输出转矩高达400kN·m;不用输出机构,轴承直径不受空间限制,使用寿命长;零件种类少,齿轮精度要求不高,无特殊材料且不采用特殊加工方法就能制造,造价低、适应性广、派生系列多 |
|























