|
AGMA PT塑料齿轮基本齿条齿廓 |
||||||
|
适用范围 |
“塑料齿轮齿形尺寸”ANSI/AGMA 1106-A97(Tooth Proportions for Plastic Gears)推出的AGMA PT(PT为Plastic Gearing Toothform的缩写)为适应动力传动(简称动力型)塑料齿轮设计的基本齿条 |
|||||
|
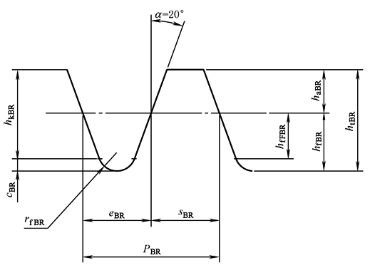
AGMA PT 基本齿 条齿廓 |
|
cBR——顶隙 hfFBR——齿根直线段齿廓高 rfBR——齿根圆弧半径 eBR——齿槽宽 hkBR——工作齿高 sBR——齿厚 haBR——齿顶高 htBR——全齿高 α——齿形角 hfBR——齿根高 PBR——齿距 |
||||
|
AGMA 标准基本齿 条几何参数 |
图中标注出了齿廓的全部参数。这些尺寸参数的值列于下表,同时还列出AGMA细齿距标准和ISO粗齿距(多数为粗齿距)标准的规定值,以资比较。表中所有数据全部以单位模数(m=1mm)为基准。将表中数据乘以所要设计齿轮的模数即可求得该齿轮齿形的尺寸参数。AGMA PT基本齿条所定义的参数代号与国标有所不同,本章在介绍按AGMA PT基本齿条设计计算齿轮几何参数时,仍将沿用该标准所采用的参数代号不变 |
|||||
|
基本齿形参数 |
AGMA PT |
ANSI/AGMA 1003-G93 细齿距 |
ISO53(1974) 粗齿距 |
说 明 |
||
|
齿形角α① |
20° |
20° |
20° |
① 即直齿轮分度圆压力角或斜齿轮分度圆法向压力角 ② 表中数据乘以齿轮模数之后,再加上括号内的数值 ③ ANSI/AGMA 1003-G93标准中写明零齿根圆角半径意味着滚刀齿顶圆角为尖角。在实际处理上,将此顶角视为最小半径圆角 ④ hfFBR为齿根直线段齿廓与齿根圆弧相切点至齿条节线的距离 |
||
|
齿距PBR |
3.14159 |
3.14159 |
3.14159 |
|||
|
齿厚sBR |
1.57080 |
1.57080 |
1.57080 |
|||
|
齿顶高haBR |
1.00000 |
1.00000 |
1.00000 |
|||
|
全齿高htBR |
2.33000 |
2.20000(+0.05000)② |
2.25000 |
|||
|
齿根圆弧半径rfBR |
0.43032 |
0.00000③ |
0.38000 |
|||
|
齿根高hfBR |
1.33000 |
1.20000(+0.05000)② |
1.25000 |
|||
|
工作齿高hkBR |
2.00000 |
2.00000 |
2.00000 |
|||
|
顶隙cBR |
0.33000 |
0.20000(+0.05000)② |
0.25000 |
|||
|
齿根直线段齿廓高 hfFBR④ |
1.04686 |
1.2000(+0.05000)③ |
1.05261 |
|||
|
齿槽宽eBR |
1.57080 |
1.57080 |
1.57080 |
|||
|
比较 |
比较表中三种基本齿条几何参数,最大差别是AGMA PT的齿根圆角半径的增大,其值相当于齿根全圆弧半径。同时也是保证齿根直线段高度hfFKB≥1.1m的最大可能圆角半径。这样便保证了AGMA PT与其他AGMA基本齿条的兼容性。有关AGMA PT的齿廓修形以及几种试验性基本齿条的设计计算等,还将在本章另作详细介绍 |
|||||
|
AGMA PT 基本齿条 是基于塑 料齿轮的 右列特性 而制定的 |
1) 采取模塑成型方法制造齿轮,所要受到的实际限制与采用切削加工方法制造齿轮有所不同,每种模具都具有它自身的“非标准”属性。模具型腔由于要考虑材料的收缩率,以及塑料收缩率的异向性,其型腔几何尺寸不可能遵循一个固定的模式设计。再者,现代模具先进的型腔线切割加工方法,已与切削刀具无关(即不需按基本齿条展成方法加工),即便是二者有关联,一般都需要采用非标准的专用刀具。因此,模塑齿轮齿形尺寸无需严格遵循原切削加工齿轮的传统规范 2) 热塑性材料的某些特性会影响齿轮齿形尺寸的选取。因为热塑性材料的分子结构和排列定向,不管是采取什么加工方式,都会造成材料强度对小半径凹圆角的特别敏感性。如果齿轮齿根能避免这类小圆角,则轮齿便能具备相当高的弯曲强度。而按照原AGMA细齿距基本齿条设计制造的齿轮,其轮齿通常会形成较小的齿根圆角 3) 在某些应用场合下,由于塑料的热膨性较强,要求配对齿轮间的工作高度需要比其他标准齿形的许用值要大 |
|||||
|
渐开线齿 形制的主 要特点 |
按以上三种渐开线基本齿条设计的齿轮轮系,具有以下主要特点: 1) 在传动过程中瞬时传动比为常数、稳定不变; 2) 中心距变动不影响传动比; 3) 两齿轮的啮合线是一条直线; 4) 能与直线齿廓的齿条相啮合 综上所述几点可以看出:渐开线齿轮不仅能够准确而平稳地传递运动,保证轮系的瞬时传动比稳定不变,而且又不受中心距变动的影响,并还能与直线齿廓的齿条相啮合。就是以上特点给齿轮齿廓的切削加工及其检测带来极大的方便,即可以采用直线型齿廓的齿条刀具,按展成原理滚切成形加工渐开线齿轮齿形。也正是这些特点,使渐开线齿形制在机械传动领域中获得长盛不衰的广泛采用 |
|||||

