|
齿坯要求 |
||||||||||||||||||||||||||
|
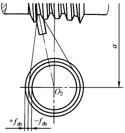
1) 蜗杆、蜗轮在加工、检验和安装时的径向、轴向基准面应尽可能一致,并应在相应的零件工作图上予以标注 加工蜗杆时,刀具的主基圆半径对蜗杆精度有较大影响,因此,应对主基圆半径公差作合理的控制。主基圆半径。误差定义见表1,主基圆半径公差值见表2 |
||||||||||||||||||||||||||
|
表1 主基圆半径误差定义 |
||||||||||||||||||||||||||
|
名称 |
代号 |
定义 |
||||||||||||||||||||||||
|
主基圆半径误差
主基圆半径公差 |
Δfrb
±frb |
加工蜗杆时,刀具的主基圆半径的实际值与公称值之差 |
||||||||||||||||||||||||
|
表2 主基圆半径公差 μm |
||||||||||||||||||||||||||
|
名称 |
代号 |
中心距/mm |
||||||||||||||||||||||||
|
80~160 |
>160~315 |
>315~630 |
>630~1250 |
|||||||||||||||||||||||
|
精度等级 |
||||||||||||||||||||||||||
|
6 |
7 |
8 |
6 |
7 |
8 |
6 |
7 |
8 |
6 |
7 |
8 |
|||||||||||||||
|
主基圆半径公差 |
frb |
20 |
30 |
45 |
25 |
40 |
60 |
35 |
55 |
80 |
50 |
80 |
120 |
|||||||||||||
|
2)蜗杆、蜗轮的齿坯公差包括轴、孔的尺寸、形状和位置公差,以及基准面的跳动。各项公差值见表3 |
||||||||||||||||||||||||||
|
表3 蜗杆蜗轮齿坯公差 μm |
||||||||||||||||||||||||||
|
名称 |
中心距/mm |
|||||||||||||||||||||||||
|
80~160 |
>160~315 |
>315~630 |
>630~1250 |
|||||||||||||||||||||||
|
精度等级 |
||||||||||||||||||||||||||
|
6 |
7 |
8 |
6 |
7 |
8 |
6 |
7 |
8 |
6 |
7 |
8 |
|||||||||||||||
|
蜗杆喉部直径公差 |
h7 |
h8 |
h9 |
h7 |
h8 |
h9 |
h7 |
h8 |
h9 |
h7 |
h8 |
h9 |
||||||||||||||
|
蜗杆基准轴颈径向跳动公差 |
12 |
15 |
30 |
15 |
20 |
35 |
20 |
27 |
48 |
25 |
35 |
55 |
||||||||||||||
|
蜗杆两定位端面的跳动公差 |
12 |
15 |
20 |
17 |
20 |
25 |
22 |
25 |
30 |
27 |
30 |
35 |
||||||||||||||
|
蜗杆喉部径向跳动公差 |
15 |
20 |
25 |
20 |
25 |
27 |
27 |
35 |
45 |
35 |
45 |
60 |
||||||||||||||
|
蜗杆基准端面的跳动公差 |
15 |
20 |
30 |
20 |
30 |
40 |
30 |
45 |
60 |
40 |
60 |
80 |
||||||||||||||
|
蜗轮齿坯外径与轴孔的同心度公差 |
15 |
20 |
30 |
20 |
35 |
50 |
25 |
40 |
60 |
40 |
60 |
80 |
||||||||||||||
|
蜗轮喉部直径公差 |
h7 |
h8 |
h9 |
h7 |
h8 |
h9 |
h7 |
h8 |
h9 |
h7 |
h8 |
h9 |
||||||||||||||

