|
变位齿轮原理 |
|
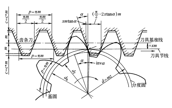
用展成法加工渐开线齿轮时,当齿条刀的基准线与齿轮坯的分度圆相切时,则加工出来的齿轮为标准齿轮;当齿条刀的基准线与轮坯的分度圆不相切时,则加工出来的齿轮为变位齿轮,如图1和图2所示。刀具的基准线和轮坯的分度圆之间的距离称为变位量,用xm表示,x称为变位系数。当刀具离开轮坯中心时(如图1),x取正值(称为正变位);反之(如图2)x取负值(称为负变位)
图1 用齿条型刀具滚切变位外齿轮 对斜齿轮,端面变位系数和法向变位系数之间的关系为:xt=xncosβ 齿轮经变位后,其齿形与标准齿轮同属一条渐开线,但其应用的区段却不相同(见图3)。利用这一特点,通过选择变位系数x,可以得到有利的渐开线区段,使齿轮传动性能得到改善。应用变位齿轮可以避免根切,提高齿面接触强度和齿根弯曲强度,提高齿面的抗胶合能力和耐磨损性能,此外变位齿轮还可用于配凑中心距和修复被磨损的旧齿轮
图2 用假想齿条型刀具滚切变位内齿轮
图3 变位齿轮的齿廓
|



