|
链轮结构尺寸 |
|||||||||||||
|
整 体 式 钢 制 小 链 轮 |
|
||||||||||||
|
名 称 |
结构尺寸(参考) |
||||||||||||
|
轮毂厚度h |
常数K:
|
||||||||||||
|
轮毂长度l |
l=3.3h lmin=2.6h |
||||||||||||
|
轮毂直径dh |
dh=dk+2h dhmax<dg,dg见表链轮基本参数和主要尺寸 |
||||||||||||
|
齿宽bf |
见表轴面齿廓尺寸 |
||||||||||||
|
腹 板 式 单 排 铸 造 链 轮 |
|
||||||||||||
|
名 称 |
结构尺寸(参考) |
||||||||||||
|
轮毂厚度h |
|
||||||||||||
|
轮毂长度l |
l=4h |
||||||||||||
|
轮毂直径dh |
dh=dk+2h,dhmax<dg,dg见表链轮基本参数和主要尺寸 |
||||||||||||
|
齿侧凸缘 宽度br |
br=0.625p+0.93b1 b1—— 内链节内宽,见表滚子链的基本参数与尺寸 |
||||||||||||
|
轮缘部 分尺寸 |
|
||||||||||||
|
c2=0.9p |
|||||||||||||
|
f=4+0.25p |
|||||||||||||
|
g=2t |
|||||||||||||
|
圆角半径R |
R=0.04p |
||||||||||||
|
腹板厚度t |
p/mm |
9.525 15.875 25.4 38.1 50.8 76.2 12.7 19.05 31.75 44.45 63.5 |
|||||||||||
|
t/mm |
7.9 10.3 12.7 15.9 22.2 31.8 9.5 11.1 14.3 19.1 28.6 |
||||||||||||
|
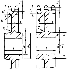
腹 板 式 多 排 铸 造 链 轮 |
|
||||||||||||
|
名 称 |
结构尺寸(参考) |
||||||||||||
|
圆角半径R |
R=0.5t |
||||||||||||
|
轮毂长度l |
l=4h |
||||||||||||
|
腹板厚度t |
p/mm |
9.525 15.875 25.4 38.1 50.8 76.2 12.7 19.05 31.75 44.45 63.5 |
|||||||||||
|
t/mm |
9.5 11.1 14.3 19.1 25.4 38.1 10.3 12.7 15.9 22.2 31.8 |
||||||||||||
|
其余结 构尺寸 |
见腹板式单排铸造链轮 |
||||||||||||
|
注:轴孔偏差为H8。 |
|||||||||||||



