|
挡圈的设置 |
|||
|
两 轴 传 动 |
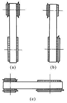
(1)一般推荐小带轮两侧均设挡圈,大带轮两侧不设,如图a (2)也可在大小带轮的不同侧面各装单侧挡圈,如图b |
|
|
|
(3)当a>8d1 |
大小轮两侧均设挡圈 |
||
|
(4)带轮轴线垂直水平面时 |
大小轮两侧均设挡圈,或至少主动轮两侧与从动轮下侧设挡圈,如图c |
||
|
多 轴 传 动 |
(1)每隔一个轮两侧设挡圈,被隔的不设 (2)或每个轮的不同侧设挡圈 |
||

