|
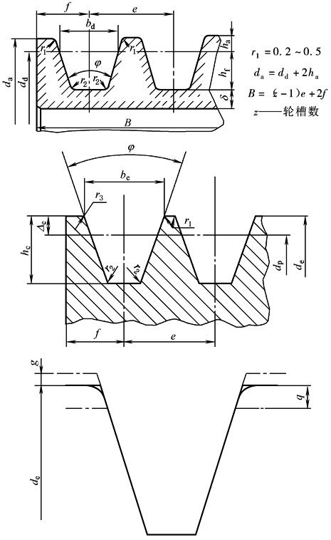
轮槽截面尺寸 mm |
||||||||||||||||||||||||||||
|
|
||||||||||||||||||||||||||||
|
普通V 带轮和 窄V带 轮(基 准宽 度制) (摘自 GB/T 10412 —2002) |
槽 型 |
基准 宽度 bd |
ha min |
hf min |
槽间距e |
f min |
δ min |
r2 |
dd min |
带轮槽角φ/(°)±0.5° |
||||||||||||||||||
|
普通V 带轮 |
窄V 带轮 |
基本 值 |
极限 偏差 |
累积 极限 偏差 |
32 |
34 |
36 |
38 |
||||||||||||||||||||
|
基准直径dd |
||||||||||||||||||||||||||||
|
Y |
— |
5.3 |
1.6 |
4.7 |
8 |
±0.3 |
±0.6 |
6 |
5 |
0.5~ 1.0 |
20 |
≤60 |
— |
>60 |
— |
|||||||||||||
|
Z
|
SPZ |
8.5 |
2 |
7 9 |
12 |
±0.3 |
±0.6 |
7 |
5.5 |
50 63 |
— |
≤80 |
— |
>80 |
||||||||||||||
|
A
|
SPA |
11 |
2.75 |
8.7 11 |
15 |
±0.3 |
±0.6 |
9 |
6 |
75 90 |
— |
≤118 |
— |
>118 |
||||||||||||||
|
B |
SPB |
14 |
3.5 |
10.8 14 |
19 |
±0.4 |
±0.8 |
11.5 |
7.5 |
125 140 |
— |
≤190 |
— |
>190 |
||||||||||||||
|
C |
SPC |
19 |
4.8 |
14.3 19 |
25.5 |
±0.5 |
±1 |
16 |
10 |
1.0~ 1.6 |
200 224 |
— |
≤315 |
— |
>315 |
|||||||||||||
|
D |
— |
27 |
8.1 |
19.9 |
37 |
±0.6 |
±1.2 |
23 |
12 |
1.6~ 2.0 |
355 |
— |
— |
≤475 |
>475 |
|||||||||||||
|
E |
— |
32 |
9.6 |
23.4 |
44.5 |
±0.7 |
±1.4 |
28 |
15 |
500 |
— |
— |
≤600 |
>600 |
||||||||||||||
|
窄V带 轮(有 效宽 度制) (摘自 GB/T 10413 —2002) |
槽型 |
有效 宽度 be |
槽顶 最大 增量 g |
槽顶 弧最 大深 度q |
有效 线差 Δe |
槽深 hc min |
槽间距e |
轮槽 与端 面距 离f min |
r3 |
de min |
带轮槽角φ/(°)±0.5° |
|||||||||||||||||
|
基本 值 |
极限 偏差 |
累积 极限 偏差 |
36 |
38 |
40 |
42 |
||||||||||||||||||||||
|
基准直径de |
||||||||||||||||||||||||||||
|
9N/J |
8.9 |
0.2 |
0.3 |
0.6 |
8.9 |
10.3 |
±0.25 |
±0.5 |
9 |
1~2 |
67 |
de≤90 |
90<de ≤150 |
150<de ≤300 |
de>300 |
|||||||||||||
|
15N/J |
15.2 |
0.25 |
0.4 |
1.3 |
15.2 |
17.5 |
±0.25 |
±0.5 |
13 |
2~3 |
180 |
— |
de≤250 |
250<de ≤400 |
de>400 |
|||||||||||||
|
25N/J |
25.4 |
0.3 |
0.5 |
2.5 |
25.4 |
28.6 |
±0.4 |
±0.8 |
19 |
3~5 |
315 |
— |
de≤400 |
400<de ≤560 |
de>560 |
|||||||||||||
|
注:1.表中δ、r1、r2及r3尺寸标准中未作规定,仅供设计参考。 2.Δe能够趋近于零。 3.轮槽截面直边尺寸应不小于de-2q。 |
||||||||||||||||||||||||||||

