|
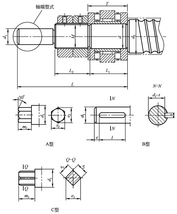
公称直径80~100mm的滚珠丝杠固定式轴端型式及尺寸 |
||||||||||||||||||||
|
mm |
||||||||||||||||||||
|
公称 直径 d0 |
轴端尺寸 |
轴承型号 (推荐) |
||||||||||||||||||
|
d |
M |
d1 |
L1/T |
L2 |
L |
键槽(B型) |
轴端外六角(A型) |
轴端四方(C型) |
||||||||||||
|
螺纹代号 |
公差 等级 |
宽度b |
深度t |
长度l |
e |
e2 |
s2 |
m2 |
e3 |
s3 |
m3 |
|||||||||
|
公称 尺寸 |
公差 等级 |
公称 尺寸 |
公差 等级 |
|||||||||||||||||
|
80 |
70 |
M70×2 |
6h 或 6g |
65 |
76/82 |
52 |
269 |
18 |
N9 |
|
125 |
H14 |
3 |
53.1 |
|
48 |
52 |
|
42 |
ZARN70130 |
|
ZARF70160 |
||||||||||||||||||||
|
100 |
90 |
M90×2 |
85 |
106/110 |
52 |
328 |
22 |
|
160 |
5 |
63.5 |
|
55 |
58 |
|
50 |
ZARN90180 |
|||
|
ZARF90210 |
||||||||||||||||||||
|
注:轴承型号选用JB/T 6644滚动轴承,ZARN为滚针和双向推力圆柱滚子组合轴承,ZARF为带法兰盘的滚针和双向推力圆柱滚子组合轴承。 |
||||||||||||||||||||

