|
板弹簧两侧的固定结构 |
||
|
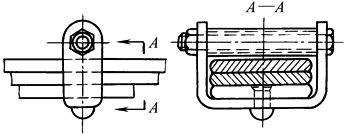
为了消除弹簧钢板侧向位移,并将作用力传递给较多的叶片,以保护主板,在板弹簧两侧装有若干簧卡,其结构如下表所示 |
||
|
簧卡结构 |
||
|
型式 |
结构 |
特点及应用 |
|
带螺栓的U形卡 |
|
用于小客车和小轿车中 |
|
不带螺栓的U形卡 |
|
用于载重汽车中 |
|
封闭形卡 |
|
用于小轿车中 |



