|
弹簧的类型及其性能与应用 |
||||
|
类型 |
结 构 图 |
特 性 线 |
性能与应用 |
|
|
圆
柱
螺
旋
弹
簧 |
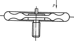
圆 形 截 面 圆 柱 螺 旋 压 缩 弹 簧 |
|
|
特性线呈线性,刚度稳定,结构简单,制造方便,应用较广,在机械设备中多用作缓冲、减振以及储能和控制运动等 |
|
矩 形 截 面 圆 柱 螺 旋 压 缩 弹 簧 |
|
|
在同样的空间条件下,矩形截面圆柱螺旋压缩弹簧比圆形截面圆柱螺旋压缩弹簧的刚度大,吸收能量多,特性线更接近于直线,刚度更接近于常数 |
|
|
扁 形 截 面 圆 柱 螺 旋 压 缩 弹 簧 |
|
与圆形截面圆柱螺旋压缩弹簧比较,储存能量大,压并高度低,压缩量大,因此被广泛用于发动机阀门机构、离合器和自动变速器等安装空间比较小的装置上 |
||
|
不 等 节 距 圆 柱 螺 旋 压 缩 弹 簧 |
|
|
当载荷增大到一定程度后,随着载荷的增大,弹簧从小节距开始依次逐渐并紧,刚度逐渐增大,特性线由线性变为渐增型。因此其自振频率为变值,有较好的消除或缓和共振的影响,多用于高速变载机构 |
|
|
多 股 圆 柱 螺 旋 弹 簧 |
|
|
材料为细钢丝拧成的钢丝绳。在未受载荷时,钢丝绳各根钢丝之间的接触比较松,当外载荷达到一定程度时,接触紧密起来,这时弹簧刚性增大,因此多股螺旋弹簧的特性线有折点。比相同截面材料的普通圆柱螺旋弹簧强度高,减振作用大。在武器和航空发动机中常有应用 |
|
|
圆 柱 螺 旋 拉 伸 弹 簧 |
|
|
性能和特点与圆形截面圆柱螺旋压缩弹簧相同,它主要用于受拉伸载荷的场合,如联轴器过载安全装置中用的拉伸弹簧以及棘轮机构中棘爪复位拉伸弹簧 |
|
|
圆 柱 螺 旋 扭 转 弹 簧 |
|
|
承受扭转载荷,主要用于压紧和储能以及传动系统中的弹性环节,具有线性特性线,应用广泛,如用于测力计及强制气阀关闭机构 |
|
|
变 径 螺 旋 弹 簧 |
圆 锥 形 螺 旋 弹 簧 |
|
|
作用与不等节距螺旋弹簧相似,载荷达到一定程度后,弹簧从大圈到小圈依次逐渐并紧,簧圈开始接触后,特性线为非线性,刚度逐渐增大,自振频率为变值,有利于消除或缓和共振,防共振能力较等节距压缩弹簧强。这种弹簧结构紧凑,稳定性好,多用于承受较大载荷和减振,如应用于重型振动筛的悬挂弹簧及东风型汽车变速器 |
|
蜗 卷 螺 旋 弹 簧 |
|
|
蜗卷螺旋弹簧和其他弹簧相比较,在相同的空间内可以吸收较大的能量,而且其板间存在的摩擦可利用来衰减振动。常用于需要吸收热膨胀变形而又需要阻尼振动的管道系统或与管道系统相连的部件中,例如火力发电厂汽、水管道系统中。其缺点是板间间隙小,淬火困难,也不能进行喷丸处理,此外制造精度也不够高 |
|
|
扭 杆 弹 簧 |
|
|
结构简单,但材料和制造精度要求高。主要用作轿车和小型车辆的悬挂弹簧,内燃机中作气门辅助弹簧,以及空气弹簧,稳压器的辅助弹簧 |
|
|
碟 形 弹 簧 |
普 通 碟 形 弹 簧 |
|
|
承载缓冲和减振能力强。采用不同的组合可以得到不同的特性线。可用于压力安全阀,自动转换装置,复位装置,离合器等 |
|
环 形 弹 簧 |
|
|
广泛应用于需要吸收大能量但空间尺寸受到限制的场合,如机车牵引装置弹簧,起重机和大炮的缓冲弹簧,锻锤的减振弹簧,飞机的制动弹簧等 |
|
|
平 面 蜗 卷 弹 簧 |
游丝
|
|
游丝是小尺寸金属带盘绕而成的平面蜗卷弹簧。可用作测量元件(测量游丝)或压紧元件(接触游丝) |
|
|
发条
|
|
发条主要用作储能元件。发条工作可靠、维护简单,被广泛应用于计时仪器和时控装置中,如钟表、记录仪器、家用电器等,用于机动玩具中作为动力源 |
||
|
片 弹 簧 |
|
|
片弹簧是一种矩形截面的金属片,主要用于载荷和变形都不大的场合。可用作检测仪表或自动装置中的敏感元件,电接触点、棘轮机构棘爪、定位器等压紧弹簧及支承或导轨等 |
|
|
钢 板 弹 簧 |
|
|
钢板弹簧是由多片弹簧钢板叠合组成。广泛应用于汽车、拖拉机、火车中作悬挂装置,起缓冲和减振作用,也用于各种机械产品中作减振装置,具有较高的刚度 |
|
|
橡 胶 弹 簧 |
|
|
橡胶弹簧因弹性模量较小,可以得到较大的弹性变形,容易实现所需要的非线性特性。形状不受限制,各个方向的刚度可根据设计要求自由选择。同一橡胶弹簧能同时承受多方向载荷,因而可使系统的结构简化。橡胶弹簧在机械设备上的应用正在日益扩展 |
|
|
橡 胶 | 金 属 螺 旋 复 合 弹 簧 |
|
|
特性线为渐增型。此种橡胶-金属螺旋复合弹簧与橡胶弹簧相比有较大的刚性,与金属弹簧相比有较大的阻尼性。因此,它具有承载能力大、减振性强、耐磨损等优点。适用于矿山机械和重型车辆的悬架结构等 |
|
|
空 气 弹 簧 |
|
|
空气弹簧是利用空气的可压缩性实现弹性作用的一种非金属弹簧。用在车辆悬挂装置中可以大大改善车辆的动力性能,从而显著提高其运行舒适度,所以空气弹簧在汽车和火车上得到广泛应用 |
|
|
膜 片 及 膜 盒 |
波 纹 膜 片 |
|
|
用于测量与压力成非线性的各种量值,如管道中液体或气体流量,飞机的飞行速度和高度等 |
|
平 膜 片 |
|
|
用作仪表的敏感元件,并能起隔离两种不同介质的作用,如因压力或真空产生变形时的柔性密封装置等 |
|
|
膜 盒 |
|
特性线随波纹数密度、深度而变化 |
为了便于安装,将两个相同的膜片沿周边连接成盒状 |
|
|
压 力 弹 簧 管 |
|
|
在流体的压力作用下末端产生位移,通过传动机构将位移传递到指针上,用于压力计、温度计、真空计、液位计、流量计等 |
|












































