|
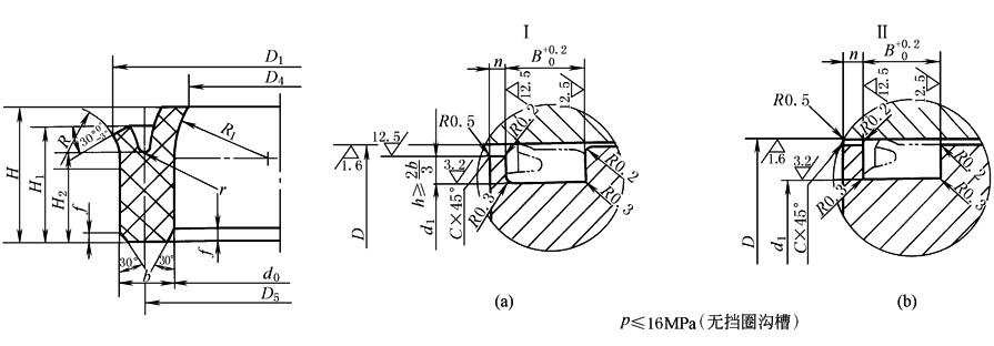
孔用YX形密封圈(JB/ZQ 4264—1997) |
||||||||||||||||||||||||||||||||||
|
表1 mm |
||||||||||||||||||||||||||||||||||
|
|
||||||||||||||||||||||||||||||||||
|
|
适用范围:以空气、矿物油为介质的各种机械设备中,温度-40~80℃,工作压力p≤31.5MPa 材料:按HG/T 2810—1996选用,或见表往复运动密封圈材料 标记示例:公称外径D=50mm的孔用YX形密封圈,标记为 密封圈 YX D50 JB/ZQ 4264—1997 主要生产厂家:沈阳皮革装具厂 |
|||||||||||||||||||||||||||||||||
|
公称 外径 D |
密 封 圈 |
沟 槽 |
||||||||||||||||||||||||||||||||
|
d0 |
b |
D1 |
D4 |
D5 |
H |
H1 |
H2 |
R |
R1 |
r |
f |
d1 (h9) |
B |
B1 |
n |
C |
||||||||||||||||||
|
基本 尺寸 |
极限 偏差 |
基本 尺寸 |
极限 偏差 |
基本 尺寸 |
极限 偏差 |
基本 尺寸 |
极限 偏差 |
|||||||||||||||||||||||||||
|
16 |
9.8 |
|
3 |
-0.06 -0.18 |
17.3 |
+0.36 -0.12 |
8.6 |
+0.1 -0.3 |
13 |
8 |
7 |
4.6 |
5 |
14 |
0.3 |
0.7 |
10 |
9 |
10.5 |
4 |
0.5 |
|||||||||||||
|
18 |
11.8 |
19.3 |
+0.42 -0.14 |
10.6 |
+0.12 -0.36 |
15 |
12 |
|||||||||||||||||||||||||||
|
20 |
13.8 |
21.3 |
12.6 |
17 |
14 |
|||||||||||||||||||||||||||||
|
22 |
15.8 |
23.3 |
14.6 |
19 |
16 |
|||||||||||||||||||||||||||||
|
25 |
18.8 |
26.3 |
17.6 |
22 |
19 |
|||||||||||||||||||||||||||||
|
28 |
21.8 |
29.3 |
20.6 |
+0.14 -0.42 |
25 |
22 |
||||||||||||||||||||||||||||
|
30 |
21.8 |
|
4 |
-0.08 -0.24 |
31.9 |
+0.50 -0.17 |
20 |
+0.14 -0.42 |
26.1 |
10 |
9 |
6 |
6 |
15 |
0.5 |
1 |
22 |
12 |
13.5 |
4 |
0.5 |
|||||||||||||
|
32 |
23.8 |
33.9 |
22 |
28.1 |
24 |
|||||||||||||||||||||||||||||
|
35 |
26.8 |
36.9 |
25 |
31.1 |
27 |
|||||||||||||||||||||||||||||
|
36 |
27.8 |
37.9 |
26 |
32.1 |
28 |
|||||||||||||||||||||||||||||
|
40 |
31.8 |
|
41.9 |
30 |
36.1 |
32 |
||||||||||||||||||||||||||||
|
45 |
36.8 |
46.9 |
35 |
+0.17 -0.50 |
41.1 |
37 |
||||||||||||||||||||||||||||
|
50 |
41.8 |
51.9 |
+0.60 -0.20 |
40 |
46.1 |
42 |
||||||||||||||||||||||||||||
|
55 |
46.8 |
56.9 |
45 |
51.1 |
47 |
|||||||||||||||||||||||||||||
|
56 |
47.8 |
57.9 |
46 |
52.1 |
14 |
12.5 |
8.5 |
8 |
22 |
0.7 |
1.5 |
48 |
||||||||||||||||||||||
|
60 |
47.7 |
6 |
62.6 |
45.3 |
54.2 |
48 |
16 |
18 |
5 |
1 |
||||||||||||||||||||||||
|
63 |
50.7 |
65.6 |
48.3 |
57.2 |
51 |
|||||||||||||||||||||||||||||
|
65 |
52.7 |
67.6 |
50.3 |
+0.20 -0.60 |
59.2 |
53 |
||||||||||||||||||||||||||||
|
70 |
57.7 |
72.6 |
55.3 |
64.2 |
58 |
|||||||||||||||||||||||||||||
|
75 |
62.7 |
77.6 |
60.3 |
69.2 |
63 |
|||||||||||||||||||||||||||||
|
80 |
67.7 |
82.6 |
+0.70 -0.23 |
65.3 |
74.2 |
68 |
||||||||||||||||||||||||||||
|
85 |
72.7 |
87.6 |
70.3 |
79.2 |
73 |
|||||||||||||||||||||||||||||
|
90 |
77.7 |
92.6 |
75.3 |
+0.23 -0.70 |
84.2 |
78 |
||||||||||||||||||||||||||||
|
95 |
82.7 |
|
97.6 |
80.3 |
89.2 |
83 |
||||||||||||||||||||||||||||
|
100 |
87.7 |
102.6 |
85.3 |
94.2 |
88 |
|||||||||||||||||||||||||||||
|
105 |
92.7 |
107.6 |
90.3 |
99.2 |
93 |
|||||||||||||||||||||||||||||
|
110 |
97.7 |
112.6 |
95.3 |
104.2 |
98 |
|||||||||||||||||||||||||||||
|
115 |
102.7 |
117.6 |
+0.80 -0.26 |
100.3 |
109.2 |
103 |
||||||||||||||||||||||||||||
|
120 |
107.7 |
122.6 |
105.3 |
114.2 |
108 |
|||||||||||||||||||||||||||||
|
125 |
112.7 |
127.6 |
110.3 |
119.2 |
113 |
|||||||||||||||||||||||||||||
|
130 |
117.7 |
132.6 |
115.3 |
124.2 |
118 |
|||||||||||||||||||||||||||||
|
140 |
127.7 |
142.6 |
125.3 |
+0.26 -0.80 |
134.2 |
128 |
||||||||||||||||||||||||||||
|
150 |
137.7 |
152.6 |
135.3 |
144.2 |
138 |
|||||||||||||||||||||||||||||
|
160 |
147.7 |
162.6 |
145.3 |
154.2 |
148 |
|||||||||||||||||||||||||||||
|
170 |
153.6 |
8 |
-0.10 -0.30 |
173.6 |
150.3 |
162.3 |
18 |
16 |
10.5 |
10 |
26 |
1 |
2 |
154 |
20 |
22.5 |
8 |
1.5 |
||||||||||||||||
|
180 |
163.6 |
183.6 |
160.3 |
172.3 |
164 |
|||||||||||||||||||||||||||||
|
190 |
173.6 |
193.6 |
170.3 |
182.3 |
174 |
|||||||||||||||||||||||||||||
|
200 |
183.6 |
203.6 |
+0.90 -0.30 |
180.3 |
+0.3 -0.9 |
192.3 |
184 |
|||||||||||||||||||||||||||
|
220 |
203.6 |
|
223.6 |
200.3 |
212.3 |
204 |
||||||||||||||||||||||||||||
|
230 |
213.6 |
233.6 |
210.3 |
222.3 |
214 |
|||||||||||||||||||||||||||||
|
240 |
223.6 |
243.6 |
220.3 |
232.3 |
224 |
6 |
||||||||||||||||||||||||||||
|
250 |
233.6 |
8 |
-0.10 -0.30 |
253.6 |
+0.90 -0.30 |
230.3 |
+0.3 -0.9 |
242.3 |
18 |
16 |
10.5 |
10 |
26 |
1 |
2 |
234 |
20 |
22.5 |
6 |
1.5 |
||||||||||||||
|
265 |
248.6 |
268.6 |
+1.00 -0.34 |
245.3 |
257.3 |
249 |
||||||||||||||||||||||||||||
|
280 |
263.6 |
283.6 |
260.3 |
+0.34 -1.00 |
272.3 |
264 |
||||||||||||||||||||||||||||
|
300 |
283.6 |
303.6 |
280.3 |
292.3 |
284 |
|||||||||||||||||||||||||||||
|
320 |
295.5 |
12 |
-0.12 -0.36 |
325.2 |
290.7 |
308.4 |
24 |
22 |
14 |
14 |
32 |
1.5 |
2.5 |
296 |
26.5 |
30 |
7 |
2 |
||||||||||||||||
|
340 |
315.5 |
345.2 |
310.7 |
328.4 |
316 |
|||||||||||||||||||||||||||||
|
360 |
335.5 |
365.2 |
+1.10 -0.38 |
330.7 |
348.4 |
336 |
||||||||||||||||||||||||||||
|
380 |
355.5 |
385.2 |
350.7 |
+0.38 -1.10 |
368.4 |
356 |
||||||||||||||||||||||||||||
|
400 |
375.5 |
405.2 |
370.7 |
388.4 |
376 |
|||||||||||||||||||||||||||||
|
420 |
395.5 |
425.2 |
390.7 |
408.4 |
396 |
|||||||||||||||||||||||||||||
|
450 |
425.5 |
|
455.2 |
420.7 |
438.4 |
426 |
||||||||||||||||||||||||||||
|
480 |
455.5 |
485.2 |
450.7 |
468.4 |
456 |
|||||||||||||||||||||||||||||
|
500 |
475.5 |
505.2 |
+1.35 -0.45 |
470.7 |
488.4 |
476 |
||||||||||||||||||||||||||||
|
530 |
505.5 |
535.2 |
500.7 |
+0.45 -1.35 |
518.4 |
506 |
||||||||||||||||||||||||||||
|
560 |
535.5 |
565.2 |
530.7 |
548.4 |
536 |
|||||||||||||||||||||||||||||
|
600 |
575.5 |
605.2 |
570.7 |
588.4 |
576 |
|||||||||||||||||||||||||||||
|
630 |
605.5 |
635.2 |
+1.5 -0.5 |
600.7 |
618.4 |
606 |
||||||||||||||||||||||||||||
|
650 |
625.5 |
655.2 |
620.7 |
638.4 |
626 |
|||||||||||||||||||||||||||||
|
注:孔用YX形密封圈用挡圈尺寸见表2。 |
||||||||||||||||||||||||||||||||||
|
表2 孔用YX形密封圈用挡圈尺寸 mm |
||||||||||||||||||||||||||||||||||
|
|
挡圈材料: 聚四氟乙烯、尼龙6或尼龙1010 |
|||||||||||||||||||||||||||||||||
|
孔用YX 形密封圈 公称外径 D |
挡圈 |
孔用YX 形密封圈 公称外径 D |
挡圈 |
|||||||||||||||||||||||||||||||
|
D2 |
d2 |
T |
D2 |
d2 |
T |
|||||||||||||||||||||||||||||
|
基本 尺寸 |
极限 偏差 |
基本 尺寸 |
极限 偏差 |
基本 尺寸 |
极限 偏差 |
基本 尺寸 |
极限 偏差 |
基本 尺寸 |
极限 偏差 |
基本 尺寸 |
极限 偏差 |
|||||||||||||||||||||||
|
16 |
16 |
-0.020 -0.070 |
10 |
|
1.5 |
±0.1 |
32 |
32 |
-0.032 -0.100 |
24 |
|
1.5 |
±0.1 |
|||||||||||||||||||||
|
18 |
18 |
12 |
|
35 |
35 |
27 |
||||||||||||||||||||||||||||
|
20 |
20 |
-0.025 -0.085 |
14 |
36 |
36 |
28 |
||||||||||||||||||||||||||||
|
22 |
22 |
16 |
40 |
40 |
32 |
|
||||||||||||||||||||||||||||
|
25 |
25 |
19 |
|
45 |
45 |
37 |
||||||||||||||||||||||||||||
|
28 |
28 |
22 |
50 |
50 |
42 |
|||||||||||||||||||||||||||||
|
30 |
30 |
22 |
55 |
55 |
-0.040 -0.120 |
47 |
||||||||||||||||||||||||||||
|
56 |
56 |
-0.040 -0.120 |
48 |
|
1.5 |
±0.1 |
200 |
200 |
-0.075 -0.195 |
184 |
|
2.5 |
±0.15 |
|||||||||||||||||||||
|
60 |
60 |
48 |
2 |
±0.15 |
220 |
220 |
204 |
|||||||||||||||||||||||||||
|
63 |
63 |
51 |
|
230 |
230 |
214 |
||||||||||||||||||||||||||||
|
65 |
65 |
53 |
240 |
240 |
224 |
|||||||||||||||||||||||||||||
|
70 |
70 |
58 |
250 |
250 |
234 |
|||||||||||||||||||||||||||||
|
75 |
75 |
63 |
265 |
265 |
-0.090 -0.225 |
249 |
||||||||||||||||||||||||||||
|
80 |
80 |
68 |
280 |
280 |
264 |
|
||||||||||||||||||||||||||||
|
85 |
85 |
-0.050 -0.140 |
73 |
300 |
300 |
284 |
||||||||||||||||||||||||||||
|
90 |
90 |
78 |
320 |
320 |
296 |
3 |
±0.20 |
|||||||||||||||||||||||||||
|
95 |
95 |
83 |
|
340 |
340 |
316 |
||||||||||||||||||||||||||||
|
100 |
100 |
88 |
360 |
360 |
336 |
|||||||||||||||||||||||||||||
|
105 |
105 |
93 |
380 |
380 |
-0.105 -0.255 |
356 |
||||||||||||||||||||||||||||
|
110 |
110 |
98 |
400 |
400 |
376 |
|
||||||||||||||||||||||||||||
|
115 |
115 |
103 |
420 |
420 |
396 |
|||||||||||||||||||||||||||||
|
120 |
120 |
108 |
450 |
450 |
426 |
|||||||||||||||||||||||||||||
|
125 |
125 |
-0.060 -0.165 |
113 |
480 |
480 |
456 |
||||||||||||||||||||||||||||
|
130 |
130 |
118 |
|
500 |
500 |
476 |
||||||||||||||||||||||||||||
|
140 |
140 |
128 |
530 |
530 |
-0.120 -0.260 |
506 |
|
|||||||||||||||||||||||||||
|
150 |
150 |
138 |
560 |
560 |
536 |
|||||||||||||||||||||||||||||
|
160 |
160 |
148 |
600 |
600 |
576 |
|||||||||||||||||||||||||||||
|
170 |
170 |
154 |
2.5 |
630 |
630 |
606 |
||||||||||||||||||||||||||||
|
180 |
180 |
164 |
650 |
650 |
-0.130 -0.280 |
626 |
||||||||||||||||||||||||||||
|
190 |
190 |
-0.075 -0.195 |
174 |
|||||||||||||||||||||||||||||||



