|
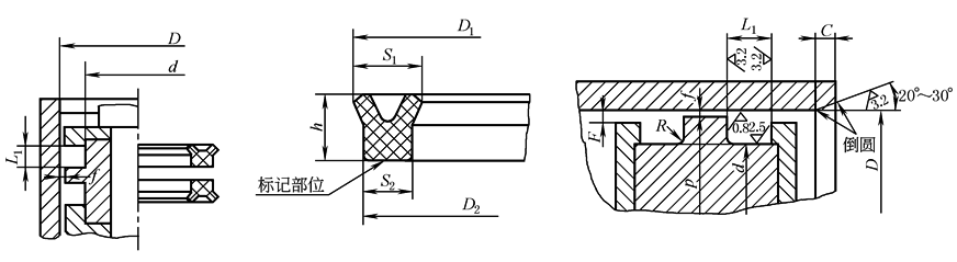
活塞用短型(L1)密封沟槽及Y形圈尺寸(GB/T 10708.1—2000) mm |
|||||||||||||
|
尺寸f 及标记方法见表单向密封橡胶密封圈结构型式及使用条件,尺寸p=D-2f |
|||||||||||||
|
D |
d |
|
外径 |
宽度 |
高度 |
C ≥ |
R ≤ |
F |
|||||
|
D1 |
D2 |
极限偏差 |
S1 |
S2 |
极限偏差 |
h |
极限偏差 |
||||||
|
12 |
4 |
5 |
13 |
11.5 |
±0.20 |
5 |
3.5 |
±0.15 |
4.4 |
±0.20 |
2 |
0.3 |
0.5 |
|
16 |
8 |
17 |
15.5 |
||||||||||
|
20 |
12 |
21.1 |
19.4 |
±0.25 |
|||||||||
|
25 |
17 |
26.1 |
24.4 |
||||||||||
|
32 |
24 |
33.1 |
31.4 |
||||||||||
|
40 |
32 |
41.1 |
39.4 |
||||||||||
|
20 |
10 |
6.3 |
21.2 |
19.4 |
6.2 |
4.4 |
5.6 |
2.5 |
0.3 |
0.5 |
|||
|
25 |
15 |
26.2 |
24.4 |
||||||||||
|
32 |
22 |
33.2 |
31.4 |
||||||||||
|
40 |
30 |
41.2 |
39.4 |
||||||||||
|
50 |
40 |
51.2 |
49.4 |
±0.35 |
|||||||||
|
56 |
46 |
57.5 |
55.4 |
||||||||||
|
63 |
53 |
64.2 |
62.4 |
||||||||||
|
50 |
35 |
9.5 |
51.5 |
49.2 |
4 |
0.4 |
1 |
||||||
|
56 |
41 |
57.5 |
55.2 |
9 |
6.7 |
8.5 |
|||||||
|
63 |
48 |
64.5 |
62.2 |
||||||||||
|
70 |
55 |
71.5 |
69.2 |
||||||||||
|
80 |
65 |
81.5 |
79.2 |
||||||||||
|
90 |
75 |
91.5 |
89.2 |
||||||||||
|
100 |
85 |
101.5 |
99.2 |
||||||||||
|
110 |
95 |
111.5 |
109.2 |
||||||||||
|
70 |
50 |
12.5 |
71.8 |
69 |
5 |
0.6 |
1 |
||||||
|
80 |
60 |
81.8 |
79 |
11.8 |
9 |
11.3 |
|||||||
|
90 |
70 |
91.8 |
89 |
||||||||||
|
100 |
80 |
101.8 |
99 |
||||||||||
|
110 |
90 |
111.8 |
109 |
||||||||||
|
125 |
105 |
126.8 |
124 |
±0.45 |
|||||||||
|
140 |
120 |
141.8 |
139 |
||||||||||
|
160 |
140 |
161.8 |
159 |
||||||||||
|
180 |
160 |
181.8 |
179 |
±0.60 |
|||||||||
|
125 |
100 |
16 |
127.2 |
123.8 |
±0.45 |
14.7 |
11.3 |
14.8 |
6.5 |
0.8 |
1.5 |
||
|
140 |
115 |
142.2 |
138.8 |
||||||||||
|
160 |
135 |
162.2 |
158.8 |
||||||||||
|
180 |
155 |
182.2 |
178.8 |
±0.60 |
|||||||||
|
200 |
175 |
202.2 |
198.8 |
||||||||||
|
220 |
195 |
222.2 |
218.8 |
||||||||||
|
250 |
225 |
252.2 |
248.8 |
||||||||||
|
200 |
170 |
20 |
202.8 |
198.5 |
17.8 |
13.5 |
±0.20 |
18.5 |
±0.25 |
7.5 |
0.8 |
1.5 |
|
|
220 |
190 |
222.8 |
218.5 |
||||||||||
|
250 |
220 |
252.8 |
248.5 |
||||||||||
|
280 |
250 |
282.8 |
278.5 |
±0.90 |
|||||||||
|
320 |
290 |
322.8 |
318.5 |
||||||||||
|
360 |
330 |
362.8 |
358.5 |
||||||||||
|
400 |
360 |
25 |
403.5 |
398 |
±1.40 |
23.3 |
18 |
23 |
10 |
1.0 |
2 |
||
|
450 |
410 |
453.5 |
448 |
||||||||||
|
500 |
460 |
503.5 |
498 |
||||||||||
|
注:滑动面公差配合推荐H9/f8,但在液压缸使用条件不苛刻的情况下,滑动面公差配合也可采用H10/f9。 |
|||||||||||||

