|
VD形橡胶密封圈(JB/T 6994—1993) mm |
||||||||||
|
|
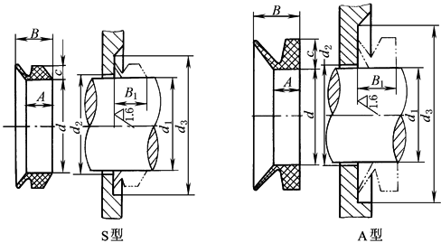
适用范围:工作介质为油、水、空气,轴速小于等于19m/s的设备,起端面密封和防尘作用。工作温度-40~100℃,密封材料选用丁腈橡胶(SN),XAⅠ 7453;100~200℃,选用氟橡胶(SF)XDⅠ 7433。橡胶材料性能见HG/T 2811—1996(或见表旋转轴唇形密封圈橡胶材料) 标记示例: (a) 公称轴径110mm,密封圈内径d=99mm的 S 型密封圈,标记为 密封圈 VD 110S JB/T 6994—1993 (b) 公称轴径120mm,密封圈内径d=108mm的 A 型密封圈,标记为 密封圈 VD 120A JB/T 6994—1993 |
|||||||||
|
型式 |
密封圈代号 |
公称轴径 |
轴径d1 |
d |
c |
A |
B |
d2max |
d3min |
安装宽度 B1 |
|
S
型 |
VD5S |
5 |
4.5~5.5 |
4 |
2 |
3.9 |
5.2 |
d1+1 |
d1+6 |
4.5±0.4 |
|
VD6S |
6 |
5.5~6.5 |
5 |
|||||||
|
VD7S |
7 |
6.5~8.0 |
6 |
|||||||
|
VD8S |
8 |
8.0~9.5 |
7 |
|||||||
|
VD10S |
10 |
9.5~11.5 |
9 |
3 |
5.6 |
7.7 |
d1+2 |
d1+9 |
6.7±0.6 |
|
|
VD12S |
12 |
11.5~13.5 |
10.5 |
|||||||
|
VD14S |
14 |
13.5~15.5 |
12.5 |
|||||||
|
VD16S |
16 |
15.5~17.5 |
14 |
|||||||
|
VD18S |
18 |
17.5~19 |
16 |
|||||||
|
VD20S |
20 |
19~21 |
18 |
4 |
7.9 |
10.5 |
d1+12 |
9.0±0.8 |
||
|
VD22S |
22 |
21~24 |
20 |
|||||||
|
VD25S |
25 |
24~27 |
22 |
|||||||
|
VD28S |
28 |
27~29 |
25 |
d1+3 |
||||||
|
VD30S |
30 |
29~31 |
27 |
|||||||
|
VD32S |
32 |
31~33 |
29 |
|||||||
|
VD36S |
36 |
33~36 |
31 |
|||||||
|
VD38S |
38 |
36~38 |
34 |
|||||||
|
VD40S |
40 |
38~43 |
36 |
5 |
9.5 |
13.0 |
d1+15 |
11.0±1.0 |
||
|
VD45S |
45 |
43~48 |
40 |
|||||||
|
VD50S |
50 |
48~53 |
45 |
|||||||
|
VD56S |
56 |
53~58 |
49 |
|||||||
|
VD60S |
60 |
58~63 |
54 |
|||||||
|
VD63S |
63 |
63~68 |
58 |
|||||||
|
VD71S |
71 |
68~73 |
63 |
6 |
11.3 |
15.5 |
d1+4 |
d1+18 |
13.5±1.2 |
|
|
VD75S |
75 |
73~78 |
67 |
|||||||
|
VD80S |
80 |
78~83 |
72 |
|||||||
|
VD85S |
85 |
83~88 |
76 |
|||||||
|
VD90S |
90 |
88~93 |
81 |
|||||||
|
VD95S |
95 |
93~98 |
85 |
|||||||
|
VD100S |
100 |
98~105 |
90 |
|||||||
|
VD110S |
110 |
105~115 |
99 |
7 |
13.1 |
18.0 |
d1+21 |
15.5±1.5 |
||
|
VD120S |
120 |
115~125 |
108 |
|||||||
|
VD130S |
130 |
125~135 |
117 |
|||||||
|
VD140S |
140 |
135~145 |
126 |
|||||||
|
VD150S |
150 |
145~155 |
135 |
|||||||
|
VD160S |
160 |
155~165 |
144 |
8 |
15.0 |
20.5 |
d1+5 |
d1+24 |
18.0±1.8 |
|
|
VD170S |
170 |
165~175 |
153 |
|||||||
|
VD180S |
180 |
175~185 |
162 |
|||||||
|
VD190S |
190 |
185~195 |
171 |
|||||||
|
VD200S |
200 |
195~210 |
180 |
|||||||
|
A
型 |
VD3A |
3 |
2.7~3.5 |
2.5 |
1.5 |
2.1 |
3.0 |
d1+1 |
d1+4 |
2.5±0.3 |
|
VD4A |
4 |
3.5~4.5 |
3.2 |
2 |
2.4 |
3.7 |
d1+6 |
3.0±0.4 |
||
|
VD5A |
5 |
4.5~5.5 |
4 |
|||||||
|
VD6A |
6 |
5.5~6.5 |
5 |
|||||||
|
VD7A |
7 |
6.5~8.0 |
6 |
|||||||
|
VD8A |
8 |
8.0~9.5 |
7 |
|||||||
|
VD10A |
10 |
9.5~11.5 |
9 |
3 |
3.4 |
5.5 |
d1+2 |
d1+9 |
4.5±0.6 |
|
|
VD12A |
12 |
11.5~12.5 |
10.5 |
|||||||
|
VD13A |
13 |
12.5~13.5 |
11.7 |
|||||||
|
VD14A |
14 |
13.5~15.5 |
12.5 |
|||||||
|
VD16A |
16 |
15.5~17.5 |
14 |
|||||||
|
VD18A |
18 |
17.5~19 |
16 |
|||||||
|
VD20A |
20 |
19~21 |
18 |
4 |
4.7 |
7.5 |
d1+12 |
6.0±0.8 |
||
|
VD22A |
22 |
21~24 |
20 |
|||||||
|
VD25A |
25 |
24~27 |
22 |
d1+3 |
||||||
|
VD28A |
28 |
27~29 |
25 |
|||||||
|
VD30A |
30 |
29~31 |
27 |
|||||||
|
VD32A |
32 |
31~33 |
29 |
|||||||
|
VD36A |
36 |
33~36 |
31 |
|||||||
|
VD38A |
38 |
36~38 |
34 |
|||||||
|
VD40A |
40 |
38~43 |
36 |
5 |
5.5 |
9.0 |
d1+3 |
d1+15 |
7.0±1.0 |
|
|
VD45A |
45 |
43~48 |
40 |
|||||||
|
VD50A |
50 |
48~53 |
45 |
|||||||
|
VD56A |
56 |
53~58 |
49 |
|||||||
|
VD60A |
60 |
58~63 |
54 |
|||||||
|
VD67A |
67 |
63~68 |
58 |
|||||||
|
VD71A |
71 |
68~73 |
63 |
6 |
6.8 |
11.0 |
d1+4 |
d1+18 |
9.0±1.2 |
|
|
VD75A |
75 |
73~78 |
67 |
|||||||
|
VD80A |
80 |
78~83 |
72 |
|||||||
|
VD85A |
85 |
83~88 |
76 |
|||||||
|
VD90A |
90 |
88~93 |
81 |
|||||||
|
VD95A |
95 |
93~98 |
85 |
|||||||
|
VD100A |
100 |
98~105 |
90 |
|||||||
|
VD110A |
110 |
105~115 |
99 |
7 |
7.9 |
12.8 |
d1+21 |
10.5±1.5 |
||
|
VD120A |
120 |
115~125 |
108 |
|||||||
|
VD130A |
130 |
125~135 |
117 |
|||||||
|
VD140A |
140 |
135~145 |
126 |
|||||||
|
VD150A |
150 |
145~155 |
135 |
|||||||
|
VD160A |
160 |
155~165 |
144 |
8 |
9.0 |
14.5 |
d1+5 |
d1+24 |
12.0±1.8 |
|
|
VD170A |
170 |
165~175 |
153 |
|||||||
|
VD180A |
180 |
175~185 |
162 |
|||||||
|
VD190A |
190 |
185~195 |
171 |
|||||||
|
VD200A |
200 |
195~210 |
180 |
15 |
14.3 |
25 |
d1+10 |
d1+45 |
20.0±4.0 |
|
|
VD224A |
224 |
210~235 |
198 |
|||||||
|
VD250A |
250 |
235~265 |
225 |
|||||||
|
VD280A |
280 |
265~290 |
247 |
|||||||
|
VD300A |
300 |
290~310 |
270 |
|||||||
|
VD320A |
320 |
310~335 |
292 |
|||||||
|
VD355A |
355 |
335~365 |
315 |
|||||||
|
VD375A |
375 |
365~390 |
337 |
|||||||
|
VD400A |
400 |
390~430 |
360 |
|||||||
|
VD450A |
450 |
430~480 |
405 |
|||||||
|
VD500A |
500 |
480~530 |
450 |
|||||||
|
VD560A |
560 |
530~580 |
495 |
|||||||
|
VD600A |
600 |
580~630 |
540 |
|||||||
|
VD630A |
630 |
630~665 |
600 |
|||||||
|
VD670A |
670 |
665~705 |
630 |
|||||||
|
VD710A |
710 |
705~745 |
670 |
|||||||
|
VD750A |
750 |
745~785 |
705 |
|||||||
|
VD800A |
800 |
785~830 |
745 |
|||||||
|
VD850A |
850 |
830~875 |
785 |
|||||||
|
VD900A |
900 |
875~920 |
825 |
|||||||
|
VD950A |
950 |
920~965 |
865 |
|||||||
|
VD1000A |
1000 |
965~1015 |
910 |
|||||||
|
VD1060A |
1060 |
1015~1065 |
955 |
|||||||
|
VD1100A |
(1100) |
1065~1115 |
1000 |
|||||||
|
VD1120A |
1120 |
1115~1165 |
1045 |
|||||||
|
VD1200A |
(1200) |
1165~1215 |
1090 |
|||||||
|
VD1250A |
1250 |
1215~1270 |
1135 |
|||||||
|
VD1320A |
1320 |
1270~1320 |
1180 |
|||||||
|
VD1350A |
(1350) |
1320~1370 |
1225 |
|||||||
|
VD1400A |
1400 |
1370~1420 |
1270 |
|||||||
|
VD1450A |
(1450) |
1420~1470 |
1315 |
|||||||
|
VD1500A |
1500 |
1470~1520 |
1360 |
|||||||
|
VD1550A |
(1550) |
1520~1570 |
1405 |
|||||||
|
VD1600A |
1600 |
1570~1620 |
1450 |
|||||||
|
VD1650A |
(1650) |
1620~1670 |
1495 |
|||||||
|
VD1700A |
1700 |
1670~1720 |
1540 |
|||||||
|
VD1750A |
(1750) |
1720~1770 |
1585 |
|||||||
|
VD1800A |
1800 |
1770~1820 |
1630 |
|||||||
|
VD1850A |
(1850) |
1820~1870 |
1675 |
|||||||
|
VD1900A |
1900 |
1870~1920 |
1720 |
|||||||
|
VD1950A |
(1950) |
1920~1970 |
1765 |
|||||||
|
VD2000A |
2000 |
1970~2020 |
1810 |
|||||||
|
注:公称轴径栏中,带括弧的是非标准尺寸,尽量不采用。 |
||||||||||

