|
螺旋密封设计要点 |
|||||||||||
|
设计要点 |
说 明 |
||||||||||
|
赶 油 方 向 |
|
对于螺旋密封的赶油方向要特别注意,若把方向搞错,则不但不能密封,相反,却把液体赶向漏出方向,使得泄漏量大为增加 图中表明了螺旋密封的赶油方向。设轴的旋转方向 n 从右向左看为顺时针方向。如欲使赶油方向向左,当螺纹加工于轴 1 上时,则应为左螺纹;当螺纹加工于壳体 2 的孔内时,则螺纹方向应与前者相反,为右螺纹 |
|||||||||
|
密 封 间 隙 |
螺旋密封的间隙愈小,对密封愈有利。如果间隙大,则液体介质不能同时附着于轴与孔的表面上。若液体介质仅附着于孔壁而与轴分离,则螺旋密封不起赶油作用,即密封无效 为了尽可能减小此间隙,但又避免轴碰到壳体的孔壁而磨坏,在壳体的内孔表面涂一层石墨,这样万一轴变形而碰到壳体孔壁时,将仅仅刮下一些石墨,而不致产生金属接触摩擦 通常,间隙c=(0.6/1000~2.6/1000)d,或取c=0.2mm,d为密封轴径 |
||||||||||
|
螺 纹 型 式 |
螺纹型式:有普通三角形螺纹、锯齿形螺纹、梯形螺纹、半圆形螺纹、矩形螺纹。螺纹的头数可以是单头,或多头,但对于转速较低的螺旋密封,最好选用多头螺纹 从提高密封压力角度考虑,选用三角形螺纹最好,梯形螺纹中等,矩形螺纹最差 从提高输油量角度考虑,选用梯形螺纹最好,三角形螺纹中等,矩形螺纹最差,但因矩形螺纹加工方便,所以应用仍较广 |
||||||||||
|
矩 形 螺 纹 尺 寸 |
轴直径/mm |
10~18 |
>18~30 |
>30~50 |
>50~80 |
>80~120 |
|||||
|
直径间隙/mm |
0.045~0.094 |
0.060~0.118 |
0.075~0.142 |
0. 095~0.175 |
0.120~0.210 |
||||||
|
螺距/mm |
3.5 |
7,10 |
7,10 |
10 |
16,24 |
||||||
|
螺纹头数 |
1 |
2 |
2 |
3 |
4 |
||||||
|
螺纹槽宽/mm |
1 |
1 |
1.5,2 |
1.5 |
2 |
||||||
|
螺纹槽深/mm |
0.5 |
0.5 |
1.0 |
1.0 |
1.0 |
||||||
|
矩 形 螺 纹 槽 参 数 |
螺旋角α:加大α角,能使密封浸油长度减小。当α=15°39′时,浸油长度最小,如果螺旋角继续加大,浸油长度反而加大,所以一般选α=7°~15°39′ 螺纹槽形状比w:对螺纹槽中液体流动情况有影响。为了保证层流状态,螺纹形状比w不小于4 相对螺纹槽宽比u:u值大,使密封浸油长度加大,对密封不利,一般取u=0.5或u=0.8 相对螺纹槽深v:一般取v=4~8 当u=0.5,α=8°41′,v=5时,消耗功率最小,但随α增大或减小,消耗功率增大 当u=0.5,α=15°39′,v=4时,密封浸油长度最小,但α>15°39′时,浸油长度增大 输送油品的离心泵选取u=0.5、v=4、α=15°39′较为合适 |
||||||||||
|
密封轴 线速度 |
在一定速度范围内,加大线速度能提高密封性能或减小密封浸油长度,但超过一定速度时,密封发热,使温度升高;由于轴的搅动,大气中的空气混入,降低密封性能,所以螺旋密封宜使用在线速度小于24m/s的场合 |
||||||||||
|
轴与轴孔 的偏心 |
当偏心量微小时,对密封液层流状态影响不大;但偏心量较大时,螺纹与孔之间的间隙一边会很宽,另一边会很窄,造成流动阻力不同,泄漏会在宽间隙一侧产生,同时会降低密封的使用寿命 |
||||||||||
|
密封压差 |
密封压差主要由被密封介质压力决定。如果密封液就是机内被密封介质,则密封压差等于机内被密封介质压力与大气压力之差;如果被密封介质为气体,其压力为p1,则密封液压力p2应略高于p1,密封压差Δp=p2-p1,通常取Δp≈0.05~0.1MPa;如果机内为负压,则p2应略高于大气压力 |
||||||||||
|
密封液 |
密封气体时,密封液的选择是很重要的。它应满足下列要求:密封液对被密封的气体必须是稳定的;密封液有较大的黏度和较平坦的黏度-温度曲线,必要时需设有冷却措施;密封液有较大的热导率、表面张力;密封液有较低的饱和蒸气压,对真空密封尤为重要;对被密封气体有较小的溶解度 |
||||||||||
|
停车密封 |
由于螺旋密封在低速和静止状态不能起密封作用,故设计既简单又可靠的停车密封是很重要的。停车密封有多种,如皮碗、骨架油封、滑阀式、端面式等 |
||||||||||
|
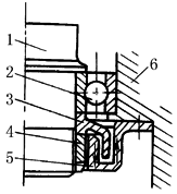
回 油 结 构 |
(a) |
(b) |
1—轴; 2—螺纹衬套; 3—壳体 |
|
1—轴; 2—轴承; 3—螺旋密封件; 4—螺母; 5—密封盖; 6—壳体 |
||||||
|
螺旋密封中部设置回油路。用在螺旋密封的长度较长的情况。图a是在螺纹衬套2的中部有环槽,通向回油孔。图b是将螺纹衬套分为两部分,两部分之间有很大的回油空间,以便回油,使密封效果更好 |
垂直轴的螺旋密封。螺旋密封件3有内、外螺纹,内螺纹将漏出的润滑脂往下赶回,外螺纹将润滑脂往上赶回,最后把润滑脂赶回到密封盖5与轴承之间的空间中 |
||||||||||




