|
波纹管式机械密封端面比压计算 |
||||
|
|
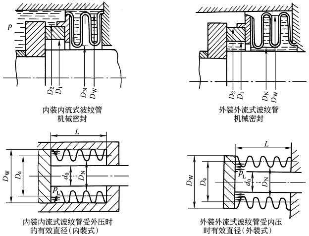
pL—— 密封腔内介质压力,MPa DN—— 波纹管内径,mm; DW—— 波纹管外径,mm: d0—— 密封轴径,mm; D1—— 密封端面接触内径,mm D2—— 密封端面接触外径,mm。 De—— 波纹管有效直径,mm; L—— 波纹管长度,mm |
|||
|
项 目 |
内装内流式 |
外装外流式 |
说 明 |
|
|
介质压力作用在密封端 面上产生的轴向力Fb/N |
|
|
d0—— 轴径,mm |
|
|
有效直径 De/mm |
矩形波 |
|
车制聚四氟乙烯管为矩形波 |
|
|
锯齿形波 |
|
焊接金属波纹管为锯齿形波 |
||
|
U形波 |
|
压力成形金属波纹管为U形波 |
||
|
载荷系数K |
|
|
P′—— 弹簧刚度,不采用弹簧时,P′=0,N/mm
pp—— 密封端面平均压力,MPa,pp=λpL λ—— 介质反压力系数,由表机械密封的计算中表2选取 |
|
|
弹性元件的弹性力Fd/N |
|
|||
|
弹簧比压ps/MPa |
高速机械,υ>30m/s时,ps=0.05~0.2MPa 中速机械,υ=10~30m/s时,ps=0.15~0.3MPa 低速机械,υ<10m/s时,ps=0.15~0.6MPa 搅拌釜,ps可取大些 |
|||
|
密封端面液膜推开力R/N |
|
|||
|
动环所受合力F (由接触端面承受)/N |
|
|||
|
端面比压pc/MPa |
|
|
|
|
|
项 目 |
大气侧(波纹管受外压) |
介质侧(波纹管受内压) |
说 明 |
|
|
加压式双端面密封简图 |
|
|||
|
双端面密封 端面比压pc/MPa |
|
|
λsL—— 隔离液反压力系数,按表机械密封的计算中表2选取 psL—— 隔离液压力,MPa |
|


