|
结构型式及特点 |
||||
|
简图 |
结构特点 |
简图 |
结构特点 |
|
|
1—轴;2—壳体;3—卡圈; 4—骨架;5—皮碗;6—弹簧 |
骨架 4 与皮碗 5 应牢固地结合为一体,唇口与轴的过盈一般可取1~2mm,油封外径与壳体的配合过盈宜取0.15~0.35mm |
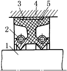
1—轴;2—弹簧;3—骨架; 4—壳体;5—皮碗 |
两主唇油封。即在一个油封上设置两个主唇,用两个弹簧箍紧,可提高密封可靠性,两唇之间可储存润滑剂,以减小摩擦 |
|
|
|
除利用介质压力帮助密封外,还增大了唇口与轴的接触面积。宜用于压差特大的场合,但速度要降低,油封使用寿命较短 |
1—轴;2—弹簧;3—皮碗; 4—骨架;5—孔环;6—壳体 |
由两个油封组合而成密封结构。图 a 用于防止单方向泄漏;图 b 可以防止两个方向泄漏。孔环 5 可用以加入润滑剂,也可用作漏出孔 |
|
|
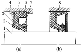
1—轴;2—托架;3—皮碗;4—卡圈; 5—骨架;6—壳体;7—弹簧;8—外罩 |
带托架的油封。在普通结构的皮碗上增设一个托架2,用于高压密封。托架可防止高压时唇口翻转。图 b 为将皮碗的外罩 8 同时兼作托架用,这类结构密封压力为几个大气压 |
|
油封悬臂于骨架之外。骨架与皮碗的结合特别重要,介质压力方向有使唇口离开轴的趋势,故不宜用在压差很大的地方 |
|
|
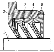
1—轴;2—骨架;3—壳体; 4—皮碗;5—弹簧 |
多唇油封。弹簧压紧的唇口为主唇,其余为副唇。主唇靠内,用以防止液体漏出,副唇靠外,用以防止灰尘,副唇也可加设几个 |
1—轴;2—壳体;3—皮碗; 4—板片弹簧 |
带板簧的油封。用板片弹簧代替螺旋弹簧,克服了在剧烈振动的环境下螺旋弹簧往往会脱出的缺陷 |
|
|
1—轴;2—骨架;3—壳体; 4—皮碗;5—弹簧 |
径向尺寸特别小的油封,用在径向空间受限制的地方,如用于滚针轴承封油 |
1—轴;2—弹簧;3—壳体;4—皮碗; 5—骨架;6—卡圈 |
壳体旋转的油封密封。用在轴与壳体的相对运动中。此结构轴与油封静止不动,而壳体作旋转运动,此时弹簧的弹力应向外 |
|
|
|
介质压力有助于封严,可用于压差较大的地方 |
|||
|
1—轴;2—皮碗;3—壳体; 4—骨架;5—弹簧 |
弹簧埋藏在皮碗内部。在强烈振动下弹簧不会脱出皮碗 |
|||
|
1—轴;2—壳体;3—骨架;4—皮碗 |
无弹簧的油封。轴向尺寸缩短很多,用在压差小于等于0.1MPa的场合,一般用于封油,也可用以防尘,但速度应较低(小于5m/s) |
|||
|
1—轴;2—皮革皮碗;3—毛毡; 4—外罩;5—壳体;6—隔板; 7—支板;8—壁板;9—弹簧 |
皮革皮碗密封。通常用螺旋弹簧箍紧,但也可用波形板弹簧压紧。图 b 设置两个皮革皮碗,常用在掘土机、粉碎机械等尘土特别多而工作条件非常恶劣的地方 |
|||
|
1—轴;2—壳体;3—密封件; 4—托架;5—盖子 |
油封密封和迷宫密封的组合。最适宜用于封气,防止右腔的气体漏到左腔。若用于真空密封,则真空腔应在左边 |
|||















