|
软填料动密封 |
||
|
软填料动密封类型及结构特点 |
||
|
类型 |
简图 |
结构特点 |
|
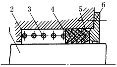
简单填料箱 |
1—轴;2—壳体;3—孔环;4—橡胶环; 5—压盖;6—垫圈;7—填料;8—螺母 |
图 a 用两个橡胶环 4 作为填料,结构简单,便于制造。图 b 为常用螺母旋紧的密封结构,也可用压盖压紧填料,填料 7 可用浸油石棉绳 这种密封结构未采用改善填料工况的辅助措施,如润滑、冲洗、冷却等措施,所以常用于不重要的场合,一般用于阀杆类开关的密封,因拧开关的转速极低,开关的密封压力可大于15MPa。用于搅拌器转速较低,当密封压力小于0.02MPa时,使用温度可达80~100℃ |
|
封液填料箱 |
1—轴;2—壳体;3—填料; 4—螺钉;5—压盖;6— 封液环 |
典型的填料密封结构。压力沿轴向的分布不均匀,靠近压盖 5 的压力最高,远离压盖 5 的压力逐渐减小,因此填料磨损不均匀,靠近压盖处的填料易损坏 封液环 6 装在填料箱中部,可以改善填料压力沿轴向分布的不均匀性。在封液环处引入封液(每分钟几滴)进行润滑,减少填料的磨损,提高使用寿命 若在封液入口呈180°的壳体 2 上开一封液出口,则为贯通冲洗,漏液在封液处被稀释带走,可用于易燃、易爆介质或压力低于0.345MPa、温度小于120℃的场合 |
|
封液冲洗填料箱 |
1—轴;2—压盖;3—外侧填料;4,7—封液环; 5—内侧填料;6—箱体 |
在箱体 6 的底部装设封液环7,并引入压力较介质压力高约0.05MPa的清洁液体作为冲洗液,阻止被密封介质中的磨蚀性颗粒进入填料摩擦面。在封液环 4 处引入封液每分钟数滴,对填料进行润滑。也可以不设封液环 4,直接由冲洗液流进行润滑。在压盖 2 处引入冷却水,带走漏液,冷却轴杆,并阻止环境中粉尘进入摩擦面 |
|
双重填料箱 |
1—轴;2—内箱体;3—内侧填料; 4—外箱体;5—外侧填料;6—压盖 |
两个填料箱叠加。外箱体 4 的底部兼作内箱体的填料压盖,通过螺钉压紧内侧填料3。在外箱体 4 可引入封液,进行冲洗、冷却,并稀释漏液后排出。适用于密封易燃、易爆介质以及介质压力较高(高于1.2MPa)的场合 |
|
改进型填料密封 |
1—轴;2—壳体;3—上密封环; 4—下密封环;5—螺钉;6—压盖 |
填料由橡胶或聚四氟乙烯制成的上密封环3和下密封环4组成,两者交替排列。上密封环与壳体接触,下密封环与轴接触,因此,盘根与轴的接触面积约减小一半,两个下密封环之间有足够的空间储存润滑油,对轴的压力沿轴向分布较均匀,改善摩擦情况 |
|
填料旋转式填料箱 |
1—轴;2—箱体;3—夹套;4—填料; 5—O 形环;6—压盖;7—传动环 |
填料 4 的支承面不是在箱体 2 上,而是在轴 1 的台肩上。压盖 6 上的螺钉与传动环 7 连接。填料靠传动环与轴台肩之间的压力产生的摩擦力随轴旋转,摩擦面位于填料外圆和箱体内侧表面,热量容易通过夹套 3 内的冷却水排除,可用于高速旋转设备,不磨损轴 |
|
夹套式填料箱 |
1—夹套;2—轴套;3—压盖;4—轴 |
在填料箱内侧设有夹套1,通入冷却水进行冷却循环,用于介质压力低于0. 69MPa、温度低于200℃的场合。若介质温度高于200℃,为了防止热量通过轴传给轴承,在填料箱压盖 3 通入冷却水冷却传动轴4,经轴套 2 内侧,再从压盖 3 上排液口排出 |
|
带轴套填料箱 |
1—轴;2—螺母;3—键;4—压盖; 5—轴套;6—箱体;7—填料;8—O 形环 |
填料 7 与轴 1 之间装设轴套5。轴套与轴之间采用 O 形环 8 密封。O 形环材料应适合被密封介质的腐蚀及温度要求。轴套靠键 3 传动而随轴旋转,并利用螺母 2 固定到轴上。轴套与填料接触的部位进行硬化处理 这种结构的优点是当轴套磨损时,便于更换与维修 |
|
带节流衬套填料箱 |
1—轴;2—箱体;3—节流衬套;4—填料; 5—封液环;6—垫环;7—压盖 |
当被密封介质压力大于0.6MPa时,在填料箱底部应增设节流衬套3,增大介质进入填料箱的阻力,降低密封箱内的介质压力。同时增设垫环6,以防填料在压盖 7 高压紧力的条件下从缝隙中挤出 |
|
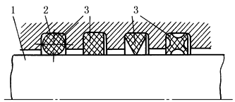
柔性石墨填料密封 |
1—轴;2—填料环;3—柔性石墨环; 4—箱体;5—压盖 |
柔性石墨环 3 系压制成型,具有高耐渗透能力和自润滑性,不需要过大的轴向压紧力,对轴可减少磨损。但由于柔性石墨抗拉、抗剪切力较低,一般需与其他强度较高的填料环(如图中填料环2)组合使用。通常,介质压力较低时,填料环 2 设置在填料箱内两端,材料为石棉;介质压力较高时,每 2 片柔性石墨环装设 1 片填料环 2,其材料为石棉、塑料(常温),高温高压时用金属环。这样,可以防止石墨嵌入压盖与轴1、箱体 4 与轴之间的间隙。用于往复和旋转运动的各种密封 柔性石墨环装在轴上之前需用刀片切口,各环切口互成90°或120° |
|
弹簧压紧填料密封 |
1—轴;2—壳体;3—弹簧;4—压圈; 5—橡胶密封环;6—盖子 |
用弹簧压紧胶圈的密封,其压紧力为常数(取决于弹簧3)。常用于往复运动的密封,有时也用于旋转运动的密封。橡胶密封环 5 的锐边应指向被密封介质,密封介质的压力将有助于自密封 |
|
弹簧压紧胶圈的水泵填料密封 |
1—轴;2—挡板;3—压圈;4—弹簧;5—垫圈; 6— 孔环;7—橡胶密封件;8—螺母;9,13—轴承; 10—叶轮;11—壳体;12—轴承盖 |
用弹簧压紧胶圈的水泵密封,轴 1 的左腔为润滑油腔,右腔为水腔,两腔之间装有 3 个橡胶密封件7,用两个弹簧 4压紧封严,孔环 6 加入润滑脂来润滑橡胶密封件 7 的摩擦表面。这种结构可防止油腔与水腔互相渗漏 |
|
胶圈填料密封 |
1—轴;2—壳体;3—橡胶圈 |
是最简单的填料密封,摩擦力小,成本低,所占空间小,但不能用于高速 胶圈密封用于旋转运动时,其尺寸设计完全不同于用于固定密封或往复运动密封,因为旋转轴与橡胶圈之间摩擦发热很大,而橡胶却有一种特殊的反常性能,即在拉伸应力状态下受热,橡胶会急剧地收缩,因此设计时,一般取橡胶圈外径的压缩量为橡胶圈直径的4%~5%,这个数值由橡胶圈外径大于相配槽的内径来保证 常用的是 O 形,但 X 形较理想 |













