|
静密封的分类、特点及应用 |
||||
|
分类 |
原理、特点及简图 |
应用 |
||
|
法 兰 连 接 垫 片 密 封 |
|
在两连接件(如法兰)的密封面之间垫上不同型式的密封垫片,如非金属、非金属与金属的复合垫片或金属垫片。然后将螺纹或螺栓拧紧,拧紧力使垫片产生弹性和塑性变形,填塞密封面的不平处,达到密封的目的 密封垫的型式有平垫片、齿形垫片、透镜垫、金属丝垫等 |
密封压力和温度与连接件的型式、垫片的型式、材料有关。通常,法兰连接密封可用于温度范围为-70~600℃,压力大于1.333kPa(绝压)、小于或等于35MPa。若采用特殊垫片,可用于更高的压力 |
|
|
自 紧 密 封 |
密封元件不仅受外部连接件施加的力进行密封,而且还依靠介质的压力压紧密封元件进行密封,介质压力越高,对密封元件施加的压紧力就越大 |
图a为平垫自紧密封,介质压力作用在盖上并通过盖压紧垫片,用于介质压力100MPa以下,温度350℃的高压容器、气包的手孔密封 图b为自紧密封环,介质压力直接作用在密封环上,利用密封环的弹性变形压紧在法兰的端面上,用于高压容器法兰的密封 |
||
|
研 合 面 密 封 |
|
靠两密封面的精密研配消除间隙,用外力压紧(如螺栓)来保证密封。实际使用中,密封面往往涂敷密封胶,以提高严密性 |
密封面粗糙度Ra=2~5μm。自由状态下,两密封面之间的间隙不大于0.05mm。通常密封压力小于100MPa及550℃的介质,螺栓受力较大。多用于汽轮机、燃气轮机等汽缸接合面 |
|
|
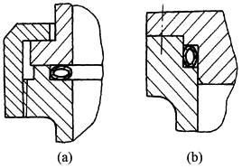
O形环密封 |
非金属O形环 |
|
O形环装入密封沟槽后,其截面一般受到15%~30%的压缩变形。在介质压力作用下,移至沟槽的一边,封闭需密封的间隙,达到密封的目的 |
密封性能好,寿命长,结构紧凑,装拆方便。选择不同的密封圈材料,可在-100~260℃的温度范围使用,密封压力可达100MPa。主要用于汽缸、油缸的缸体密封 |
|
O形环密封 |
金属空心O形环 |
O形环的断面形状为长圆形。当环被压紧时,利用环的弹性变形进行密封。O形环用管材焊接而成,常用材料为不锈钢管,也可用低碳钢管、铝管和铜管等。为提高密封性能,O形环表面需镀覆或涂以金、银、铂、铜、氟塑料等。管子壁厚一般选取0.25~0.5mm ,最大为1mm。用于密封气体或易挥发的液体,应选用较厚的管子;用于密封黏性液体,应选用较薄的管子 |
O形环分为充气式和自紧式两种。充气式是在封闭的O形环内充惰性气体,可增加环的回弹力,用于高温场合。自紧式是在环的内侧圆周上钻有若干小孔,因管内压力随同介质压力增高而增高,使环有自紧性能,用于高压场合 金属空心O形环密封适用于高温、高压、高真空、低温等条件,可用于直径达6000mm,压力280MPa,温度-250~600℃的场合 图a、图b表示O形环设置在不同的位置上 |
|
|
胶 圈 密 封 |
|
1—壳体;2—橡胶圈; 3—V形槽;4—管子 |
结构简单,重量轻,密封可靠,适用于快速装拆的场合。O形环材料一般为橡胶,最高使用温度为200℃,工作压力0.4MPa,若压力较高或者为了密封更加可靠,可用两个O形环 |
|
|
填 料 密 封 |
|
在钢管与壳体之间充以填料(俗称盘根),用压盖和螺钉压紧,以堵塞漏出的间隙,达到密封的目的 |
多用于化学、石油、制药等工业设备可拆式内伸接管的密封。根据充填材料不同,可用于不同的温度和压力 |
|
|
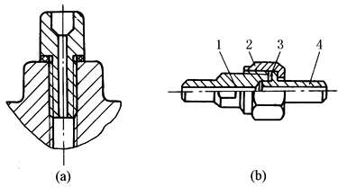
螺 纹 连 接 垫 片 密 封 |
1—接头体;2—螺母;3—金属平垫;4—接管 |
适用于小直径螺纹连接或管道连接的密封 图a中的垫片为非金属软垫片。在拧紧螺纹时,垫片不仅承受压紧力,而且还承受转矩,使垫片产生扭转变形,常用于介质压力不高的场合 图b所示采用金属平垫密封,又称“活接头”,结构紧凑,使用方便。垫片为金属垫,适用压力32MPa,管道公称直径DN≤32mm |
||
|
螺 纹 连 接 密 封 |
1—管子;2—接管套;3—管子 螺纹连接密封结构简单、加工方便 |
用于管道公称直径DN≤50mm的密封 由于螺纹间配合间隙较大,需在螺纹处放置密封材料,如麻、密封胶或聚四氟乙烯带等,最高使用压力1.6MPa |
||
|
承 插 连 接 密 封 |
|
用于管子连接的密封。在管子连接处充填矿物纤维或植物纤维进行堵封,且需要耐介质的腐蚀,适用于常压、铸铁管材、陶瓷管材等不重要的管道连接密封 |
||
|
密 封 胶 密 封 |
用刮涂、压注等方法将密封胶涂在要紧压的两个面上,靠胶的浸润性填满密封面凹凸不平处,形成一层薄膜,能有效地起到密封作用 图a所示为斜对接封口。由于斜面连接大大增加了密封面积,比对接封口承载能力大,受力情况好,但要求被密封件有一定厚度,封口锥度尺寸一般取l/t≥10。图b为双搭接,承载能力大 |
密封胶密封主要用于管道密封。密封胶密封适用于非金属材料,如塑料、玻璃、皮革、橡胶以及金属材料制成的管道或其他零件的密封 密封牢固,结构简单,密封效果好,但耐温性差,通常用于150℃以下,用于汽车、船舶、机车、压缩机、油泵、管道以及电动机、发动机等的平面法兰、螺纹连接、承插连接的胶封 |
||











