|
工程用塑料零件的设计注意事项 |
||
|
注 意 事 项 |
不 好 的 设 计 |
改 进 后 的 设 计 |
|
壁厚应尽可能均匀一致,防止在成型过程中由于不均匀的固化与收缩,在厚壁处产生气泡和收缩变形,在急剧过渡处因收缩应力引起裂纹 |
|
|
|
零件内外表面相连及转角处应为圆角,以免产生应力集中,影响强度。在无特殊要求时,零件转角处的圆角半径应不小于0.5~1mm |
|
|
|
避免采用整体基面作支承面,加强筋与支承面应相距0.5mm的高度,以免因加强筋而影响支承面的准确度 |
|
|
|
孔尽可能设置在不易削弱零件强度的位置。除相邻孔之间以及孔到边缘之间保留适当的距离外,尽可能使有孔部分壁厚厚一些,以防止孔眼处安装零件而破裂。由于锥形埋头螺钉头对于孔的边缘有侧向力,易使边缘发生崩裂,应避免采用 |
|
|
|
在注塑成型零件时,由于塑料流动产生的压力不平衡,使型芯变形、弯曲或折断。通常不通孔H<(3~5)d;通孔H<(8~10)d,孔径<f1.5mm时H≈(3~6)d 侧孔和侧凹的设置要简化模具结构,以便于零件的脱模,缩短生产周期,提高产品质量 |
|
|
|
合理采用加强筋可减少壁厚,节省材料,提高制件的强度和刚性,防止翘曲 加强筋的布置应考虑塑料局部集中而形成缩孔和凹形。如左图的布置,就易产生收缩和气泡 |
|
|
|
凸出部分尽量位于转角处,凸出部分的高度不应超过孔直径的两倍,并应有足够的倾斜角以便脱模。过高的凸出部分会关住气体,使这部分强度和密度减小。凸出点不宜多于3个,如超过3个,需进行机械加工 |
|
|
|
外螺纹不应延长到与支承面相连接处,以免端部螺纹脱落 为防止螺孔内最外圈的螺纹易于崩裂,应增加一个具有台阶形的空穴 同一零件的上下两段螺纹,其螺距与旋转方向应相同,否则其中一段螺纹就得用镶拼螺纹型芯、型腔成型或机加工制成,增加了模具结构与工艺的复杂性 |
|
|
|
必须考虑有足够的脱模斜度,斜度的大小与塑料的性质、收缩率、厚度、形状有关。一般推荐的脱模斜度为15'~1° |
|
|
|
零件的壁与底部的厚度应均匀或尽量平缓过渡,厚薄悬殊或突变,将引起收缩不一致,产生气泡、凹陷或变形 对于热固性塑料壁厚过渡比,模压时为1∶3,挤压时为1∶5,热塑性塑料为1∶(1.5~2) |
|
|
|
外表面有凹凸纹的手轮或手柄等零件,应使凹凸纹的条纹与脱模方向一致,以便于简化模具和脱模 |
|
|
|
零件上的文字、符号或装饰花纹应采用凸形,以简化模具制造。如零件上不允许有凸起,或在文字、符号上需涂色时,可将凸起的文字或符号设置在凹坑内,既便于制造,又避免碰坏凸起的文字或符号 |
|
|
|
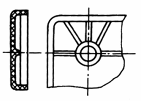
成型后分型面处的飞边应易清除。右图的分型处形状为一圆形飞边,容易清除 |
|
|
|
齿轮设计: (1)齿形目前多采用标准齿廓,即分度圆压力角α分=20°,齿高系数f=1形式 (2)塑料齿轮的结构尺寸: t≥3t1,t3≤t2,t4>t2,t4=d1,d2=(1.5~3)d1 设计原则是保证最小的应力集中和防止成型收缩不均匀所造成的齿形歪斜,因此在结构上应避免尖角和断面的突变,尽可能使各部分厚度相同,圆角和圆弧应大些 (3)尽量不在齿轮辐板上开孔与加筋,以防止由于各部分收缩不均而引起轮齿歪斜 (4)与轴的连接形式:可采用花键或半圆键连接。采用花键连接时,连接精度较高,键槽工作面比压较小;而采用半圆键连接时,可降低应力集中。如采用单个平键连接,当传递力矩较大时,往往在键槽处发生压溃变形或尖角开裂 |
|
|
|
合理设计塑料零件的嵌件: 图a,尽量采用不通孔或不穿的螺纹孔,这样可在设计模具时采用插入式解决嵌件的定位 图b,嵌件表面需滚花或开设沟槽时,一般小嵌件的沟槽,深为1~2mm,宽为2~3mm,转角处为圆弧,滚花为菱形;齿高1~2mm如零件受力很小时,可只采用菱形滚花,不开沟槽 图c,条件许可时,金属嵌件应凸起或凹入1.5~2mm,以保证嵌件稳定 图d,布置在凸耳或凸起部分的嵌件,应比凸耳或凸起部分长一些,以提高零件的机械强度 图e,尽量避免采用片状、细长的嵌件。当必须采用膜片、细长的嵌件时,为防止成型时塑料对嵌件冲击而造成弯曲变形,应采用销钉支承或打孔A通流 图f,螺杆嵌件的光杆部分与模具应为H8/f9配合。为防止塑料沿螺纹部分溢料,螺纹部分应留在塑料外面,如右图设计 图g,螺纹通孔嵌件高度应低于成型高度0.05mm。嵌件过高易产生变形 图h,嵌件装夹定位部分应具有H8/f9配合,以保证金属嵌件能精确地固定在模具中 图i,圆柱表或套筒形嵌件推荐结构尺寸如右图,在特殊情况下H可加大,但不得大于2D 图j,板形、片状金属嵌件可采用右图方式固定。当嵌件厚度小于0.5mm时,最好不用孔固定结构,而采用切口或折弯的方法固定 图k,金属嵌件周围的塑料不能太薄,否则塑料会因冷却收缩而破裂。右图中列出了嵌件周围塑料层的推荐尺寸 |
|
|
|
|
||





























