|
铸件设计的一般注意事项(JB/ZQ 4169—1997) |
||||||||||||
|
注 意 事 项 |
不 好 的 设 计 |
改 进 后 的 设 计 |
||||||||||
|
一、必须针对不同的铸造材料的性能、铸造方法等考虑合理的结构 二、铸件的壁厚变化对金属的力学性能均有影响,查阅手册时必须注意它随壁厚变化的指标。一般在壁厚增加时,铸铁的抗弯强度和硬度下降,壁厚太薄又会发生白口;锡青铜的强度和韧性均下降;铝合金则强度下降,塑性提高 三、铸件的最小壁厚必须结合零件的复杂程度、尺寸大小、材料以及制造工艺来确定 四、简化模型设计 |
||||||||||||
|
1.铸件结构或泥心形状力求简单,在可能情况下尽量采用直线形的轮廓 图a的外形及泥心的形状与泥心的支承、造型都比图a'困难 图b是有曲面的泥心,制造比改成平面的b'图要贵 |
|
|
||||||||||
|
2.在满足使用要求前提下,应尽可能缩小轮廓尺寸,这样既可以降低制造工作量和造型费用,又可以使结构更加紧凑 |
|
|
||||||||||
|
3.在使用和制造许可条件下,应考虑用刮板造型代替砂模 图a垂直方向的撑筋须用撑筋模型,而且三角形孔的泥心须用特别的木框做成,对小而窄的轮子可用图a'代替,采用刮板造型 |
|
|
||||||||||
|
五、易于造型及合理确定分型面 |
||||||||||||
|
1.拔模方向应留适当的结构斜度和圆角,便于拔模,保证砂型质量,提高劳动生产率 |
|
|
||||||||||
|
2.避免出现使造型发生困难的死角(如内凹) 左边两图都存在内凹,容易发生撞砂,砂型质量无法保证,难于造型 |
|
|
||||||||||
|
3.分型面形状力求简单,数目力求减少 图a需要复杂的分型面,图b则需要有特制的型芯或可拆卸的模子,而图a'、图b'只需一个分型面,简化了造型。图c'适当改变外形,方便了分型 |
|
|
||||||||||
|
图d、e需两个分型面,改成图d'、e'后只需一个分型面 |
|
|
||||||||||
|
|
|
|||||||||||
|
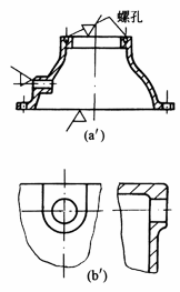
4.合理设置凸台和圆座,以利于造型和加工,并可使铸造偏差不致影响结构的性能要求 图a'不需设活块模造型,图b'使凸台在同一平面,图c'侧壁留有f/h≥3的沟槽,便于加工,图d'可防止因铸造偏差影响使用,图e因为四个凸台(T)的局部阻碍沿 B—A分模造型,而只能采用图示分型面,使得上箱很高,造型和落砂都费劲,改成图e'后,将四凸台局部削薄,而能采用图示分型面,从而大大简化了造型和减少落砂劳动量 |
|
|
||||||||||
|
5.增加砂型强度 图a'将小头法兰改成内法兰,大头法兰改成外法兰,并适当增加法兰厚度 图b凸台离侧边太近,砂型不牢,改为图b'较好 |
|
|
||||||||||
|
图c两凸台相距太近,容易掉砂,可改为图c'形式 |
|
|
||||||||||
|
6.尽量避免或减少采用型芯 图a'取消了穿透的细长孔和中间空腔的内凹部分,便可以不用型芯了。图b是左右上托板的原设计,由于外形有圆弧曲面A,因此需采用两块型芯,改成图b'后,将曲面改为平面B,省去两个型芯 |
|
|
||||||||||
|
7.保证型芯能牢固地安置在铸型里。一般用型芯头定位,尽量不用型芯撑或吊挂型芯的方法。采用型芯撑如图a易使铸件不紧密,并发生硬块,对受压、耐火和耐腐蚀的铸件,以及在滑动的平面上,都不能使用。图b采用两个孤悬的型芯,很不容易安设;改为图b',采用一个型芯或两个型芯、两端分别设置型芯头的方法,安设就很方便。图d改为图d',减少了型芯,不用芯撑。图e改为图e',可不用吊芯和芯撑。图f下芯十分不便,需先放入中间芯,放芯撑固定后,再从侧面放入两边型芯,芯头处需用干砂填实;改为图f'后两边型芯可先放入,不妨碍中间型芯的安放;图c'在铸件内部增加一个工艺孔,不影响使用性能,但改善了型芯的固定,并使型芯中的气体易于排出,也有利于出砂 |
|
|
||||||||||
|
8.型芯形状要简单,出砂要方便 图a是XC624万能铣头本体原设计,需要四个型芯,改进成图a'后,只要一个型芯。图b有一厚度仅25mm且有双曲面的型芯,制造困难,费用很大,由于这是没有特别大压力的冷却夹层,故可改用图b'的结构,既简化了型芯,也便于支撑和出砂 |
|
|
||||||||||
|
9.型芯的透气性要好。左图透气孔未设在最上端,使型芯中逸出的气体,都向上集中在空间b内,渗入铁液中,而形成铸件的气孔,而且出砂比较困难;改成右图后,将透气孔移至最上端便克服了这些缺点 |
|
|
||||||||||
|
10.铸件两壁之间的型芯厚度,一般应不小于两边壁厚的总和,以免两壁熔接在一起 |
|
|
||||||||||
|
六、考虑浇铸的特点 |
||||||||||||
|
1.避免水平设置较大的薄壁平面,以利于气体和熔渣等的排出,并防止冷却时造成冷隔 |
|
|
||||||||||
|
2.壁厚应尽可能地均匀,避免金属局部积聚和厚度的突变,否则容易产生缩孔、缩松和裂纹 图a、b、c由于处理过渡不同,应力顺序依次减少,强度依次增加;图d'、e'减少了金属过多的积聚 |
|
|
||||||||||
|
在交叉区内的最大圆的直径不应大于1.5S(壁厚),两交叉区并应逐渐过渡,图f、g应改为图f'、g' 过渡圆太大,如图h,也会产生缩孔,应改成图h' 筋的配置和厚度不当,也会产生缩孔、缩松等,如图i、j、k,应改为图i'、j'、k′
|
|
|
||||||||||
|
3.内部壁厚比外壁应适当减薄,使整个铸件能均匀冷却,防止产生内应力和裂纹,如图a' 断面要逐渐过渡,并要有适当的过渡圆弧,如图b' 图c会因轮圈收缩,使两孔之间产生裂纹,可如图c'所示通过增加孔圆周凸缘束避免,相关尺寸,如表所示
b-h=(0.5-0.6)S |
|
|
||||||||||
|
4.在条件允许时,可改变铸件的结构或设置防裂筋来增加铸件过热处的强度,以防止热裂。右图两截面交接处,由直角形转弯改成圆弧形,以减少应力集中,防止热裂 |
|
|
||||||||||
|
5.细长件和大平板应正确选择截面形状,如采用对称截面,或合理设置加固筋,细长件如图a'所示,大平板如图b'所示,以防止翘曲,重要铸件须经时效处理 |
|
|
||||||||||
|
6.应使铸件在冷却时能自由收缩,特别要使受力最大的部位冷却时能不受阻变形;通常皮带轮和飞轮铸件内应力很大可用曲线轮辐,如图a',以及采用曲线轮廓的加固筋,如图b';对于大型轮类铸钢件的轮毂部分,可作出缝隙,这对防止辐板裂纹和对装配均有利,如图c 图d为内部设筋的框架形内腔铸件,不能自由收缩,图d'取消了加固筋后,可克服这一缺点 |
|
|
||||||||||
|
7.铸件角部设计也应考虑均匀冷却,所以应将角顶壁厚减少20%~25%,使角的内部不致因为迟迟不能凝结而造成热裂纹 |
|
|
||||||||||
|
8.铸件的结构应使分型面便于安置在加工面或加工面的边缘上 左图锥体表面不加工,但需保持光洁的外观,按结构分型面放在A—A上最简单,但易错箱产生裂缝破坏外观,消除很费劲,不改结构要克服此缺点便要增加砂箱,提高了成本,因此最好改成右图结构 |
|
|
||||||||||
|
9.结构应便于将铸件上质量要求高的部分或加工面放在铸型内的下面,以利用液态金属静压补缩 例如圆锥齿轮及套筒就应如右图所示位置浇铸 |
|
|
||||||||||
|
七、充分发挥材料的特性和考虑材料的不同特性 |
||||||||||||
|
1.充分利用铸铁的抗压强度,将加固筋布置在受压的部位,或采用非对称形的截面 |
|
|
||||||||||
|
2.可锻铸铁体积收缩很大,在结构的厚大部分容易产生缩孔,因此,要避免十字形截面,如图a 球墨铸铁线收缩率与灰铸铁相似,但体积收缩率很大,和铸钢相似,因此结构中壁厚尽量均匀,如图b' |
|
|
||||||||||
|
3.合理选用筋的截面形状。在要求高刚性、抗弯和抗扭强度的零件内,可应用壁上有尽量多的窗口的封闭截面,如图j |
|
|
||||||||||
|
八、考虑铸造方法的影响 |
||||||||||||
|
铸造方法改变,铸件设计必须随着作相应的改变,如由砂型铸造改为压力铸造就必须采用更圆滑的铸件形状,既便于液态金属在铸型内流动,又便于出砂 |
砂型铸造 |
压力铸造 |
||||||||||
|
九、铸件结构形状在满足功能要求同时力求简化,以方便制作和加工,降低成本,并避免废品 |
||||||||||||
|
1.相邻孔的凸台较小时,可铸成一个,如尺寸较大,则可用一根辅筋将其连接起来。浇铸斜度1:20,不必标出 |
|
|
||||||||||
|
2.为简化铸造工艺,加固凸台应布置在臂的外侧 |
|
|
||||||||||
|
3.左图设有筋的预留孔,提高了型芯箱的费用 |
|
|
||||||||||
|
4.为避免夹砂,对于支承面采用锪孔或刮平,以保证夹紧长度 x 尺寸 |
|
|
||||||||||
|
5.并排的数个凸台,板块或平面应尽可能组合在一个平面上 |
|
|
||||||||||
|
6.需加工的平面,应平行或垂直地放置在定位平面上 |
|
|
||||||||||
|
7.平行布置的加工面,应尽可能在一个平面内 |
|
|
||||||||||
|
8.防止钻头断裂,钻孔不能布置在交接处,必要时应扩大法兰或配置加固凸台 |
|
|
||||||||||
|
9.当型芯直径减小时,只有在d2>50mm,d1≥d2+30mm时,才能采用图示结构,否则应做成直通孔 |
|
|
||||||||||
|
10.圆形铸件的加工面必须与不加工处留有充分的间隙a,以提高铸件的圆度 |
|
|
||||||||||

















































































