|
点盘式制动器结构 |
|||
|
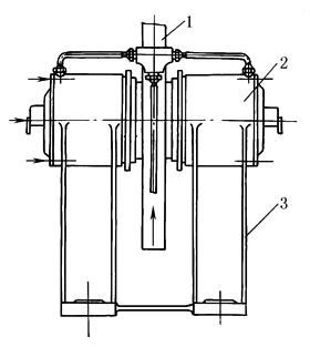
点盘式又称钳盘式,其单个制动块与制动盘接触面很小,在盘中所占的中心角一般仅为30°~50°,因而称点盘式。为了不使制动轴受到径向力和弯矩,点盘式制动缸应成对布置,制动力矩较大时,可采用多对制动缸,如图(1),必要时可在制动盘中间开通风沟,如图(2),以降低摩擦副温升,还应采取隔热散热措施,以防止液压油高温变质。点盘式制动器体积小,重量轻,动作灵敏,通过调节油压可控制制动力矩的大小。这种制动器在矿井提升机和起重机械中已广泛应用。 |
|||
|
图(1) 多对制动缸组合安装示意图 |
图(2) 带有通风沟的制动盘 |
||
|
点盘式制动器按制动钳的结构型式分固定卡钳式和浮动卡钳式。固定卡钳式即制动钳固定不动,制动盘两侧均有油缸。制动时仅两侧油缸中的活塞驱使两侧制动块作相向移动。常闭固定卡钳式见图(3)、图(4)。常开固定卡钳式见图(5),摩擦块底板4通过销轴6、1和平行杠杆组5固定在基架2上。弹簧8使制动器常开。制动时,将液压油通入油缸7,同时压缩弹簧而紧闸。平行杠杆组5能使摩擦元件与制动盘3保持平行。 |
|||
|
图(3) 常闭固定卡钳式制动器 1—制动盘;2—制动缸;3—基架 |
图(4) 常闭固定卡钳式制动器制动缸结构 1—制动盘;2—摩擦块;3—缸体;4—导引部分;5—调整垫片; 6—磨损量指示器;7—碟形弹簧;8—顶杆;9—活塞 |
||
|
图(5) 常开固定卡钳式制动器 1,6—销轴;2—基架;3—制动盘;4—摩擦块底板; 5—平行杠杆组;7—油缸;8—弹簧 |
|||
|
浮动卡钳式的制动缸是浮动的,有滑钳式与摆动钳式。图(6)为常开滑动钳式制动器,油缸进油后活塞5推动活动制动块3左移靠紧制动盘2后,制动钳体4(制动缸)在支承板9中向右滑动,并带动固定制动块1右移压紧制动盘2。 图(7)为常开摆动钳式制动器。制动缸6通过销轴12与固定基架11铰接,并借助螺栓9及弹簧10定位。制动时,液压油由进油孔7进入制动缸推动活塞5使摩擦块4压制动盘3,由于制动缸是浮动的,故活塞5同时也使摩擦块2压向制动盘。制动缸卸压后,弹簧10使制动器松闸。 表YPZ2电力液压推杆盘式制动器为YPZ2型电力液压推杆盘式制动器的产品数据。 |
|||
|
图(6) 常开滑动钳式制动器 1—固定制动块;2—制动盘(通风型);3—活动制动块; 4—制动钳体;5—活塞;6—密封圈;7—防护罩; 8—制动钳定位导向销;9—支承板;10—橡胶衬套 |
图(7) 常开摆动钳式制动器 1—轮辐;2,4—摩擦块;3—制动盘; 5—活塞;6—制动缸;7—进油孔;8—缸盖; 9—螺栓;10—弹簧;11—基架;12—销轴 |
||







