|
超越离合器的结构尺寸和性能参数 |
||||||||||||||||||||
|
表1 不带拨爪的单向超越离合器的结构尺寸 mm |
||||||||||||||||||||
|
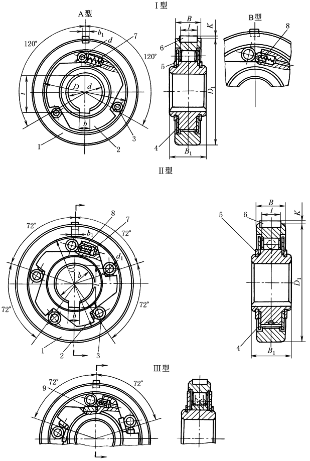
1—外环;2—星轮;3—滚柱;4—盖板;5—挡圈;6—平键;7—弹簧;8—顶销;9—镶块 |
||||||||||||||||||||
|
型 式 |
D(H7) |
d(H7) |
D1(k6) |
d1(h7) |
B |
B1 |
b(H9) |
t(H11) |
b1(h9) |
l(d10) |
K |
|||||||||
|
Ⅰ
型 |
A
型 |
32 |
10 |
45 |
4 |
|
|
3 |
11.1 |
3 |
8 |
1.2 |
||||||||
|
12 |
4 |
13.6 |
||||||||||||||||||
|
14 |
15.6 |
|||||||||||||||||||
|
40 |
55 |
5 |
|
|
4 |
10 |
1.8 |
|||||||||||||
|
16 |
5 |
17.9 |
||||||||||||||||||
|
18 |
19.9 |
|||||||||||||||||||
|
50 |
16 |
70 |
6 |
|
|
5 |
17.9 |
5 |
12 |
2.3 |
||||||||||
|
18 |
19.9 |
|||||||||||||||||||
|
20 |
6 |
22.3 |
||||||||||||||||||
|
65 |
16 |
85 |
8 |
|
|
5 |
17.9 |
14 |
||||||||||||
|
20 |
6 |
22.3 |
||||||||||||||||||
|
25 |
8 |
27.6 |
||||||||||||||||||
|
B
型 |
80 |
20 |
105 |
10 |
|
|
6 |
22.3 |
6 |
18 |
2.6 |
|||||||||
|
25 |
8 |
27.6 |
||||||||||||||||||
|
30 |
32.6 |
|||||||||||||||||||
|
35 |
10 |
37.9 |
||||||||||||||||||
|
100 |
25 |
130 |
13 |
|
|
8 |
27.6 |
8 |
24 |
3.2 |
||||||||||
|
30 |
32.6 |
|||||||||||||||||||
|
35 |
10 |
37.9 |
||||||||||||||||||
|
40 |
12 |
42.9 |
||||||||||||||||||
|
Ⅱ
型 |
80 |
25 |
105 |
10 |
|
|
8 |
27.6 |
6 |
18 |
2.6 |
|||||||||
|
30 |
32.6 |
|||||||||||||||||||
|
35 |
10 |
37.9 |
||||||||||||||||||
|
100 |
30 |
130 |
13 |
|
|
8 |
32.6 |
8 |
24 |
3.2 |
||||||||||
|
35 |
10 |
37.9 |
||||||||||||||||||
|
40 |
12 |
42.9 |
||||||||||||||||||
|
125 |
35 |
160 |
16 |
|
|
10 |
37.9 |
8 |
28 |
3.2 |
||||||||||
|
40 |
12 |
42.9 |
||||||||||||||||||
|
45 |
14 |
48.3 |
||||||||||||||||||
|
50 |
16 |
53.6 |
||||||||||||||||||
|
Ⅲ
型 |
160 |
70 |
200 |
20 |
|
|
20 |
74.3 |
12 |
32 |
3.8 |
|||||||||
|
200 |
90 |
250 |
25 |
|
|
24 |
95.2 |
40 |
||||||||||||
|
注:1.键按GB/T1096—1979,挡圈(零件5)按GB/T894—1986之规定。 2.外毂和星轮根据结构要求,可以和其他传动件做成一体。 |
||||||||||||||||||||
|
表2 超越离合器的性能参数 |
||||||||||||||||||||
|
技 术 特 性 |
直 径 D/mm |
|||||||||||||||||||
|
32 |
40 |
50 |
65 |
80 |
100 |
125 |
160 |
200 |
||||||||||||
|
滚 柱 数 z |
||||||||||||||||||||
|
3 |
5 |
3 |
5 |
|||||||||||||||||
|
传递的许用转矩, Tp/N·cm |
250 |
450 |
850 |
1650 |
3300 |
5500 |
7000 |
12000 |
21000 |
39000 |
77000 |
|||||||||
|
允许的载荷循环次数(结合次数) |
5×106 |
|||||||||||||||||||
|
推荐的载荷循环次数极限 /r·min-1 |
250 |
200 |
160 |
125 |
100 |
80 |
65 |
50 |
40 |
|||||||||||
|
超越时,推荐的转数极限 /r·min-1 |
3000 |
2500 |
2000 |
1500 |
1250 |
1000 |
800 |
630 |
500 |
|||||||||||
|
超越时,允许的最大摩擦转矩 /N·cm |
12 |
22 |
42 |
50 |
100 |
170 |
210 |
240 |
420 |
780 |
1600 |
|||||||||
|
结合时,离合器的最大空转角度 |
3° |
2°30' |
2° |
1°30' |
1° |
45' |
30' |
|||||||||||||
|
注:1.表中所列许用转矩Tp为载荷循环次数极限和转数极限情况下的数值,当载荷循环次数和转数低于此极限时,许用转矩可以提高20%。 2.当主动件带动从动件一起转动时,称为结合状态。当外套与星轮脱开、主动件和从动件各以自己的速度回转时,称为超越状态。 |
||||||||||||||||||||
|
||||||||||||||||||||

