|
摩擦离合器的计算 |
|||||||||||
|
表1 摩擦离合器的计算 |
|||||||||||
|
型 式 |
计 算 项 目 |
计 算 公 式 |
单 位 |
||||||||
|
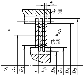
圆形摩擦盘式
i1——外摩擦盘数; i2——内摩擦盘数; m——摩擦面对数,通常,湿式m=5~15,干式m=1~6; z——摩擦盘总数,z=i1+i2=m+1; μ——摩擦因数,查表“摩擦元件的材料、性能及适用范围”; Pp——许用压强,N/cm2,查表“摩擦元件的材料、性能及适用范围”; z1——外摩擦盘齿数; z2——内摩擦盘齿数; α1、α2——外、内摩擦盘厚度,cm; K1——摩擦片数修正系数,见表2; Kυ——速度修正系数,见表“离合器的选用计算”中表4; Km——接合次数修正系数,(接合频率系数),见表“离合器的选用计算”中表3; σpp——许用挤压应力; d—传动轴直径 |
计算转矩 |
|
N·cm |
||||||||
|
摩擦盘工作面的平均直径 |
|
cm |
|||||||||
|
摩擦盘工作面的外直径 |
D1=1.25Dp |
cm |
|||||||||
|
摩擦盘工作面的内直径 |
D2=0.75Dp |
cm |
|||||||||
|
摩擦盘宽度 |
|
cm |
|||||||||
|
摩擦面对数 |
|
|
|||||||||
|
摩擦片脱开时所需的间隙 |
湿式 δ=0.2~0.5 干式 无衬层 δ=0.4~1.0 有衬层 δ=1.0~1.5 |
mm |
|||||||||
|
许用传递转矩 |
|
N·cm |
|||||||||
|
压紧力 |
|
N |
|||||||||
|
摩擦面压强 |
|
N/cm2 |
|||||||||
|
摩擦片与外壳接合处挤压应力 |
|
N/cm2 |
|||||||||
|
摩擦片与内壳接合处挤压应力 |
|
N/cm2 |
|||||||||
|
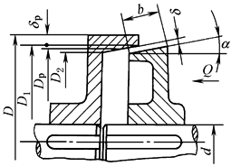
单圆锥摩擦式
μ——摩擦因数,见表“摩擦元件的材料、性能及适用范围”; Pp——许用压强,N/cm2,见表“摩擦元件的材料、性能及适用范围”; α——半锥角,一般大于摩擦角; b——圆锥母线宽度,cm; σp——许用应力,N/cm2; 铸铁σp=1960~2940N/cm2, 铸钢σp=3920~7850N/cm2, 碳素钢σp=7850~11770N/cm2; φ——摩擦角φ=arctanμ |
计算转矩 |
|
N·cm |
||||||||
|
摩擦面平均直径 |
单锥面:DP=(D1+D2)/2=(4-6)d,或 双锥面: |
cm |
|||||||||
|
摩擦面宽度 |
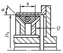
一般机械:b=ψDp=(0.4~0.7)Dp 机床:单锥面b=ψDp=(0.15~0.25)Dp 双锥面b=ψDs=(0.32~0.45)Ds |
cm |
|||||||||
|
摩擦锥的半锥角 |
α>arctanμ 金属-金属 α=8°~15° 石棉、木材-金属 α=20°~25° 皮革-金属 α=12°~15° |
|
|||||||||
|
离合器脱开间隙 |
无衬层 δ=0.5~1.0 有衬层 δ=1.5~2.0 |
mm |
|||||||||
|
摩擦锥的行程 |
单锥 x=δ/sinα,双锥x=2δ/sinα |
mm |
|||||||||
|
摩擦面上的平均圆周速度 |
|
m/s |
|||||||||
|
许用传递转矩 |
单锥面 双锥面 |
N·cm |
|||||||||
|
双圆锥摩擦式
Ds——锥面摩擦块的外径或外壳的内径,cm 其他符号说明同上 |
所需的轴向压力与脱开力 |
单锥面
接合时用“+”,脱开时用“-” 双锥面
|
N |
||||||||
|
摩擦面压强 |
单锥面
双锥面
|
N/cm2 |
|||||||||
|
外锥平均壁厚 |
|
cm |
|||||||||
|
圆盘摩擦块式
Dp——平均直径,cm; F——单个摩擦块单侧摩擦面积,cm2; z——摩擦块数量; μ——摩擦因数,见表“摩擦元件的材料、性能及适用范围”; Pp——许用压强,N/cm2,见表“摩擦元件的材料、性能及适用范围” |
压紧力 |
|
N |
||||||||
|
摩擦面压强 |
|
N/cm2 |
|||||||||
|
涨圈式
α——单根涨圈包角,rad,结构设计定 b——涨圈宽度,cm,结构设计定 z——涨圈数量 μ——摩擦因数,见表“摩擦元件的材料、性能及适用范围” Pp——许用压强,N/cm2,见表“摩擦元件的材料、性能及适用范围” R——环形槽半径,cm L——转销上力臂,cm |
始端张力 |
|
N |
||||||||
|
终端张力 |
|
N |
|||||||||
|
摩擦面压强 |
|
N/cm2 |
|||||||||
|
接合力矩 |
M0=S1L+S2L |
N·cm |
|||||||||
|
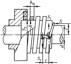
扭簧式
i——弹簧工作圈数,一般取i=4.5~6; t、c——杠杆臂长度,cm; μ——摩擦因数,见表“摩擦元件的材料、性能及适用范围”; bm——弹簧终端第一圈平均宽,cm; R——鼓轮半径,cm σpp——许用挤压应力,N/cm2; △——弹簧与鼓轮径向间隙
扭簧结构
b1=0.5b2 a1=0.4b2 a2=0.9b2 扭簧总螺旋圈数n=i+1 |
圆周力 |
F=Tc/R |
N |
||||||||
|
终端张力 |
S2=F/e2πim |
N |
|||||||||
|
操纵端张力 |
|
N |
|||||||||
|
接合力 |
S=S1t/c |
N |
|||||||||
|
鼓轮表层挤压应力 |
|
N/cm2 |
|||||||||
|
表2 K1值 |
|||||||||||
|
离合器主动摩擦片数i1 |
≤3 |
4 |
5 |
6 |
7 |
8 |
9 |
10 |
11 |
||
|
K1 |
1 |
0.97 |
0.94 |
0.91 |
0.88 |
0.85 |
0.82 |
0.79 |
0.76 |
||











