|
YDT型系列 |
|||||||||||||||||
|
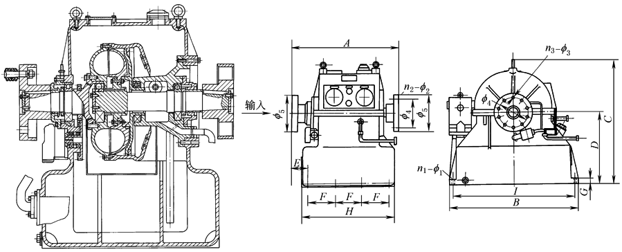
YDT系列高速偶合器的外形尺寸 |
|||||||||||||||||
|
技术性能 |
|||||||||||||||||
|
型 号 |
输入转速 /r·min-1 |
所传功率 /kW |
额定 滑差 /% |
外 形 及 连 接 尺 寸 /mm |
|||||||||||||
|
A |
B |
C |
D |
E |
n-F |
G |
H |
I |
n1-f1 |
n2-f2 |
n3-f3 |
f4 |
f5 |
||||
|
YDT28/30 |
2970 |
30~72 |
3 |
600 |
650 |
668 |
380 |
80 |
1-440 |
30 |
490 |
600 |
4-24 |
6-18 |
6-36 |
120 |
170 |
|
YDT32/30 |
2970 |
60~140 |
3 |
600 |
650 |
668 |
380 |
80 |
1-440 |
30 |
490 |
600 |
4-24 |
6-18 |
6-36 |
120 |
170 |
|
YDT36/30 |
2970 |
100~300 |
3 |
750 |
820 |
900 |
550 |
115 |
1-520 |
40 |
580 |
760 |
4-27 |
10-18 |
10-36 |
170 |
220 |
|
YDT40/30 |
2970 |
250~520 |
3 |
800 |
820 |
900 |
550 |
140 |
1-520 |
40 |
580 |
960 |
4-27 |
10-58 |
10-30 |
245 |
330 |
|
YDT45/30 |
2970 |
350~800 |
3 |
960 |
1120 |
1088 |
635 |
131 |
3-240 |
50 |
800 |
1060 |
8-22 |
10-58 |
10-30 |
245 |
330 |
|
YDT50/30 |
2970 |
600~1600 |
3 |
1000 |
1120 |
1088 |
635 |
146 |
3-240 |
50 |
800 |
1060 |
8-22 |
10-58 |
10-30 |
245 |
330 |
|
YDT56/30 |
2970 |
1300~2800 |
3 |
1310 |
1560 |
1329 |
810 |
103 |
3-350 |
60 |
1160 |
1480 |
8-32 |
12-46 |
12-24 |
285 |
350 |
|
YDT63/30 |
2970 |
2500~5000 |
3 |
1400 |
1560 |
1329 |
810 |
148 |
3-350 |
60 |
1160 |
1480 |
8-32 |
12-46 |
12-24 |
285 |
350 |
|
YDT56/15 |
1470 970 |
200~400 50~100 |
3 |
930 |
1200 |
1184 |
700 |
93.5 |
3-225 |
50 |
750 |
1140 |
8-22 |
10-58 |
10-30 |
245 |
330 |
|
YDT63/15 |
1470 970 730 |
380~620 90~220 50~80 |
3 |
970 |
1200 |
1184 |
700 |
113.5 |
3-225 |
50 |
750 |
1140 |
8-22 |
10-58 |
10-30 |
245 |
330 |
|
YDT71/15 |
1470 970 730 |
500~1100 200~380 70~140 |
3 |
1200 |
1510 |
1394 |
750 |
152.4 |
4-200 |
50 |
900 |
1450 |
10-22 |
10-72 |
10-38 |
310 |
410 |
|
YDT80/15 |
1470 970 730 |
700~1600 260~580 130~250 |
3 |
1300 |
1510 |
1394 |
750 |
202.5 |
4-200 |
50 |
900 |
1450 |
10-22 |
10-88 |
10-46 |
380 |
500 |
|
YDT100/10 |
970 730 |
800~1800 350~760 |
3 |
1500 |
1710 |
1595 |
900 |
220 |
4-240 |
50 |
1065 |
1650 |
10-28 |
10-88 |
10-46 |
380 |
500 |
|
YDT112/10 |
970 730 |
2000~3500 850~1600 |
3 |
1750 |
1850 |
1850 |
1150 |
235 |
4-320 |
50 |
1065 |
1750 |
10-35 |
10-88 |
10-46 |
380 |
500 |
|
注:生产厂家为上海711研究所。 |
|||||||||||||||||

