|
UL型联轴器(GB/T 5844—2002) |
|||||||||||||||||||||||||||||
|
|
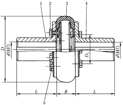
工作温度:-20~80℃。 标记示例: 例1 UL5轮胎式联轴器 主动端:Y 型轴孔、A 型键槽,d=28mm,L=62mm 从动端:J1 型轴孔、B 型键槽,d=32mm,L=60mm。标记为:
例2 UL8轮胎式联轴器 主动端:Y 型轴孔、A 型键槽,d=40mm,L=112mm 从动端:Y 型轴孔、A 型键槽,d=40mm,L=112mm。标记为: UL8联轴器40×112 GB/T 5844—2002 |
||||||||||||||||||||||||||||
|
|||||||||||||||||||||||||||||
|
基本参数和主要尺寸 |
|||||||||||||||||||||||||||||
|
型号 |
公称转矩 Tn |
瞬时最大 转矩Tmax |
许用转速 np |
轴孔直径 d(H7) |
轴孔长度L |
D |
B |
D1 |
总质量 |
转动惯量 |
|||||||||||||||||||
|
J、J1型 |
Y型 |
||||||||||||||||||||||||||||
|
N·m |
r·min-1 |
mm |
kg |
kg·m2 |
|||||||||||||||||||||||||
|
UL1 |
10 |
31.5 |
5000 |
11 |
22 |
25 |
80 |
20 |
42 |
0.7 |
0.0003 |
||||||||||||||||||
|
12、14 |
27 |
32 |
|||||||||||||||||||||||||||
|
16、18 |
30 |
42 |
|||||||||||||||||||||||||||
|
UL2 |
25 |
80 |
5000 |
14 |
27 |
32 |
100 |
26 |
51 |
1.2 |
0.0008 |
||||||||||||||||||
|
16、18、19 |
30 |
42 |
|||||||||||||||||||||||||||
|
20、22 |
38 |
52 |
|||||||||||||||||||||||||||
|
UL3 |
63 |
180 |
4500 |
18、19 |
30 |
42 |
120 |
32 |
62 |
1.8 |
0.0022 |
||||||||||||||||||
|
20、22、24 |
38 |
52 |
|||||||||||||||||||||||||||
|
25 |
44 |
62 |
|||||||||||||||||||||||||||
|
UL4 |
100 |
315 |
4300 |
20、22、24 |
38 |
52 |
140 |
38 |
69 |
3.0 |
0.0044 |
||||||||||||||||||
|
25、28 |
44 |
62 |
|||||||||||||||||||||||||||
|
30 |
60 |
82 |
|||||||||||||||||||||||||||
|
UL5 |
160 |
500 |
4000 |
24 |
38 |
52 |
160 |
45 |
80 |
4.6 |
0.0084 |
||||||||||||||||||
|
25、28 |
44 |
62 |
|||||||||||||||||||||||||||
|
30、32、35 |
60 |
82 |
|||||||||||||||||||||||||||
|
UL6 |
250 |
710 |
3600 |
28 |
44 |
62 |
180 |
50 |
90 |
7.1 |
0.0164 |
||||||||||||||||||
|
30、32、35、38 |
60 |
82 |
|||||||||||||||||||||||||||
|
40 |
84 |
112 |
|||||||||||||||||||||||||||
|
UL7 |
315 |
900 |
3200 |
32、35、38 |
60 |
82 |
200 |
56 |
104 |
10.9 |
0.0290 |
||||||||||||||||||
|
40、42、45、48 |
84 |
112 |
|||||||||||||||||||||||||||
|
UL8 |
400 |
1250 |
3000 |
38 |
60 |
82 |
220 |
63 |
110 |
13.0 |
0.0448 |
||||||||||||||||||
|
40、42、45、48、50 |
84 |
112 |
|||||||||||||||||||||||||||
|
UL9 |
630 |
1800 |
2800 |
42、45、48、50、55、56 |
84 |
112 |
250 |
71 |
130 |
20.0 |
0.0898 |
||||||||||||||||||
|
60 |
107 |
142 |
|||||||||||||||||||||||||||
|
UL10 |
800 |
2240 |
2400 |
45*、48*、50、55、56、60、63、65、70 |
84 107 |
112 142 |
280 |
80 |
148 |
30.6 |
0.1596 |
||||||||||||||||||
|
UL11 |
1000 |
2500 |
2100 |
50*、55*、56* |
84 |
112 |
320 |
90 |
165 |
39.0 |
0.2792 |
||||||||||||||||||
|
60、63、65、70、71、75 |
107 |
142 |
|||||||||||||||||||||||||||
|
UL12 |
1600 |
4000 |
2000 |
55*、56* |
84 |
112 |
360 |
100 |
188 |
59.0 |
0.5356 |
||||||||||||||||||
|
60*、63*、65*、70、71、75 |
107 |
142 |
|||||||||||||||||||||||||||
|
80、85 |
132 |
172 |
|||||||||||||||||||||||||||
|
UL13 |
2500 |
6300 |
1800 |
63*、65*、70*、71*、75* |
107 |
142 |
400 |
110 |
210 |
81.0 |
0.8960 |
||||||||||||||||||
|
80、85、90、95 |
132 |
172 |
|||||||||||||||||||||||||||
|
UL14 |
4000 |
10000 |
1600 |
75* |
107 |
142 |
480 |
130 |
254 |
145 |
2.2616 |
||||||||||||||||||
|
80*、85*、90*、95* |
132 |
172 |
|||||||||||||||||||||||||||
|
100、110 |
167 |
212 |
|||||||||||||||||||||||||||
|
UL15 |
6300 |
14000 |
1200 |
85*、90*、95* |
132 |
172 |
560 |
150 |
300 |
222 |
4.6456 |
||||||||||||||||||
|
100*、110*、120*、125* |
167 |
212 |
|||||||||||||||||||||||||||
|
UL16 |
10000 |
20000 |
1000 |
100*、110*、120*、125*、130、140 |
630 |
180 |
335 |
302 |
8.0924 |
||||||||||||||||||||
|
202 |
252 |
||||||||||||||||||||||||||||
|
UL17 |
16000 |
31500 |
900 |
120*、125* |
167 |
212 |
750 |
210 |
405 |
561 |
20.0176 |
||||||||||||||||||
|
130*、140*、150* |
202 |
252 |
|||||||||||||||||||||||||||
|
160* |
242 |
302 |
|||||||||||||||||||||||||||
|
UL18 |
25000 |
59000 |
800 |
140*、150* |
202 |
252 |
900 |
250 |
490 |
818 |
43.0530 |
||||||||||||||||||
|
160*、170*、180* |
242 |
302 |
|||||||||||||||||||||||||||
|
注:1.轴孔直径带 * 者,结构允许制成 J 型轴孔。 2.联轴器轴孔和连接型式及尺寸见表“圆柱形轴孔和键槽型式及尺寸”中表1,轴孔与轴的配合见表“圆柱形轴孔和键槽型式及尺寸”中表2。 3.联轴器选用计算见“机械式联轴器选用计算”节。 4.冶金设备用轮胎式联轴器另有标准JB/T 10541—2005。 5.生产厂家为冀州市联轴器厂、北京古德高机电技术有限公司、沈阳市三环机械厂。 |
|||||||||||||||||||||||||||||
|
|||||||||||||||||||||||||||||

