|
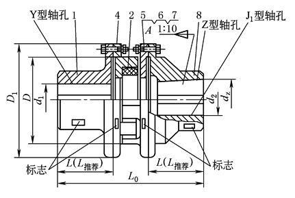
LM型—基本型、LMD型—单法兰型、LMS型—双法兰型联轴器(GB/T 5272—2002) |
||||||||||||||||||||
|
LM型—基本型 |
LMD型—单法兰型 |
|||||||||||||||||||
|
LMS型—双法兰型 1,3—半联轴器;2—梅花形弹性件;4—法兰连接件;5—螺栓;6—螺母;7—垫圈;8—制动轮 |
||||||||||||||||||||
|
工作温度:-35~80℃ 标记方法:
Y型轴孔、A型键槽的代号标记中可省略 联轴器主、从动端连接型式与尺寸相同时,只标记一端,另一端省略 |
||||||||||||||||||||
|
基本参数和主要尺寸 |
||||||||||||||||||||
|
型 号 |
公称转矩 Tn/N·m |
许用转速np |
轴孔直径 d1,d2,dz |
轴孔长度 |
L0 |
D |
D1 |
弹性 件型号 |
质量 |
转动惯量 |
||||||||||
|
弹性件硬度 |
LM |
LMD、 LMS |
Y型 |
J1、Z型 |
L推荐 |
LM |
LMD |
LMS |
LMD、 LMS |
LM |
LMD |
LMS |
LM |
LMD |
LMS |
|||||
|
a/HA |
b/HD |
L |
||||||||||||||||||
|
80±5 |
90±5 |
r·min-1 |
mm |
kg |
kg·m2 |
|||||||||||||||
|
LM1 LMD1 LMS1 |
25 |
45 |
15300 |
8500 |
12,14 |
32 |
27 |
35 |
86 |
92 |
98 |
50 |
90 |
|
0.66 |
1.21 |
1.33 |
0.0002 |
0.0008 |
0.0013 |
|
16,18,19 |
42 |
30 |
||||||||||||||||||
|
20,22,24 |
52 |
38 |
||||||||||||||||||
|
25 |
62 |
44 |
||||||||||||||||||
|
LM2 LMD2 LMS2 |
50 |
100 |
12000 |
7600 |
16,18,19 |
42 |
30 |
38 |
95 |
101.5 |
108 |
60 |
100 |
|
0.93 |
1.65 |
1.74 |
0.0004 |
0.0014 |
0.0021 |
|
20,22,24 |
52 |
38 |
||||||||||||||||||
|
25,28 |
62 |
44 |
||||||||||||||||||
|
30 |
82 |
60 |
||||||||||||||||||
|
LM3 LMD3 LMS3 |
100 |
200 |
10900 |
6900 |
20,22,24 |
52 |
38 |
40 |
103 |
110 |
117 |
70 |
110 |
|
1.41 |
2.36 |
2.33 |
0.0009 |
0.0024 |
0.0034 |
|
25,28 |
62 |
44 |
||||||||||||||||||
|
30,32 |
82 |
60 |
||||||||||||||||||
|
LM4 LMD4 LMS4 |
140 |
280 |
9000 |
6200 |
22,24 |
52 |
38 |
45 |
114 |
122 |
130 |
85 |
125 |
|
2.18 |
3.56 |
3.38 |
0.002 |
0.005 |
0.0064 |
|
25,28 |
62 |
44 |
||||||||||||||||||
|
30,32,35,38 |
82 |
60 |
||||||||||||||||||
|
40 |
112 |
84 |
||||||||||||||||||
|
LM5 LMD5 LMS5 |
350 |
400 |
7300 |
5000 |
25,28 |
62 |
44 |
50 |
127 |
138.5 |
150 |
105 |
150 |
|
3.60 |
6.36 |
6.07 |
0.005 |
0.0135 |
0.0175 |
|
30,32,35,38 |
82 |
60 |
||||||||||||||||||
|
40,42,45 |
112 |
84 |
||||||||||||||||||
|
LM6 LMD6 LMS6 |
400 |
710 |
6100 |
4100 |
30,32,35,38 |
82 |
60 |
55 |
143 |
155 |
167 |
125 |
185 |
|
6.07 |
10.77 |
10.47 |
0.0114 |
0.0329 |
0.0444 |
|
40,42,45,48 |
112 |
84 |
||||||||||||||||||
|
LM7 LMD7 LMS7 |
630 |
1120 |
5300 |
3700 |
35*,38* |
82 |
60 |
60 |
159 |
172 |
185 |
145 |
205 |
|
9.09 |
15.30 |
14.22 |
0.0232 |
0.0581 |
0.0739 |
|
40*,42*,45,48,50,55 |
112 |
84 |
||||||||||||||||||
|
LM8 LMD8 LMS8 |
1120 |
2240 |
4500 |
3100 |
45*,48*,50,55,56 |
70 |
181 |
195 |
209 |
170 |
240 |
|
13.56 |
22.72 |
21.16 |
0.0468 |
0.1175 |
0.1493 |
||
|
60,63,65 |
142 |
107 |
||||||||||||||||||
|
LM9 LMD9 LMS9 |
1800 |
3550 |
3800 |
2800 |
50*,55*,56* |
112 |
84 |
80 |
208 |
224 |
240 |
200 |
270 |
|
21.40 |
34.44 |
30.70 |
0.1041 |
0.2333 |
0.2767 |
|
60,63,65,70,71,75 |
142 |
107 |
||||||||||||||||||
|
80 |
172 |
132 |
||||||||||||||||||
|
LM10 LMD10 LMS10 |
2800 |
5600 |
3300 |
2500 |
60*,63*,65*,70,71,75 |
142 |
107 |
90 |
230 |
248 |
268 |
230 |
305 |
|
32.03 |
51.36 |
44.55 |
0.2105 |
0.4594 |
0.5262 |
|
80,85,90,95 |
172 |
132 |
||||||||||||||||||
|
100 |
212 |
167 |
||||||||||||||||||
|
LM11 LMD11 LMS11 |
4500 |
9000 |
2900 |
2200 |
70*,71*,75* |
142 |
107 |
100 |
260 |
284 |
308 |
260 |
350 |
|
49.52 |
81.30 |
70.72 |
0.4338 |
0.9777 |
1.1362 |
|
80*,85*,90、95 |
172 |
132 |
||||||||||||||||||
|
100,110,120 |
212 |
167 |
||||||||||||||||||
|
LM12 LMD12 LMS12 |
6300 |
12500 |
2500 |
1900 |
80*,85*,90*、95* |
172 |
132 |
115 |
297 |
321 |
345 |
300 |
400 |
|
73.45 |
115.53 |
99.54 |
0.8205 |
1.751 |
1.9998 |
|
100,110,120,125 |
212 |
167 |
||||||||||||||||||
|
130 |
252 |
202 |
||||||||||||||||||
|
LM13 LMD13 LMS13 |
11200 |
2000 |
2100 |
1600 |
90*,95* |
172 |
132 |
125 |
323 |
348 |
373 |
360 |
460 |
|
103.86 |
161.79 |
137.53 |
1.6718 |
3.3667 |
3.6719 |
|
100*,110*,120*,125* |
212 |
167 |
||||||||||||||||||
|
130,140,150 |
252 |
202 |
||||||||||||||||||
|
LM14 LMD14 LMS14 |
12500 |
25000 |
1900 |
1500 |
100*,110*,120*,125* |
212 |
167 |
135 |
333 |
358 |
383 |
400 |
500 |
|
127.59 |
196.32 |
165.25 |
2.499 |
4.8669 |
5.1581 |
|
130*,140*,150 |
252 |
202 |
||||||||||||||||||
|
160 |
302 |
242 |
||||||||||||||||||
|
注:1.质量、转动惯量按L推荐最小轴孔计算的近似值。 2.带*号轴孔直径可用于Z型轴孔。 3.a、b为弹性件两种不同材质、硬度的代号。 4.联轴器选用计算见“机械式联轴器选用计算”节,轴孔与轴的配合见表“圆柱形轴孔和键槽型式及尺寸”中表2和表“圆锥形轴孔和键槽型式及尺寸”中表2。轴孔和键槽型式见表“圆柱形轴孔和键槽型式及尺寸”中表1和表“圆锥形轴孔和键槽型式及尺寸”中表1。 5.生产厂家为河北省冀州市联轴器厂。 |
||||||||||||||||||||



