|
自动排水器 |
|
|
由空压机产生的压缩空气需经过许多气源处理过程(后冷却器、储气罐、干燥器等)。经过的每一道气源处理设备 |
|
|
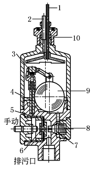
都将有一定量的污水(含混合在内的灰尘颗粒等杂质)需被及时排出,以免它重新被气流带入空气进入下一道处理设备以至前功尽弃。同时,气动管道在安装时成一定的斜度,在管线的低淌处(或拐弯处)也会积聚污水,需及时排出。通常人们见到的是气动设备进口处装有气源三大件(过滤、减压、油雾装置)。在过滤器下端装有自动排水器。在气源设备进口处及时排除冷凝水对系统的正常工作和提高气动元件的寿命具有重要意义 自动排水器一般可分气动式和电动式两大类。气动式用于气动系统(流水线)和气动设备较多的情况,也可用于主管道气源设备。电动式可用于主管道气源处理设备,很少见到用于气动系统(流水线)和气动设备 气动式自动排水可分为浮子式、弹簧式、差压式。下面简要介绍浮子式自动排水装置 右图为浮子式自动排水器。由接口10连接在需排冷凝水的容器下部(过滤器、储气罐等)。上部容器的气压、冷凝水分别通过上连接气管1、排污管2与自动排水器内部相连。当冷凝水积累一定高度,浮子上浮,密封堵头3被提起,自动排水器内部的气压通过通气管4、节流通道5作用于带膜片活塞6,并使阀芯7克服弹簧8作用向右移动,冷凝水可从排污口排出。当冷凝水被排出,浮子在自重作用下下垂,堵死密封堵头,阀芯7在弹簧8的作用下堵住冷凝水 |
浮子式自动排水器 1—连接气管;2—排污管;3—密封堵头; 4—通气管;5—节流通道;6—带膜片活塞; 7—阀芯;8—弹簧;9—浮子;10—接口 |
|
与排污口的通道。该自动排水器也可用人力方式,按动手动按钮进行排污 |
|

