|
ZS-500型塑料注射成形液压机液压系统设计 |
|
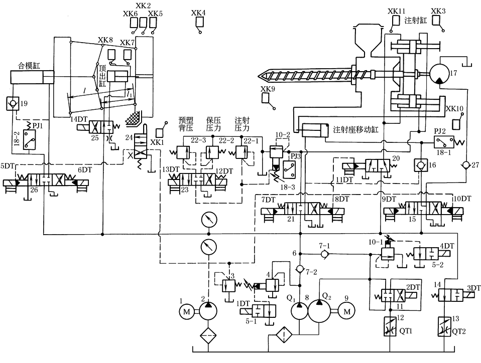
1.设计要求 (1)主机用途及规格 本机用于热熔性塑料注射成形。一次注射量最大500g (2)要求主机完成的工艺过程 塑料粒从料斗底孔进入注射-预塑加热筒,螺杆旋转,将料粒推向前端的注射口,沿途被筒外电加热器加热逐渐熔化成粘稠流体,同时螺杆在物料的反作用下后退,触及行程开关后停止转动 合模缸事前将模具闭合锁紧,然后注射座带动注射加热筒前移,直至注射口在模具的浇口窝中贴紧,贴紧力达到设定的数值时,注射缸推动螺杆挤压熔化的物料注射入模具的型腔,经过保压、延时冷却(在此时间螺杆又转动输送和加热新物料),然后开模,顶出制件,完成一个工艺循环 注射座的动作有每次注射后要退回的和不退回的两种,由制件的工艺要求决定 (3)系统设计技术参数见表系统设计技术参数 (4)系统设计的其他要求 1)注射速度和螺杆转速要求10级可调,而且可预置。2)螺杆的注射压力,以及预塑过程后退的背压,要能调节。3)系统要能实现点动、半自动、全自动操作。4)为确保安全,合模缸在安全门关好后才能动作 2.总体规划、确定液压执行元件 见表ZS-500型塑料注射成形液压机液压系统设计的总体规划、确定液压执行元件 3.明确载荷,绘制系统工况图 (1) 明确工艺循环作用于各执行元件的载荷,见表工艺循环作用于各执行元件的载荷 (2) 绘制系统工况图 按设计要求和注射座固定的注塑工艺过程绘制的工艺循环动作线图见下图1(a)。图中Si、φ分别表示行程和转角,各电气或液压发信元件符号的意义见表ZS-500注塑机点动、半自动、全自动工作循环图表的表注。按表系统设计技术参数的速度参数制作的速度图见下图1(b),图中的nm表示油马达的转速,υi表示液缸的行程速度。载荷图见下图1(c),图中Fi、τ分别表示力和力矩
图1 注射座固定的系统工况图 4.确定系统工作压力 据统计资料,公称注射量250~500cm3的注塑机,工作压力范围为7~21MPa,其中,21MPa占23%,14MPa占40%~57%,故本机液压系统的工作压力采用14MPa 5.确定液压执行元件的控制和调速方案 根据设计要求,注射速度和注射螺杆的转速不仅要可调,还要能够预选,所以采用液压有级变速回路。这与确定螺杆旋转机构驱动元件时所作的抉择取得一致。不过在具体设计时,要使有级变速回路能够同时满足注射和螺杆旋转两者的调速要求。 6.草拟液压系统原理图 初步拟定的液压系统图见下图2。图中,电液换向阀(26)与机动二位四通阀(24)配合组成安全操作回路,安全门关闭到位压下阀(24)和触动行程开关XK1后控制油才能推动阀(26)使合模缸动作。单向阀(27)用以防止注射和保压时物料通过螺杆螺旋面的作用使螺杆和液压马达倒转。液控单向阀(19)和(16)用以保持液流切换后合模缸的锁模力和注射座压紧后的贴紧力。阀(10-2)、(22-※)和三位四通电磁阀(23)是注射、保压和预塑的压力控制回路。件号4-14中的泵、阀组成液压有级变速回路,并为系统空循环卸荷。其余部分是各执行元件的方向控制回路和电液换向阀的控制油回路。系统动作循环图表见表ZS-500注塑机点动、半自动、全自动工作循环图表。
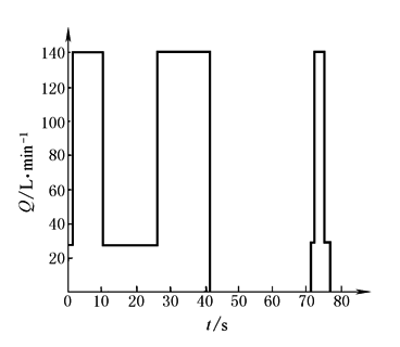
图2 塑料注射成型机液压系统图 7.计算执行元件主要参数 见表执行元件主要参数 8.计算液压泵的流量及选择液压泵,验算行程速度或转速 (1)计算系统各执行元件最大需用流量,见表系统各执行元件最大需用流量的计算 (2)按有级变速回路的构成原理计算系统大、小泵的排量,见表按有级变速回路的构成原理计算系统大、小泵的排量 (3)按q1、q2选择液压泵 选用PV2R13-76/19型双联叶片泵一台,其技术参数见表PV2R13-76/19型双联叶片泵技术参数。 (4)调速阀的调整流量 组成有级变速回路,调速阀12的调整流量为: QT1=Qp×40%=140.4×40%=56.2L/min 调速阀13的调整流量为: QT2=Qp×10%=140.4×10%=14L/min (5)计算液压马达排量,选择型号规格,见表液压马达排量,选择型号规格的计算 (6)计算液压马达转速和注射缸注射速度,见表计算液压马达转速和注射缸注射速度 从表中看出,液压马达转速n10=93 r/min和n5=46.5 r/min时消耗流量(100%Qp)和功率最大,但转速为n5时节流损失占50%Qp,系统效率最低,所以,估算电动机功率和验算系统温升时按n5这档转速计算。同理,注射缸用υ5这档速度计算 9.计算工作循环系统的流量、工作压力和循环周期时间,绘制系统的流量、压力循环图 系统的流量和工作压力的计算见表计算工作循环系统的流量、工作压力和循环周期的第1~4栏;工作周期的计算见5~7栏。系统的流量、压力循环图见图3和图4
图3 工作周期系统流量循环图 图4 工作周期系统压力循环图 10.选择控制元件 流经换向阀26的最大流量是合模缸快速启模时的排油流量:
流经换向阀25的最大流量是顶出缸回程时的排油流量:
换向阀11的最大通过流量是(Qp1+Qp2)40%,即56.2L/min,选用公称流量为30L/min的二位四通换向阀,将其四个通路分成两组并联成为二通换向阀(见图1),通流能力便增加一倍,满足56L/min的需要 本系统选择的主要控制元件的型号、规格见表控制元件的型号、规格。因为有的阀的压力规格没有14MPa这个压力级,故选用时向较高的压力档次选取 11.计算系统工作循环的输入功率,绘制功率循环图,选择电动机 系统工作循环主系统输入功率的计算见表计算工作循环系统的流量、工作压力和循环周期的第8~10栏。根据第10栏的数据绘制的功率循环图见图5。在工作循环中锁模阶段所用的功率是最大的,为Pmax=36.8kW,但持续时间短,不能按它选择电动机。按表计算工作循环系统的流量、工作压力和循环周期第11和7栏的数据求出工作循环周期所需的电动机等值功率为:
而
此比值过大,亦不能按等值功率选择电动机,应按最大功率除以系数k选取。系数k=1.5~2,本机取k=1.7,求得电动机的功率为:
选取Y180L-4型电动机,额定功率22kW 电液动换向阀控制油系统的工作压力为pk=1.5MPa,流量为Qk=20 L/min,泵的效率为η=0.84,所需电动机的功率为:
选取Y802-4型电动机、额定功率0.75kW
图5 系统功率循环图 12.液压辅件 (1)计算油箱容积 油箱有效容积V0按三个泵每分钟流量之和的4倍计算:
本机的机身是由钢板焊成的箱体形,可以利用它兼作油箱。油箱部分的长、宽、高尺寸为:a×b×c=2.5m×1.1m×0.32m,油面高度为:
油面高与油箱高之比为
(2)计算油管直径,选择管子 系统上一般管道的通径按所连接元件的通径选取,现只计算主系统两泵流量汇合的管子。取管内许用的流速为υp=4 m/s,管的内径为:
按标准规格选取管子为f32mm×3mm。材料:20钢;供货状态:冷加工/软(R);σb=451 MPa;安全系数n=6,验算管子的壁厚为
壁厚的选取值大于验算值 13.验算系统性能 (1)验算系统压力损失 1)系统中最长的管路,泵至注射缸管路的压力损失 两泵汇流段的管子,内径d=0.027 m,长l3=6.8 m,通过流量Qp1+Qp2=140.4L/min=0.00234 m3/s。工作介质为YA-N32普通液压油,工作温度下的粘度ν=27.5m2/s,密度ρ=900 kg/m3 管内流速:
雷诺数:
因3000<Re<105,故沿程阻力系数
泵出口至汇流点的管长小,沿程压力损失不计 额定流量下有关阀的局部压力损失:单向阀和液控单向阀为0.2 MPa;电液动换向阀为0.3 MPa。管接头、弯头、相贯孔等的局部压力损失很小,不计 按此,双泵输出最大流量时,大泵到注射缸的局部压力损失为
式中Δp的下标是该阀在系统图中的编号,带( )者是表示该阀处在回油路,其压力损失是折算到进油路上的损失,即 所以,大泵出口至注射缸的总压力损失为
2)合模缸快速启模时的压力损失 通至合模缸的汇流管的内径与前者相同,但管长为l1=3.8 m;系统两泵输出最大流量。汇流管的沿程压力损失为:
大泵出口至合模缸的局部压力损失为:
φ1为合模缸的速比,φ1=1.46 快速合模时大泵至合模缸的总的压力损失为:
以上算得的∑Δp1、∑Δp3值与表计算工作循环系统的流量、工作压力和循环周期中所列的对应值很接近,因此,无需更正表中参数。 (2)验算系统温升 1)系统的发热功率:主系统的发热功率为 PH1=P-Pe (kW) 式中 P——工作循环输入主系统的平均功率, Pe——执行元件的平均有效功率, 从表计算工作循环系统的流量、工作压力和循环周期的第7、12、13栏中查得∑t、∑E1、∑E2值代入,得:
控制油系统的输入功率为0.6kW,该功率几乎全部转变为发热功率PH2,所以系统的总发热功率为: PH=PH1+PH2=7.65+0.6=8.25 kW 2)验算温升 油箱的散热面积为: AS=2ac+2bc+ab=2×2.5×0.32+2×1.1×0.32+2.5×1.1=5.1m2 系统的热量全部由AS散发时,在平衡状态下油液达到的温度为
式中 θR——环境温度,θR=20 ℃; kS——散热系数,kS=15×10-3 kW/(m2·℃) 所以
θ超过表液压系统油温允许值列出的允许值,即系统需装设冷却器。 (3)冷却器的选择与计算 注塑机工作时模子和螺杆根部需用循环水冷却,所以冷却器也选用水冷式。需用冷却器的换热面积为:
式中 PHS——油箱散热功率,kW K——冷却器传热系数,kW/(m2·℃); Δtm——平均温度差,℃ PHS=kSASΔθ(kW) Δθ是允许温升,Δθ=35℃,所以: PHS=15×10-3×5.1×35=2.68 kW
油进入冷却器的温度T1=60℃,流出时的温度T2=50℃,冷却水进入冷却器的温度t1=25℃,流出时的温度t2=30℃,则
由手册或样本中查出,K=350×10-3kW/(m2·℃),所以 |
|
冷却器在使用过程中换热面上会有沉积和附着物影响换热效率,因此实际选用的换热面积应比计算值大30%,即 A=1.3×0.58=0.75 m2 按此面积选用2LQFW-A0.8F型多管式冷却器一台,换热面积为0.8m2。配管时,系统中各执行元件的回油和各溢流阀的溢出油都要通过冷却器回到油箱。调速阀的出油不经过冷却器直接进入油箱,以免背压影响调速精度 |














