|
减压阀基本工作原理 |
|||
|
膜片式减压阀 |
图a所示为应用最广的一种普通型直动溢流式减压阀,其工作原理是:顺时针方向旋转手柄(或旋钮)1,经过调压弹簧2、3推动膜片5下移,膜片又推动阀杆7下移,进气阀芯8被打开,使出口压力p2增大。同时,输出气压经反馈导管6在膜片5上产生向上的推力。这个作用力总是企图把进气阀关小,使出口压力下降,这样的作用称为负反馈。当作用在膜片上的反馈力与弹簧的作用力相平衡时,减压阀便有稳定的压力输出 当减压阀输出负载发生变化,如流量增大时,则流过反馈导管处的流速增加,压力降低,进气阀被进一步打开,使出口压力恢复到接近原来的稳定值。反馈导管的另一作用是当负载突然改变或变化不定时,对输出的压力波动有阻尼作用,所以反馈管又称阻尼管 当减压阀的进口压力发生变化时,出口压力直接由反馈导管进入膜片气室,使原有的力平衡状态破坏,改变膜片、阀杆组件的位移和进气阀的开度及溢流孔10的溢流作用,达到新的平衡,保持其出口压力不变 逆时针旋转手柄(旋钮)1时,调压弹簧2、3放松,气压作用在膜片5上的反馈力大于弹簧作用力,膜片向上弯曲,此时阀杆的顶端与溢流阀座4脱开,气流经溢流孔10从排气孔11排出,在复位弹簧9和气压作用下,阀芯8上移,减小进气阀的开度直至关闭,从而使出口压力逐渐降低直至回到零位状态 由此可知,溢流式减压阀的工作原理是:靠近气阀芯处节流作用减压;靠膜片上力的平衡作用和溢流孔的溢流作用稳定输出压力;调节手柄可使输出压力在规定的范围内任意改变 |
1—旋转手柄;2,3—调压弹簧;4—阀座; 5—膜片;6—反馈导管;7—阀杆; 8—阀芯;9—复位弹簧;10—溢 流孔;11—排气孔 |
|
|
活塞式减压阀 |
活塞式减压阀工作原理与膜片式减压阀工作原理大致相同,其区别在于膜片式的调压弹簧作用在膜片上,而活塞式减压阀的调压弹簧作用在活塞上。活塞式减压阀灵敏度不及膜片式的高,但活塞式减压阀能承受较高的工作压力 |
|
|
|
精密减压阀 |
内部先导式减压阀 |
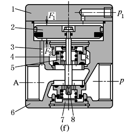
内部先导式减压阀亦被称为精密型减压阀,由于先导级放大功能,压力调节灵敏 由图c可知,内部先导式减压阀比直动式减压阀增加了由喷嘴4、挡板3(在膜片11上)、固定节流孔9及气室B所组成的喷嘴挡板放大环节;由于先导气压的调节部分采用了具有高灵敏度的喷嘴挡板结构,当喷嘴与挡板之间的距离发生微小变化时(零点几毫米),就会使B室中压力发生很明显的变化,从而引起膜片10有较大的位移,并控制阀芯6的上下移动,使阀口8开大或关小,提高了对阀芯控制的灵敏度,故有较高的调压精度 工作原理:当气源进入输入端后,分成两路,一路经进气阀口8到输出通道;另一路经固定节流孔9进入中间气室B,经喷嘴4、挡板3、孔道5反馈至下气室C,再由阀芯6的中心孔从排气口7排至大气 当顺时针旋转手柄(旋钮)1到一定位置,使喷嘴挡板的间距在工作范围内,减压阀就进入工作状态,中间气室B的压力随间距的减小而增加,于是推动阀芯打开进气阀口8,即有气流流到输出口,同时经孔道5反馈到上气室A,与调压弹簧2的弹簧力相平衡 当输入压力发生波动时,靠喷嘴挡板放大环节的放大作用及力平衡原理稳定出口压力保持不变 若进口压力瞬时升高,出口压力也升高。出口压力的升高将使C、A气室压力也相继升高,并使挡板3随同膜片11上移一微小距离,而引起B室压力较明显地下降,使阀芯6随同膜片10上移,直至使阀口8关小为止,使出口压力下降,又稳定到原来的数值上 同理,如出口压力瞬时下降,经喷嘴挡板的放大也会引起B室压力较明显地升高,而使阀芯下移,阀口开大,使出口压力上升,并稳定到原数值上 精密减压阀在气源压力变化±0.1MPa时,出口压力变化小于0.5%。出口流量在5%~100%范围内波动时,出口压力变化小于0.5%。适用于气动仪表和低压气动控制及射流装置供气用 |
|
|
外部先导式减压阀 |
外部先导式减压阀也被称为远控型减压阀 图e为外部先导式减压阀,主阀的工作原理与直动式减压阀相同,在主阀的外部还有一只小型直动溢流式减压阀,由它来控制主阀,所以外部先导式减压阀亦称远距离控制式减压阀,外部先导式和内部先导式与直动式减压阀相比,对出口压力变化时的响应速度稍慢,但流量特性、调压特性好。对外部先导式,调压操作力小,可调整大口径如通径在20mm以上气动系统的压力和要求远距离(30m以内)调压的场合 |
|
|
|
大功率减压阀 |
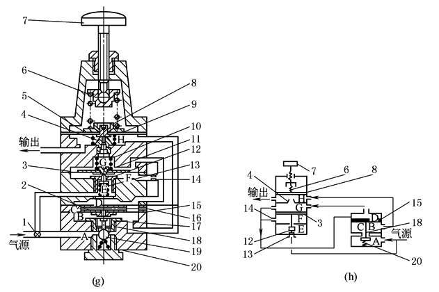
大功率减压阀的内部受压部分通常都使用膜片式结构,故阀的开口量小,输出流量受到限制。大功率减压阀的受压部分使用平衡截止式阀芯,可以得到很大的输出流量,故称为大容量精密减压阀 如图g所示为定值器,是一种高精度的减压阀,图h是其简化后的原理图,该图右半部分就是直动式减压阀的主阀部分,左半部分除了有喷嘴挡板放大装置(由喷嘴4、挡板8、膜片5、气室G、H等组成)外,还增加了由活门12、膜片3、弹簧13、气室E、F和恒节流孔14组成的恒压降装置。该装置可得到稳定的气源流量,进一步提高了稳压精度 非工作(无输出)状态下,旋钮7被旋松,净化过的压缩空气经减压阀减至到定值器的进口压力,由进口处经过滤网进入气室A、E,阀杆18在弹簧20的作用下,关闭进气阀19,关闭了A和B室之间的通道。这时溢流阀2上的溢流孔在弹簧17的作用下,离开阀杆18而被打开,而进入E室的气流经活门12、F室、恒节流孔14进入G室和D室。由于旋钮放松,膜片5上移,并未封住喷嘴4,进入G室的气流经喷嘴4到H室,B室,经溢流阀2上的孔及排气孔16排出,使G室和D室的压力降低。H和B是等压的,G和D也是等压的,这时G室到H室的喷嘴4很畅通,从恒节流孔14过来的微小流量的气流在经过喷嘴4之后的压力已很低,使H室的出口压力近似为零(这一出口压力即漏气压力,要求越小越好,不超过0.002MPa) |
1—阀盖;2—调压活塞;3—反馈通道; 4—弹簧;5—截止阀芯;6—阀体; 7—阀套;8—阀轴 |
|
|
定 值 器 |
工作(即有输出)状态下(顺时针拧旋钮7时),压缩弹簧6,使挡板8靠向喷嘴4,从恒节流孔过来的气流使G和D的压力升高。因D室中的压力作用,克服弹簧17的反力,迫使膜片15和阀杆18下移,首先关闭溢流阀2,最后打开进气阀19,于是B室和大气隔开而和A室经气阻接通(球阀与阀座之间的间隙大小反映气阻的大小),A室的压缩空气经过气阻降压后再从B室到H室而输出。但进入B、H室的气体有反馈作用,使膜片15、5又都上移,直到反馈作用和弹簧6的作用平衡为止,定值器便可获得一定的输出压力,所以弹簧6的压力与出口压力之间有一定的关系 假定负载不变,进口压力因某种原因增加,而且活门12和进气阀19开度不变,则B、H、F室的压力增加。其中H室的压力增加将使膜片5上抬,喷嘴挡板距离加大,G、D室的压力下降,E、F室的压力增加,将使活门12,膜片3向上推移,使活门12的开度减小,F室的压力回降。D室压力下降和B室压力升高,使膜片15上移,进气阀19的开度减小,即气阻加大,使H室的压力回降到原来的出口压力。同样,假设输入压力因某种原因减小时,与上述过程正好相反,将使H室的压力回升到原先的输出压力 假设进口压力不变,出口压力因负载加大而下降,即H、B室压力下降,将使膜片5下移,挡板靠向喷嘴,G、D室压力上升,活门12和进气阀19的开度增加,出口压力回升到原先的数值。相反,出口压力因负载减小而上升时,与上述正好相反,将使出口压力回降到原先的数值 对于定值器来说,气源压力在±10%范围内变化时,定值器的出口压力的变化不超过最大出口压力的0.3%。当气源压力为额定值,出口压力为最大值的80%时,出口流量在0~600L范围内变化,所引起的出口压力下降不超过最大出口压力的1% 在气动检测、调节仪表及低压、微压装置中,定值器作为精确给定压力之用
1—过滤网;2—溢流阀;3,5—膜片;4—喷嘴;6—调压弹簧;7—旋钮;8—挡板;9,10,13, 17,20—弹簧;11—硬芯;12—活门;14—恒节流孔;15—膜片(上有排气孔); 16—排气孔;18—阀杆;19—进气阀 |
||






